TOP
|
特許
|
意匠
|
商標
特許ウォッチ
Twitter
他の特許を見る
公開番号
2025144756
公報種別
公開特許公報(A)
公開日
2025-10-03
出願番号
2024044596
出願日
2024-03-21
発明の名称
車体構造
出願人
株式会社アイシン
代理人
弁理士法人アイテック国際特許事務所
主分類
B62D
21/15 20060101AFI20250926BHJP(鉄道以外の路面車両)
要約
【課題】部品点数を削減しつつ、車体構造の組付精度を良好に確保する。
【解決手段】本開示の車体構造は、鋳造部品と、衝撃吸収部材とを含む車体構造において、鋳造部品は、継手として機能するように一体に形成された突起部と、突起部の根元の周囲に形成された位置決め面とを含み、衝撃吸収部材は、鋳造部品の突起部が嵌合される被嵌合部を含み、鋳造部品の突起部は、衝撃吸収部材の端面が位置決め面に突き当たるように被嵌合部に嵌合され、被嵌合部に嵌合された鋳造部品の突起部と衝撃吸収部材とが機械的に締結される。
【選択図】図2
特許請求の範囲
【請求項1】
鋳造部品と、衝撃吸収部材とを含む車体構造において、
前記鋳造部品は、継手として機能するように一体に形成された突起部を含み、
前記衝撃吸収部材は、前記鋳造部品の前記突起部が嵌合される被嵌合部を含み、
前記被嵌合部に嵌合された前記鋳造部品の前記突起部と前記衝撃吸収部材とが機械的に締結される車体構造。
続きを表示(約 410 文字)
【請求項2】
請求項1に記載の車体構造において、
前記鋳造部品は、前記突起部の根元の周囲に形成された位置決め面を含み、
前記突起部は、前記衝撃吸収部材の端面が前記位置決め面に突き当たるように前記被嵌合部に嵌合される車体構造。
【請求項3】
請求項1または2に記載の車体構造において、
前記鋳造部品は、少なくとも2つの前記突起部を含み、
前記衝撃吸収部材は、それぞれ前記鋳造部品の対応する前記突起部が嵌合される複数の前記被嵌合部と、前記複数の前記被嵌合部を仕切るプレート部とを含み、前記プレート部は、前記2つの前記突起部の間に配置される車体構造。
【請求項4】
請求項3に記載の車体構造において、
前記鋳造部品は、前記突起部の裏側から前記突起部の突出方向とは反対側に延びるリブと、前記衝撃吸収部材の前記プレート部に対向するリブとを含む車体構造。
発明の詳細な説明
【技術分野】
【0001】
本開示は、鋳造部品と衝撃吸収部材とを含む車体構造に関する。
続きを表示(約 1,900 文字)
【背景技術】
【0002】
従来、フロアパネルと、フロアパネルの車幅方向の側縁に沿って車長方向に延びるロッカと、フロアパネルの車長方向の前縁に沿ってロッカの前端から車幅方向の内側に向けて延びるトルクボックスと、トルクボックスから車長方向の前方に延びるフロントサイドメンバとを含む車体構造が知られている(例えば、特許文献1参照)。この車体構造において、トルクボックスは、車長方向において互いに対向する前壁と後壁とを有し、前壁と後壁との間に、車幅方向に延びる内部空間を形成する。そして、フロントサイドメンバの後端を含む基端部は、トルクボックスの内部空間に位置し、当該内部空間内でトルクボックスの内面に溶接により接合される。また、従来、キャビン前後向きの前後フレームと、キャビン横向きの横フレームと、キャビン上下向きの上下フレームと、アルミ鋳造により単一部品として作成された継手部材とを含む産業車両の運転キャビンフレーム構造が知られている(例えば、特許文献2参照)。この運転キャビンフレーム構造では、継手部材によって前後フレームと横フレームと上下フレームとが連結され、当該継手部材によってキャビンフレームの角部分が形成される。
【先行技術文献】
【特許文献】
【0003】
特開2023-182437号公報
特開平11-091638号公報
【発明の概要】
【発明が解決しようとする課題】
【0004】
しかしながら、特許文献1に記載された車体構造のように、構成部材同士を溶接により接合すれば、熱歪みの影響により車体構造の組付精度を良好に確保し得なくなる。また、特許文献2に記載されたフレーム構造のように、専用の継手部材を用いれば、部品点数の増加によりコストアップを招いてしまう。
【0005】
そこで、本開示は、部品点数を削減しつつ、車体構造の組付精度を良好に確保することを主目的とする。
【課題を解決するための手段】
【0006】
本開示の車体構造は、鋳造部品と、衝撃吸収部材とを含む車体構造において、前記鋳造部品が、継手として機能するように一体に形成された突起部を含み、前記衝撃吸収部材が、前記鋳造部品の前記突起部が嵌合される被嵌合部を含み、前記被嵌合部に嵌合された前記鋳造部品の前記突起部と前記衝撃吸収部材とが機械的に締結されるものである。
【0007】
本開示の車体構造では、鋳造部品に継手として機能する突起部が一体に形成されており、当該突起部が衝撃吸収部材の被嵌合部に嵌合される。そして、被嵌合部に嵌合された鋳造部品の突起部と衝撃吸収部材とが機械的に締結される。このように、鋳造部品に継手としての突起部を一体に形成することで、車体構造の部品点数を削減することができる。更に、被嵌合部に嵌合された鋳造部品の突起部と衝撃吸収部材とを機械的に締結することで、両者を溶接により接合した場合に生じる熱歪みを無くすことができる。この結果、部品点数を削減しつつ、車体構造の組付精度を良好に確保することが可能になる。
【図面の簡単な説明】
【0008】
本開示の車体構造を示す斜視図である。
本開示の車体構造を示す分解斜視図である。
本開示の車体構造の要部を示す斜視図である。
本開示の車体構造の要部を示す側面図である。
【発明を実施するための形態】
【0009】
次に、図面を参照しながら、本開示の発明を実施するための形態について説明する。
【0010】
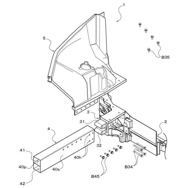
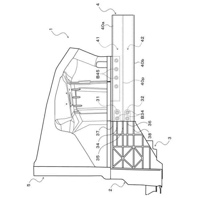
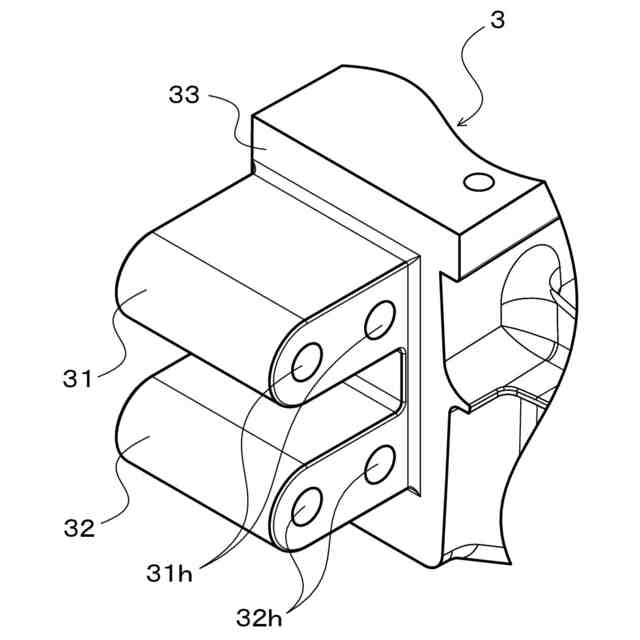
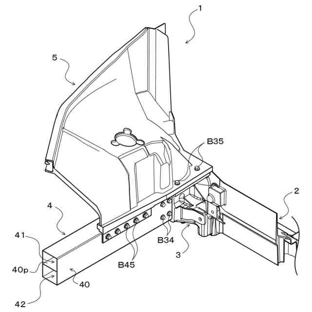
図1は、本開示の車体構造1を示す斜視図であり、図2は、車体構造1を示す分解斜視図である。これらの図面に示すように、車体構造1は、ダッシュクロスメンバー2、トルクボックス3、サイドメンバー4およびサスタワー5とを含み、図示しない車両のアンダーボディを構成するものである。ダッシュクロスメンバー2は、車両の前輪付近で車幅方向に延在する。トルクボックス3は、例えばアルミニウム合金の鋳造により形成され、ダッシュクロスメンバー2に複数のボルトを介して固定される。サイドメンバー4は、複数のボルトB34を介してトルクボックス3に連結され、衝撃吸収部材(いわゆる、EA材)として機能する。サスタワー5は、例えばアルミニウム合金の鋳造により形成され、トルクボックス3およびサイドメンバー4に複数のボルトB35,B45(図2参照)を介して固定される。なお、トルクボックス3およびサスタワー5は、鋳造により一体に形成されてもよい。
(【0011】以降は省略されています)
この特許をJ-PlatPat(特許庁公式サイト)で参照する
関連特許
株式会社アイシン
ロータ
24日前
株式会社アイシン
ロータ
22日前
株式会社アイシン
ロータ
18日前
株式会社アイシン
回転電機
25日前
株式会社アイシン
電子機器
23日前
株式会社アイシン
駆動装置
23日前
株式会社アイシン
保護装置
23日前
株式会社アイシン
ステータ
22日前
株式会社アイシン
制御装置
23日前
株式会社アイシン
ステータ
22日前
株式会社アイシン
制御装置
23日前
株式会社アイシン
歯車機構
18日前
株式会社アイシン
制御装置
23日前
株式会社アイシン
回転電機
25日前
株式会社アイシン
検知装置
23日前
株式会社アイシン
ステータ
22日前
株式会社アイシン
ステータ
22日前
株式会社アイシン
レーダ装置
23日前
株式会社アイシン
温度調節器
29日前
株式会社アイシン
電解システム
24日前
株式会社アイシン
運転支援装置
22日前
株式会社アイシン
運転支援装置
22日前
株式会社アイシン
超音波センサ
24日前
株式会社アイシン
運転支援装置
29日前
株式会社アイシン
案内システム
23日前
株式会社アイシン
衝撃吸収部材
23日前
株式会社アイシン
運転支援装置
23日前
株式会社アイシン
運転支援装置
23日前
株式会社アイシン
車両制御装置
23日前
株式会社アイシン
電解システム
23日前
株式会社アイシン
乗員検知装置
23日前
株式会社アイシン
出庫支援装置
23日前
株式会社アイシン
超音波センサ
24日前
株式会社アイシン
ドア支持装置
22日前
株式会社アイシン
駐車支援装置
29日前
株式会社アイシン
車両制御装置
29日前
続きを見る
他の特許を見る