TOP
|
特許
|
意匠
|
商標
特許ウォッチ
Twitter
他の特許を見る
10個以上の画像は省略されています。
公開番号
2025145830
公報種別
公開特許公報(A)
公開日
2025-10-03
出願番号
2024046283
出願日
2024-03-22
発明の名称
駐車支援装置
出願人
株式会社アイシン
代理人
弁理士法人ネクスト
主分類
B60W
30/06 20060101AFI20250926BHJP(車両一般)
要約
【課題】駐車支援の中止や支援開始後の駐車経路の変更が行われることをできる限り防止しつつ、正確な障害物に対する通過判定を行うことも可能にした駐車支援装置を提供する。
【解決手段】車両が駐車スペースへと進入する過程において、超音波センサ9A~9Lにより障害物を検出することが可能となるまでは、車両に設置された前方カメラ6、後方カメラ7及び側方カメラ8A,8Bにより車両周辺を撮像した撮像画像に基づいて駐車スペースの車幅方向を形成する障害物を検出し、超音波センサ9A~9Lにより障害物を検出することが可能となった後は、車両に設置された超音波センサ9A~9Lにより検出された測距値に基づいて駐車スペースの車幅方向を形成する障害物を検出するように構成する。
【選択図】図10
特許請求の範囲
【請求項1】
車両が駐車する為の駐車スペースを特定する駐車スペース特定手段と、
前記駐車スペース特定手段により特定された駐車スペースへ車両を駐車する為の駐車支援を行う駐車支援手段と、
車両に設置された撮像装置により車両周辺を撮像した撮像画像に基づいて前記駐車スペースの車幅方向を形成する障害物を検出する第1障害物検出手段と、
車両に設置された測距センサにより検出された測距値に基づいて前記駐車スペースの車幅方向を形成する障害物を検出する第2障害物検出手段と、を有し、
前記駐車支援手段は、
車両が前記駐車スペースへと進入する過程において、
前記測距センサにより前記障害物を検出することが可能となるまでは、前記第1障害物検出手段により前記障害物を検出し、
前記第1障害物検出手段の検出結果に基づいて車両が前記駐車スペースへ進入することが困難であると判定された場合であっても駐車支援を継続し、
前記測距センサにより前記障害物を検出することが可能となった後は、前記第2障害物検出手段により前記障害物を検出し、
前記第2障害物検出手段の検出結果に基づいて車両が前記駐車スペースへ進入することが困難であると判定された場合には駐車支援を中止する駐車支援装置。
続きを表示(約 630 文字)
【請求項2】
前記駐車支援手段は、
前記測距センサにより前記障害物を検出することが可能となるまでは、前記第1障害物検出手段による前記障害物の検出結果に基づいて前記駐車スペースに目標駐車位置が仮設定され、仮設定された前記目標駐車位置までの駐車軌道に従って駐車支援が実行され、
前記測距センサにより前記障害物を検出することが可能となった後は、前記第2障害物検出手段による前記障害物の検出結果に基づいて前記目標駐車位置を修正し、修正後の前記目標駐車位置までの駐車軌道に従って駐車支援が実行される請求項1に記載の駐車支援装置。
【請求項3】
前記駐車スペースはガレージ内の駐車スペースであって、
前記第1障害物検出手段及び前記第2障害物検出手段によって検出対象となる前記障害物は、前記ガレージの壁である請求項1又は請求項2に記載の駐車支援装置。
【請求項4】
前記測距センサは、車両の側面に設置され、車両の側方に対して探査波を送信する測距センサであって、
前記駐車支援手段は、
車両が前記駐車スペースへと進入する過程において、
前記測距センサが前記ガレージの入口に進入するまでは、前記第1障害物検出手段により前記ガレージの壁を検出し、
前記測距センサが前記ガレージの入口に進入した後は、前記第2障害物検出手段により前記ガレージの壁を検出する請求項3に記載の駐車支援装置。
発明の詳細な説明
【技術分野】
【0001】
本発明は、車両の駐車支援を行う駐車支援装置に関する。
続きを表示(約 2,500 文字)
【背景技術】
【0002】
従来より、車両が駐車を行う際において車両の周辺環境を撮像したカメラ画像を表示したり、周辺に位置する人や障害物に対する警告を行ったり、ユーザの運転操作の一部又は全てを車両側で実行することなどによって、駐車支援を行う駐車支援装置について提案されている。
【0003】
ここで、上記駐車支援として運転操作の一部又は全てを車両側で実行する場合には、車両の現在位置から車両を駐車する駐車スペースまでの駐車経路において車両が障害物と接触の虞なく通過可能であるかを判定し、通過できないと予測される場合には駐車支援を中止したり、駐車経路の変更を行うことが重要である。例えば特開2021-126950号公報には、駐車スペースへの駐車を自動で行う駐車支援装置において、カメラで撮像した撮像画像から駐車スペースの間口の広さを検出し、間口の広さが狭い場合には間口の通過時に直進で車両が通過するように駐車経路を設定する技術について提案されている。
【先行技術文献】
【特許文献】
【0004】
特開2021-126950号公報(段落0049)
【発明の概要】
【発明が解決しようとする課題】
【0005】
ここで、特に駐車スペースがガレージ内部などの障害物に囲まれた閉鎖空間内にある場合には、オープンスペースに駐車する場合と比較して車両が通過できる領域は限られており、上記通過判定には正確性が要求される。上記特許文献1では車両に設置されたカメラによって間口の広さを検出しているが、カメラによる検出は天候等の周辺環境の影響を受けやすく測距センサを用いた検出に比べると検出精度も低い。従って、十分な間口の広さがあるにもかかわらず間口を通過できないと判定されることも考えられる。
【0006】
一方で測距センサはカメラに比べて検出精度は高いものの、検出範囲がカメラに比べると狭く指向性が高いので、例えば測距センサによって間口の広さを検出する為には測距センサが間口を通過する位置まで車両を移動させる必要があった。しかしながら、そのような位置まで進めた後に駐車支援を中止したり駐車経路を大きく変更すると、駐車に係る操作を一からやり直さなければならず乗員に係る負担が大きくなる。
【0007】
本発明は前記従来における問題点を解消するためになされたものであり、駐車スペースの車幅方向を形成する障害物を検出する場合に、撮像装置を用いた検出結果と測距センサによる検出結果とを、車両が駐車スペースへと進入する過程において適宜使い分けることで、駐車支援の中止や支援開始後の駐車経路の変更が行われることをできる限り防止しつつ、正確な障害物に対する通過判定を行うことも可能にした駐車支援装置を提供することを目的とする。
【課題を解決するための手段】
【0008】
前記目的を達成するため本発明に係る駐車支援装置は、車両が駐車する為の駐車スペースを特定する駐車スペース特定手段と、前記駐車スペース特定手段により特定された駐車スペースへ車両を駐車する為の駐車支援を行う駐車支援手段と、車両に設置された撮像装置により車両周辺を撮像した撮像画像に基づいて前記駐車スペースの車幅方向を形成する障害物を検出する第1障害物検出手段と、車両に設置された測距センサにより検出された測距値に基づいて前記駐車スペースの車幅方向を形成する障害物を検出する第2障害物検出手段と、を有し、前記駐車支援手段は、車両が前記駐車スペースへと進入する過程において、前記測距センサにより前記障害物を検出することが可能となるまでは、前記第1障害物検出手段により前記障害物を検出し、前記第1障害物検出手段の検出結果に基づいて車両が前記駐車スペースへ進入することが困難であると判定された場合であっても駐車支援を継続し、前記測距センサにより前記障害物を検出することが可能となった後は、前記第2障害物検出手段により前記障害物を検出し、前記第2障害物検出手段の検出結果に基づいて車両が前記駐車スペースへ進入することが困難であると判定された場合には駐車支援を中止する。
【発明の効果】
【0009】
前記構成を有する本発明に係る駐車支援装置によれば、撮像装置と測距センサとを両方備え、駐車スペースの車幅方向を形成する障害物を検出する場合に、撮像装置を用いた検出結果と測距センサによる検出結果とを、車両が駐車スペースへと進入する過程において適宜使い分ける。それによって、駐車支援の中止や支援開始後の駐車経路の変更が行われることをできる限り防止しつつ、正確な障害物に対する通過判定を行うことが可能となる。特に、事前に第1障害物検出手段で駐車スペースやその周辺のおおよその状況を把握しつつ、駐車支援の継続有無に係る重要な判断は第2障害物検出手段により正確な情報が取得可能な段階で行うことが可能となる。
【図面の簡単な説明】
【0010】
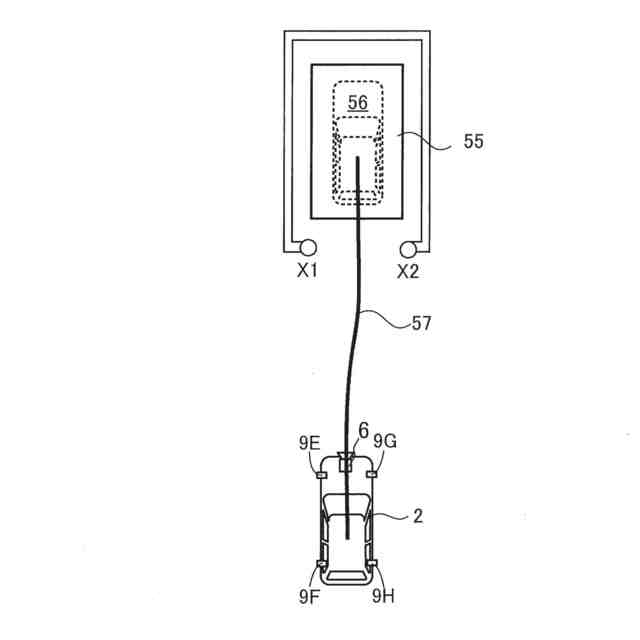
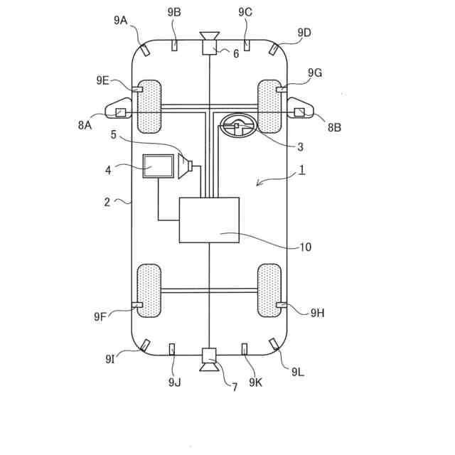
本実施形態に係る車両の概略構成図である。
車両の前面に対する超音波センサの配置例を示した図である。
車両の側面に対する超音波センサの配置例を示した図である。
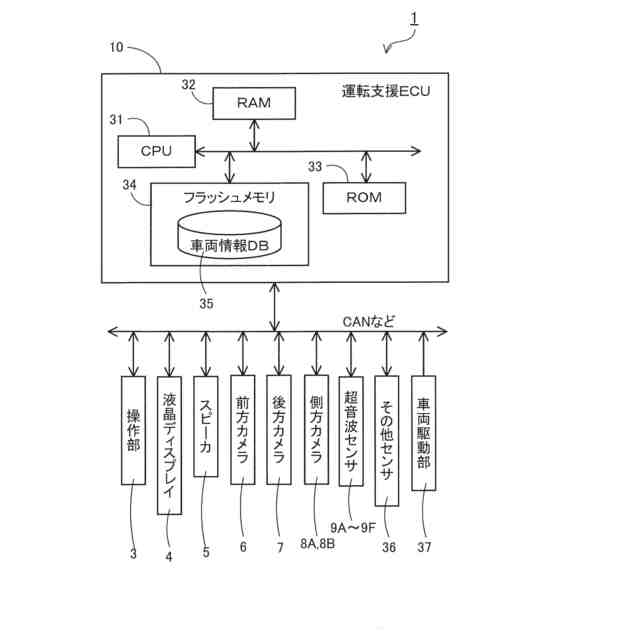
本実施形態に係る駐車支援装置の構成を示したブロック図である。
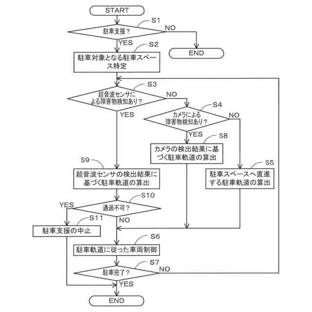
本実施形態に係る駐車支援処理プログラムのフローチャートである。
車両に設置された超音波センサにより障害物を検知可能な検知範囲を示した図である。
障害物が存在しない場合の駐車軌道の生成方法を説明した図である。
目標駐車位置の設定方法を説明した図である。
障害物が存在する場合の駐車軌道の生成方法を説明した図である。
超音波センサを用いた目標駐車位置の設定方法を説明した図である。
変形例について説明した図である。
【発明を実施するための形態】
(【0011】以降は省略されています)
この特許をJ-PlatPat(特許庁公式サイト)で参照する
関連特許
株式会社アイシン
車両
2日前
株式会社アイシン
車両
2日前
株式会社アイシン
熱交換器
2日前
株式会社アイシン
歯車機構
1か月前
株式会社アイシン
熱交換器
2日前
株式会社アイシン
ヒートシンク
15日前
株式会社アイシン
キックセンサ
15日前
株式会社アイシン
電力変換装置
15日前
株式会社アイシン
動力変換装置
2日前
株式会社アイシン
車両用駆動装置
17日前
株式会社アイシン
車両用ドア装置
15日前
株式会社アイシン
冷却モジュール
15日前
株式会社アイシン
車両用駆動装置
2日前
株式会社アイシン
回転角検出装置
2日前
株式会社アイシン
サンルーフ装置
1か月前
株式会社アイシン
ドアロック装置
1か月前
株式会社アイシン
車両用駆動装置
15日前
株式会社アイシン
燃料電池システム
1か月前
株式会社アイシン
燃料電池システム
1か月前
株式会社アイシン
燃料電池システム
1か月前
株式会社アイシン
車両用駆動伝達装置
17日前
株式会社アイシン
車両用駆動伝達装置
18日前
株式会社アイシン
車両用駆動伝達装置
2日前
株式会社アイシン
ペロブスカイト太陽電池
16日前
株式会社アイシン
車両用のドアロック装置
15日前
株式会社アイシン
静電容量センサシステム
16日前
株式会社アイシン
バルブ装置の学習装置及び学習方法
18日前
株式会社アイシン
バルブ制御装置及びバルブ制御方法
18日前
株式会社アイシン
ペロブスカイト太陽電池の製造方法
3日前
株式会社豊田中央研究所
非接触給電可能な回転電機
1か月前
株式会社アイシン
水性エマルジョン系制振塗料組成物及びその硬化塗膜
15日前
株式会社アイシン
ホール輸送材料およびホール輸送材料を用いた太陽電池
23日前
株式会社アイシン
ホール輸送材料およびホール輸送材料を用いた太陽電池
25日前
株式会社アイシン
ペロブスカイト太陽電池及びペロブスカイト太陽電池の製造方法
29日前
株式会社豊田中央研究所
体重推定装置、体重推定方法、及び体重推定プログラム
1か月前
ミクロエース株式会社
被覆銅材の剥離処理方法、処理装置、処理装置制御部およびプログラム
23日前
続きを見る
他の特許を見る