TOP
|
特許
|
意匠
|
商標
特許ウォッチ
Twitter
他の特許を見る
10個以上の画像は省略されています。
公開番号
2025144675
公報種別
公開特許公報(A)
公開日
2025-10-03
出願番号
2024044467
出願日
2024-03-21
発明の名称
回転電機
出願人
株式会社アイシン
代理人
個人
,
個人
,
個人
主分類
H02K
9/197 20060101AFI20250926BHJP(電力の発電,変換,配電)
要約
【課題】ステータに設けられる冷媒流路をロータ側に冷媒が漏れないように形成しつつ、冷媒流路のシール構造に起因した回転電機の大型化を少なくとも部分的に防止する。
【解決手段】複数のティース部を有するとともに、ステータ内周面が塞がれたステータコアと、スロット内に挿入される態様でステータコアに巻装され、ステータコアの軸方向端面に対して軸方向外側にコイルエンド部を形成するコイル線と、コイルエンド部を、軸方向外側、径方向内側、及び径方向外側から覆うカバー部材と、カバー部材とステータコアの軸方向端面との間に冷媒流路と、を備え、カバー部材は、スロット内のコイル線よりも径方向内側において、ステータコアの中心軸まわりでステータコアの軸方向端面に当接する第1の軸方向端部を有し、第1の軸方向端部は、ステータコアの軸方向端面との間において冷媒流路に対するシール部を形成する、回転電機が開示される。
【選択図】図1
特許請求の範囲
【請求項1】
複数のティース部を有するとともに、ステータ内周面が塞がれたステータコアと、
周方向で前記複数のティース部の間に形成されるスロット内に挿入される態様で前記ステータコアに巻装され、前記ステータコアの軸方向端面に対して軸方向外側にコイルエンド部を形成するコイル線と、
前記コイルエンド部を、軸方向外側、径方向内側、及び径方向外側から覆うカバー部材と、
前記カバー部材と前記ステータコアの軸方向端面との間に冷媒流路と、を備え、
前記カバー部材は、前記スロット内の前記コイル線よりも径方向内側において、前記ステータコアの中心軸まわりで前記ステータコアの軸方向端面に当接する第1の軸方向端部を有し、
前記第1の軸方向端部は、前記ステータコアの軸方向端面との間において前記冷媒流路に対するシール部を形成する、回転電機。
続きを表示(約 550 文字)
【請求項2】
前記シール部は、前記ステータコアの材料及び前記カバー部材の材料のいずれよりも軟質又は高い弾性の材料により形成される第1の部位を含む、請求項1に記載の回転電機。
【請求項3】
前記第1の軸方向端部は、前記ステータコアの軸方向端面に向けて押圧される、請求項1に記載の回転電機。
【請求項4】
前記カバー部材は、前記スロット内の前記コイル線よりも径方向外側において、前記ステータコアの中心軸まわりで前記ステータコアの軸方向端面に当接する第2の軸方向端部を有し、
前記第2の軸方向端部は、前記ステータコアに前記カバー部材を締結するための固定部を有し、
前記カバー部材が前記固定部を介して前記ステータコアに締結されることで、前記第2の軸方向端部が、前記ステータコアの軸方向端面との間において前記冷媒流路に対する第2のシール部を形成し、かつ、前記第1の軸方向端部が、前記ステータコアの軸方向端面に向けて押圧される、請求項3に記載の回転電機。
【請求項5】
前記第2のシール部は、前記ステータコアの材料及び前記カバー部材の材料のいずれよりも軟質又は高い弾性の材料により形成される第2の部位を含む、請求項4に記載の回転電機。
発明の詳細な説明
【技術分野】
【0001】
本開示は、回転電機に関する。
続きを表示(約 1,500 文字)
【背景技術】
【0002】
ステータに設けられる冷媒流路を、ロータ側に冷媒が漏れないような閉塞空間にする技術が知られている。
【先行技術文献】
【特許文献】
【0003】
特開2011-193572号公報
【発明の概要】
【発明が解決しようとする課題】
【0004】
しかしながら、上記のような従来技術では、ロータ側への冷媒の漏れを防止するためのシール構造を効率的に形成することが難しい。例えば、ステータよりも軸方向外側にシール部を形成すると、回転電機の軸方向の大型化を招くという問題がある。
【0005】
そこで、1つの側面では、本開示は、ステータに設けられる冷媒流路をロータ側に冷媒が漏れないように形成しつつ、冷媒流路のシール構造に起因した回転電機の大型化を少なくとも部分的に防止することを目的とする。
【課題を解決するための手段】
【0006】
1つの側面では、複数のティース部を有するとともに、ステータ内周面が塞がれたステータコアと、
周方向で前記複数のティース部の間に形成されるスロット内に挿入される態様で前記ステータコアに巻装され、前記ステータコアの軸方向端面に対して軸方向外側にコイルエンド部を形成するコイル線と、
前記コイルエンド部を、軸方向外側、径方向内側、及び径方向外側から覆うカバー部材と、
前記カバー部材と前記ステータコアの軸方向端面との間に冷媒流路と、を備え、
前記カバー部材は、前記スロット内の前記コイル線よりも径方向内側において、前記ステータコアの中心軸まわりで前記ステータコアの軸方向端面に当接する第1の軸方向端部を有し、
前記第1の軸方向端部は、前記ステータコアの軸方向端面との間において前記冷媒流路に対するシール部を形成する、回転電機が提供される。
【発明の効果】
【0007】
1つの側面では、本開示によれば、ステータに設けられる冷媒流路をロータ側に冷媒が漏れないように形成しつつ、冷媒流路のシール構造に起因した回転電機の大型化を少なくとも部分的に防止することが可能となる。
【図面の簡単な説明】
【0008】
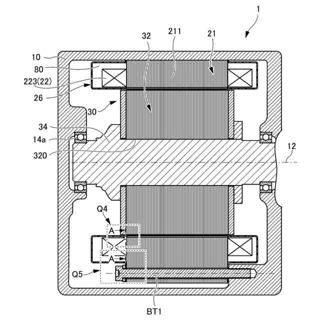
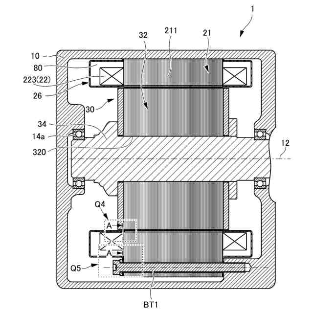
一実施例によるモータの断面構造を概略的に示す断面図である。
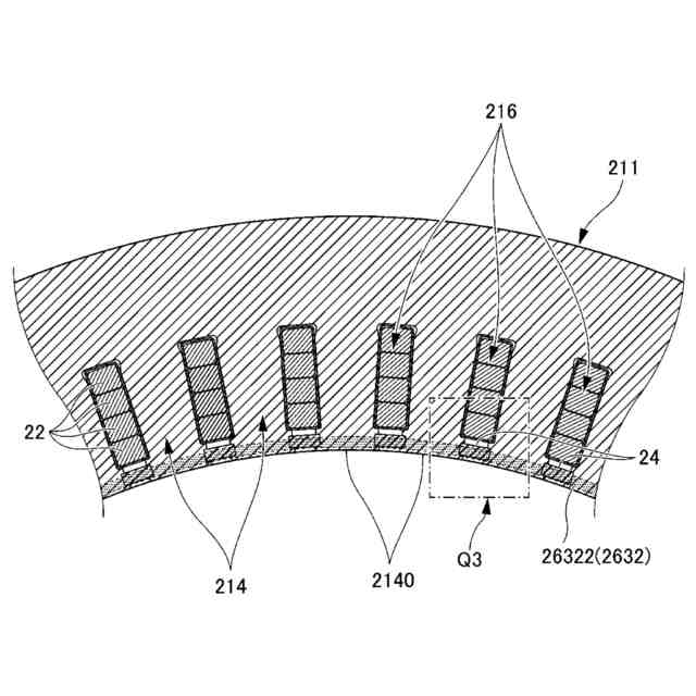
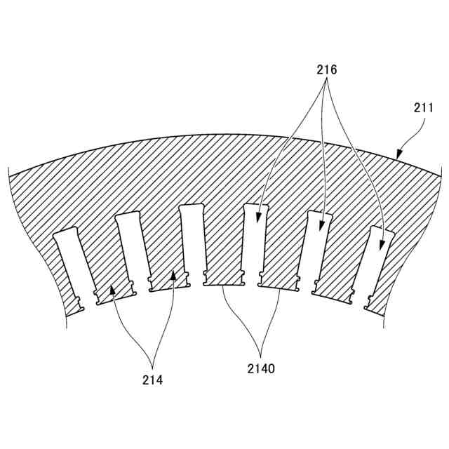
ステータコアの一部の断面図である。
図1のラインA-Aに沿ったステータの断面図である。
図3のQ3部の拡大図である。
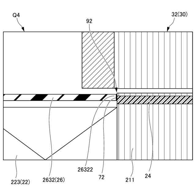
図1のQ4部の拡大図である。
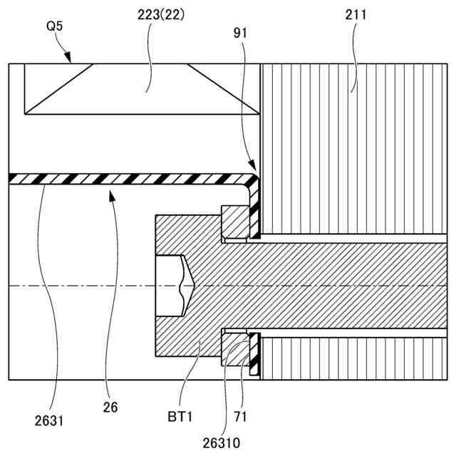
図1のQ5部の拡大図である。
軸方向外側から視たカバー部材の斜視図である。
軸方向内側から視たカバー部材の斜視図である。
回転軸を通る平面によるカバー部材の一部の断面図である。
【発明を実施するための形態】
【0009】
以下、添付図面を参照しながら各実施例について詳細に説明する。なお、図面の寸法比率はあくまでも一例であり、これに限定されるものではなく、また、図面内の形状等は、説明の都合上、部分的に誇張している場合がある。また、図面では、見易さのために、複数存在する同一属性の部位には、一部のみしか参照符号が付されていない場合がある。
【0010】
図1は、一実施例によるモータ1の断面構造を概略的に示す断面図である。図2は、ステータコア211の一部の断面図である。図3は、図1のラインA-Aに沿ったステータ21の断面図である。図3Aは、図3のQ3部の拡大図である。
(【0011】以降は省略されています)
この特許をJ-PlatPat(特許庁公式サイト)で参照する
関連特許
株式会社アイシン
空気袋
9日前
株式会社アイシン
回転電機
1日前
株式会社アイシン
車体構造
5日前
株式会社アイシン
駆動装置
7日前
株式会社アイシン
制御装置
5日前
株式会社アイシン
回転電機
1日前
株式会社アイシン
回転電機
5日前
株式会社アイシン
発電装置
1か月前
株式会社アイシン
自律移動体
1か月前
株式会社アイシン
電動ポンプ
1か月前
株式会社アイシン
温度調節器
19日前
株式会社アイシン
コンデンサ
1か月前
株式会社アイシン
温度調節器
9日前
株式会社アイシン
鋳ぐるみ品
9日前
株式会社アイシン
温度調節器
5日前
株式会社アイシン
温度調節器
19日前
株式会社アイシン
立体構造基板
9日前
株式会社アイシン
マニホールド
7日前
株式会社アイシン
駐車支援装置
12日前
株式会社アイシン
ポンプケース
12日前
株式会社アイシン
車両下部構造
28日前
株式会社アイシン
物体検出装置
19日前
株式会社アイシン
乗員検知装置
20日前
株式会社アイシン
開閉システム
6日前
株式会社アイシン
運転支援装置
29日前
株式会社アイシン
車両駆動装置
29日前
株式会社アイシン
排熱回収装置
29日前
株式会社アイシン
温度調節装置
1か月前
株式会社アイシン
冷却プレート
1か月前
株式会社アイシン
直流回転電機
1か月前
株式会社アイシン
電力変換装置
1か月前
株式会社アイシン
電力変換装置
1か月前
株式会社アイシン
動力伝達装置
1か月前
株式会社アイシン
物体検出装置
1か月前
株式会社アイシン
振動発生装置
7日前
株式会社アイシン
心拍検出装置
12日前
続きを見る
他の特許を見る