TOP
|
特許
|
意匠
|
商標
特許ウォッチ
Twitter
他の特許を見る
公開番号
2025140615
公報種別
公開特許公報(A)
公開日
2025-09-29
出願番号
2024040130
出願日
2024-03-14
発明の名称
立体構造基板
出願人
株式会社アイシン
代理人
弁理士法人R&C
主分類
H05K
1/02 20060101AFI20250919BHJP(他に分類されない電気技術)
要約
【課題】放熱効率の高い立体構造基板を提供する。
【解決手段】少なくとも1つの電子部品6が夫々実装された複数の基板部1と、複数の基板部1を弾性変形可能な状態で接続し、夫々の電子部品6を電気的に接続する回路パターン8を有する接続部2と、を備え、接続部2は、回路パターン8が外部に露出した状態で、複数の基板部1を立体的に接続している。
【選択図】図4
特許請求の範囲
【請求項1】
少なくとも1つの電子部品が夫々実装された複数の基板部と、
複数の前記基板部を弾性変形可能な状態で接続し、夫々の前記電子部品を電気的に接続する回路パターンを有する接続部と、を備え、
前記接続部は、前記回路パターンが外部に露出する部位を備え、複数の前記基板部を立体的に接続する立体構造基板。
続きを表示(約 340 文字)
【請求項2】
前記接続部の前記回路パターンは、夫々の前記電子部品を電気的に接続するために必要な基準幅よりも大きいパターン幅を有している請求項1に記載の立体構造基板。
【請求項3】
前記接続部の前記回路パターンは、相対的に発熱量が大きい前記電子部品に接続されるパターン幅が、他の前記電子部品に接続されるパターン幅よりも大きい請求項2に記載の立体構造基板。
【請求項4】
前記基板部は、少なくとも3つの前記電子部品が実装された第1基板部を有しており、
前記第1基板部は、相対的に発熱量が大きい前記電子部品と、相対的に耐熱性の低い前記電子部品との間に、他の前記電子部品が配置されている請求項1~3の何れか一項に記載の立体構造基板。
発明の詳細な説明
【技術分野】
【0001】
本発明は、複数の電子部品が立体的に実装された立体構造基板に関する。
続きを表示(約 1,400 文字)
【背景技術】
【0002】
近年、走行駆動源としてモータを備えた自動車(ハイブリッド車(HEV:Hybrid Electric Vehicle)、プラグインハイブリッド車(PHEV:Plug-in Hybrid Electric Vehicle)、バッテリ車(BEV:Battery Electric Vehicle)、燃料電池車(FCEV:Fuel Cell Electric Vehicle)等)が普及している。以下、これらの自動車を電動車と総称する。電動車では、モータ(エンジン等の内燃機関を含む)、バッテリ、エアコン、ECU等、冷却が必要なデバイスが多いので、回路基板の搭載スペースの低減を図るために、複数の電子部品が立体的に実装された立体構造基板の開発が進められている。この立体構造基板は、搭載スペースの低減を図ることができる一方、複数の電子部品が対向しているため放熱効率を高める必要がある。
【0003】
特許文献1の回路基板は、回路パターンを形成する銅箔の上にレジスト膜を設け、このレジスト膜以外の部分に半田を塗布している。レジスト膜以外の部分に半田を塗布することにより、電子部品から発生する熱を、半田表面から放熱している。
【先行技術文献】
【特許文献】
【0004】
特開2003-6971号公報
【発明の概要】
【発明が解決しようとする課題】
【0005】
特許文献1に記載の回路基板のように、電子部品から発生した熱を半田表面から放熱する場合、半田の熱伝導率が熱抵抗となるため、放熱効率が悪いといった課題がある。特に、特許文献1に記載の技術を立体構造基板に適用した場合、放熱性の観点から不十分であり、放熱効率を更に高める必要がある。
【0006】
そこで、放熱効率の高い立体構造基板が望まれている。
【課題を解決するための手段】
【0007】
本発明に係る立体構造基板の特徴構成は、少なくとも1つの電子部品が夫々実装された複数の基板部と、複数の前記基板部を弾性変形可能な状態で接続し、夫々の前記電子部品を電気的に接続する回路パターンを有する接続部と、を備え、前記接続部は、前記回路パターンが外部に露出する部位を備え、複数の前記基板部を立体的に接続する点にある。
【0008】
本構成では、夫々の電子部品を電気的に接続する回路パターンのうち、接続部の回路パターンを外部に露出させている。このため、半田に比べて熱抵抗の低い回路パターンによって、電子部品から発生した熱の放熱効率を高めることができる。
【0009】
特に、本構成のように弾性変形可能な接続部に設けられた回路パターンは、半田短絡防止に用いられるレジスト膜が無くても問題にならず、この回路パターンを外部に露出させることで、放射冷却機能の役割を果たすことができる。このように、放熱効率の高い立体構造基板となっている。
【図面の簡単な説明】
【0010】
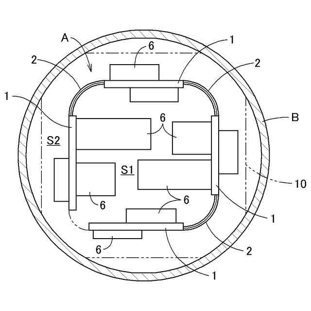
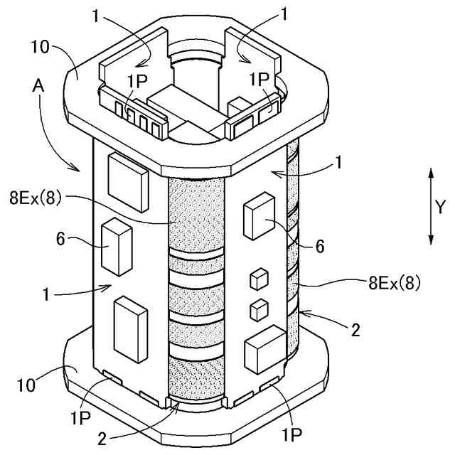
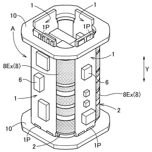
立体構造基板の全体を示す斜視図である。
立体構造基板の電子部品、露出接続パターン等を模式的に示す図である。
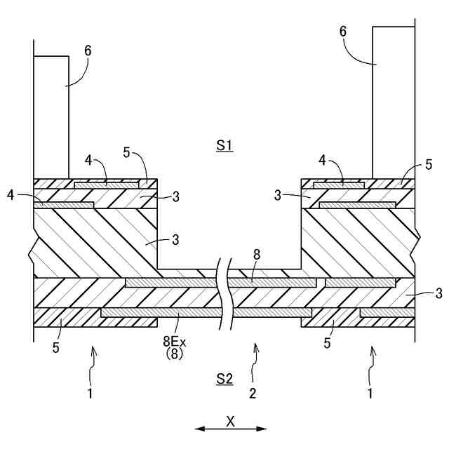
立体構造基板の拡大断面図である。
筒状の立体構造基板とアクセス基板とを示す斜視図である。
筒状の立体構造基板の横断平面図である。
【発明を実施するための形態】
(【0011】以降は省略されています)
この特許をJ-PlatPat(特許庁公式サイト)で参照する
関連特許
株式会社アイシン
ロータ
19日前
株式会社アイシン
ロータ
13日前
株式会社アイシン
ロータ
17日前
株式会社アイシン
制御装置
18日前
株式会社アイシン
保護装置
18日前
株式会社アイシン
ステータ
17日前
株式会社アイシン
ステータ
17日前
株式会社アイシン
ステータ
17日前
株式会社アイシン
回転電機
20日前
株式会社アイシン
制御装置
18日前
株式会社アイシン
制御装置
18日前
株式会社アイシン
駆動装置
18日前
株式会社アイシン
検知装置
18日前
株式会社アイシン
ステータ
17日前
株式会社アイシン
回転電機
20日前
株式会社アイシン
電子機器
18日前
株式会社アイシン
歯車機構
13日前
株式会社アイシン
レーダ装置
18日前
株式会社アイシン
衝撃吸収部材
18日前
株式会社アイシン
案内システム
18日前
株式会社アイシン
電解システム
19日前
株式会社アイシン
車両制御装置
18日前
株式会社アイシン
超音波センサ
19日前
株式会社アイシン
乗員検知装置
18日前
株式会社アイシン
運転支援装置
18日前
株式会社アイシン
出庫支援装置
18日前
株式会社アイシン
センサ固定具
19日前
株式会社アイシン
電解システム
18日前
株式会社アイシン
運転支援装置
17日前
株式会社アイシン
運転支援装置
18日前
株式会社アイシン
超音波センサ
19日前
株式会社アイシン
運転支援装置
17日前
株式会社アイシン
折り畳み装置
17日前
株式会社アイシン
駐車支援装置
20日前
株式会社アイシン
折り畳み装置
17日前
株式会社アイシン
走行制御装置
17日前
続きを見る
他の特許を見る