TOP
|
特許
|
意匠
|
商標
特許ウォッチ
Twitter
他の特許を見る
公開番号
2025142727
公報種別
公開特許公報(A)
公開日
2025-10-01
出願番号
2024042243
出願日
2024-03-18
発明の名称
駆動装置
出願人
株式会社アイシン
代理人
弁理士法人R&C
主分類
H02K
9/19 20060101AFI20250924BHJP(電力の発電,変換,配電)
要約
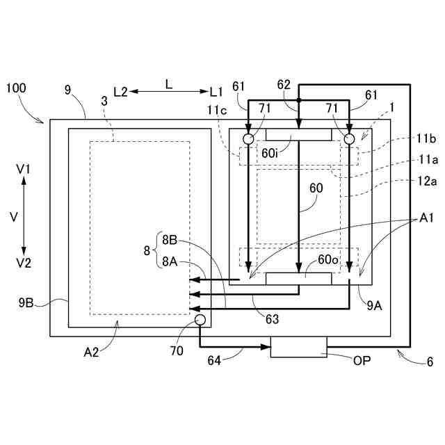
【課題】ステータコア及びステータコイルの双方を適切に冷却しつつ、ロータによって油が攪拌されることによるエネルギ損失を少なく抑えることが可能な技術を実現する。
【解決手段】駆動装置100は、回転電機1と、ケース9と、吸入口70から油を吸入して吐出するオイルポンプOPと、油流路6と、を備える。ケース9は、回転電機1が収容された第1室9Aと、吸入口70が配置された第2室9Bと、を備える。油流路6は、第1室9Aで開口し、ステータコイルに冷却用の油を供給する供給口71と、オイルポンプOPと供給口71とを接続する第1油路61と、ステータコア11aの内部及びステータコア11aの表面に沿う位置の少なくとも一方に配置され、ステータコア11aの冷却用の油が流れるコア冷却路60と、オイルポンプOPとコア冷却路60とを接続する第2油路62と、コア冷却路60と第2室9Bとを接続する第3油路63と、を備える。
【選択図】図2
特許請求の範囲
【請求項1】
ステータ及びロータを備えた回転電機と、前記回転電機を収容するケースと、前記ケース内に設けられた吸入口から油を吸入して吐出するオイルポンプと、前記オイルポンプから吐出された油が流れる油流路と、を備えた駆動装置であって、
前記ステータは、ステータコアと、前記ステータコアに巻回されたステータコイルと、を備え、
前記ケースは、前記回転電機が収容された第1室と、前記第1室とは別室であって前記吸入口が配置された第2室と、を備え、
前記油流路は、
前記第1室で開口し、前記ステータコイルに冷却用の油を供給する供給口と、
前記オイルポンプと前記供給口とを接続する第1油路と、
前記ステータコアの内部及び前記ステータコアの表面に沿う位置の少なくとも一方に配置され、前記ステータコアの冷却用の油が流れるコア冷却路と、
前記オイルポンプと前記コア冷却路とを接続する第2油路と、
前記コア冷却路と前記第2室とを接続する第3油路と、を備える、駆動装置。
続きを表示(約 560 文字)
【請求項2】
前記第1室の下部に形成された第1貯留部と、前記第1貯留部と前記第2室とを連通させる連通部と、を備え、
前記供給口から前記ステータコイルに供給された油は、前記ステータコイルの冷却後、前記第1貯留部に溜まり、前記第1貯留部に溜まった油の少なくとも一部が前記連通部を介して前記第2室へ流れる、請求項1に記載の駆動装置。
【請求項3】
前記ロータの回転軸心に沿う方向を軸方向とし、前記回転軸心を周回する方向を周方向として、
前記コア冷却路は、前記ステータコアの筒状の外周面に沿って、前記軸方向の複数の位置において前記周方向に油を流すように構成されている、請求項1又は2に記載の駆動装置。
【請求項4】
車輪に駆動連結される出力部材と、前記ロータと前記出力部材との間で動力伝達を行うギヤ機構と、を更に備え、
前記ロータの回転軸心に沿う方向を軸方向として、
前記回転電機と前記ギヤ機構とは、前記軸方向に並ぶように配置され、
前記ギヤ機構は、前記第2室に収容され、
前記第2室の下部に、油が溜まる第2貯留部が形成され、
前記吸入口は、前記第2貯留部の油を吸入するように設けられている、請求項1又は2に記載の駆動装置。
発明の詳細な説明
【技術分野】
【0001】
本発明は、回転電機と、回転電機を収容するケースと、オイルポンプと、オイルポンプから吐出された油が流れる油流路と、を備えた駆動装置に関する。
続きを表示(約 2,000 文字)
【背景技術】
【0002】
上記のような駆動装置の一例が、特開2022-123545号公報(特許文献1)に開示されている。以下、背景技術の説明において括弧内に示す符号は特許文献1のものである。特許文献1の駆動装置は、回転電機としてのモータ(1)と、ケースとしてのハウジング(4)と、不図示のオイルポンプと、油流路としての第1油路(11)及び第2油路(12)と、を備えている。第1油路(11)は、オイルポンプから供給された油をコイル(6)のコイル端(6a)に散布するための油路である。第2油路(12)は、ステータ(3)のコアであるステータコアの外周に油を流す油路であり、第1油路(11)から分岐するように設けられている。第1油路(11)からコイル端(6a)に散布された油によりコイル端(6a)が冷却され、第2油路(12)を流れる油によりステータコアが冷却される。そして、コイル端(6a)を冷却した後の油とステータコアを冷却した油との双方が、ハウジング(4)の底面近傍のオイルパン領域に貯留される。
【先行技術文献】
【特許文献】
【0003】
特開2022-123545号公報
【発明の概要】
【発明が解決しようとする課題】
【0004】
上記のように、特許文献1の駆動装置では、ステータコアを冷却した後の油と、ステータコイルに巻回されたステータコイルを冷却した後の油との双方が、回転電機を収容するケースの下部に形成された貯留部(特許文献1では、オイルパン領域)に貯留される。そのため、貯留部における油面が高くなりやすく、ロータによって油が攪拌されることによるエネルギ損失が大きくなるおそれがある。
【0005】
そこで、ステータコア及びステータコイルの双方を適切に冷却しつつ、ロータによって油が攪拌されることによるエネルギ損失を少なく抑えることが可能な技術の実現が望まれる。
【課題を解決するための手段】
【0006】
本開示に係る駆動装置は、ステータ及びロータを備えた回転電機と、前記回転電機を収容するケースと、前記ケース内に設けられた吸入口から油を吸入して吐出するオイルポンプと、前記オイルポンプから吐出された油が流れる油流路と、を備えた駆動装置であって、前記ステータは、ステータコアと、前記ステータコアに巻回されたステータコイルと、を備え、前記ケースは、前記回転電機が収容された第1室と、前記第1室とは別室であって前記吸入口が配置された第2室と、を備え、前記油流路は、前記第1室で開口し、前記ステータコイルに冷却用の油を供給する供給口と、前記オイルポンプと前記供給口とを接続する第1油路と、前記ステータコアの内部及び前記ステータコアの表面に沿う位置の少なくとも一方に配置され、前記ステータコアの冷却用の油が流れるコア冷却路と、前記オイルポンプと前記コア冷却路とを接続する第2油路と、前記コア冷却路と前記第2室とを接続する第3油路と、を備える。
【0007】
本構成によれば、コア冷却路を流れる油によってステータコアを適切に冷却しつつ、供給口から供給される油によってステータコイルを適切に冷却することができる。そして、本構成によれば、ステータコアを冷却した後の油は、回転電機が収容される第1室ではなく、第1室とは別室である第2室に排出される。そのため、ステータコアを冷却した後の油が第1室に排出される場合に比べて、第1室に溜まる油の量を少なく抑えることができ、ロータによって油が攪拌されることによるエネルギ損失を少なく抑えやすい。以上のように、本構成によれば、ステータコア及びステータコイルの双方を適切に冷却しつつ、ロータによって油が攪拌されることによるエネルギ損失を少なく抑えることが可能となっている。
【0008】
駆動装置の更なる特徴と利点は、図面を参照して説明する実施形態についての以下の記載から明確となる。
【図面の簡単な説明】
【0009】
実施形態に係る駆動装置のスケルトン図
実施形態に係る駆動装置の概略図
実施形態に係る駆動装置の内部を示す斜視図
実施形態に係るケースの斜視図
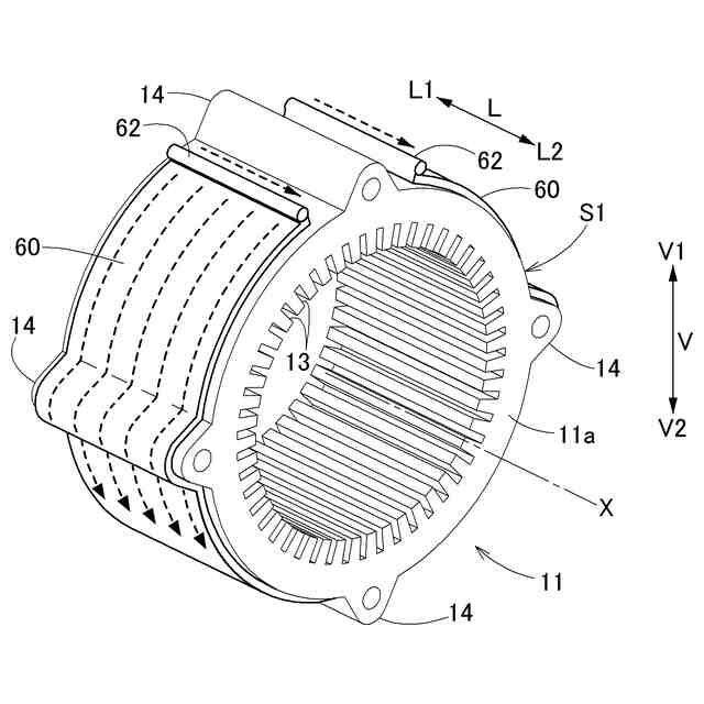
実施形態に係るコア冷却路を示す図
実施形態に係るコア冷却路の第1例を示す図
実施形態に係るコア冷却路の第2例を示す図
【発明を実施するための形態】
【0010】
駆動装置の実施形態について、図面を参照して説明する。本実施形態では、駆動装置として、車両(車輪)を駆動対象とする車両用駆動装置を例示するが、当然ながら、駆動装置による駆動対象は車両(車輪)に限定されない。
(【0011】以降は省略されています)
この特許をJ-PlatPat(特許庁公式サイト)で参照する
関連特許
株式会社アイシン
ロータ
23日前
株式会社アイシン
ロータ
19日前
株式会社アイシン
ステータ
23日前
株式会社アイシン
駆動装置
24日前
株式会社アイシン
制御装置
24日前
株式会社アイシン
制御装置
24日前
株式会社アイシン
制御装置
24日前
株式会社アイシン
ステータ
23日前
株式会社アイシン
ステータ
23日前
株式会社アイシン
歯車機構
19日前
株式会社アイシン
ステータ
23日前
株式会社アイシン
レーダ装置
24日前
株式会社アイシン
牽引支援装置
23日前
株式会社アイシン
折り畳み装置
23日前
株式会社アイシン
ドア支持装置
23日前
株式会社アイシン
運転支援装置
23日前
株式会社アイシン
車両制御装置
23日前
株式会社アイシン
折り畳み装置
23日前
株式会社アイシン
運転支援装置
23日前
株式会社アイシン
牽引支援装置
23日前
株式会社アイシン
運転支援装置
23日前
株式会社アイシン
環境認識装置
23日前
株式会社アイシン
出庫支援装置
24日前
株式会社アイシン
折り畳み装置
23日前
株式会社アイシン
ガス検出装置
23日前
株式会社アイシン
走行制御装置
23日前
株式会社アイシン
折り畳み装置
23日前
株式会社アイシン
サンルーフ装置
19日前
株式会社アイシン
車両用制御装置
24日前
株式会社アイシン
車両用ドア装置
23日前
株式会社アイシン
ドアロック装置
17日前
株式会社アイシン
車両用ドア装置
23日前
株式会社アイシン
車両用制御装置
24日前
株式会社アイシン
車両用駆動装置
24日前
株式会社アイシン
車両用駆動装置
23日前
株式会社アイシン
車両用制御装置
24日前
続きを見る
他の特許を見る