TOP
|
特許
|
意匠
|
商標
特許ウォッチ
Twitter
他の特許を見る
公開番号
2025118367
公報種別
公開特許公報(A)
公開日
2025-08-13
出願番号
2024013647
出願日
2024-01-31
発明の名称
発電装置
出願人
株式会社アイシン
代理人
弁理士法人R&C
主分類
F03D
7/06 20060101AFI20250805BHJP(液体用機械または機関;風力原動機,ばね原動機,重力原動機;他類に属さない機械動力または反動推進力を発生するもの)
要約
【課題】回転体を回転自在に支持する支持軸が水平方向に沿って配置された構成において、小型化を図ることが可能な発電装置を提供する。
【解決手段】発電装置100は、水平方向に沿う第1軸心X1上に配置された支持軸11を備えた支持機構1と、支持軸11に回転自在に支持され、流体の圧力を受けて回転する回転体2と、回転体2の回転が伝達されることにより発電を行う発電ユニットと、を備え、支持機構1は、支持軸11の第1軸部111を支持すると共に、回転体2の回転軌跡の下端よりも下側まで延在する第1支持部材12と、支持軸11の第2軸部112を支持すると共に、回転体2の回転軌跡の下端よりも下側まで延在する第2支持部材13と、を備え、発電ユニットは、第1支持部材12における回転体2に対向するように軸方向第2側L2を向く対向面12aよりも軸方向第1側L1に配置されるように、第1支持部材12に支持されている。
【選択図】図3
特許請求の範囲
【請求項1】
流体のエネルギを用いて発電を行う発電装置であって、
水平方向に沿う第1軸心上に配置された支持軸を備えた支持機構と、
前記第1軸心に沿う方向を軸方向とし、前記軸方向の一方側を軸方向第1側とし、前記軸方向の他方側を軸方向第2側とし、前記第1軸心に直交する方向を径方向として、
前記支持軸に対して前記径方向の外側に配置されていると共に、前記第1軸心回りに前記支持軸に対して回転自在となるように前記支持軸に支持され、流体の圧力を受けて回転する回転体と、
前記回転体の回転が伝達されることにより発電を行う発電ユニットと、を備え、
前記支持機構は、前記支持軸における前記回転体に対して前記軸方向第1側の部分である第1軸部を支持すると共に、前記回転体に対して前記軸方向第1側において前記回転体の回転軌跡の下端よりも下側まで延在するように配置された第1支持部材と、前記支持軸における前記回転体に対して前記軸方向第2側の部分である第2軸部を支持すると共に、前記回転体に対して前記軸方向第2側において前記回転軌跡の下端よりも下側まで延在するように配置された第2支持部材と、を備え、
前記発電ユニットは、前記第1支持部材における前記回転体に対向するように前記軸方向第2側を向く対向面よりも前記軸方向第1側に配置されるように、前記第1支持部材に支持されている、発電装置。
続きを表示(約 890 文字)
【請求項2】
前記発電ユニットは、ロータを備えた発電機と、前記回転体の回転を増速して前記ロータに伝達する増速機と、前記第1支持部材に固定され、前記増速機を収容すると共に前記発電機を支持するユニットケースと、を備え、
前記回転体と前記増速機とは、連結部材により連結され、
前記連結部材は、前記回転体と一体的に回転するように前記回転体に固定されていると共に、前記支持軸に対して前記径方向の外側に配置され、
前記ユニットケースは、前記連結部材を前記第1軸心回りに回転自在に支持する連結部材支持部と、前記支持軸の前記第1軸部が固定される軸固定部と、を備え、
前記第1支持部材は、前記ユニットケースを介して前記支持軸の前記第1軸部を支持しており、
前記軸固定部は、前記連結部材支持部よりも前記軸方向第1側に配置されている、請求項1に記載の発電装置。
【請求項3】
前記支持機構は、前記回転体の前記回転軌跡の下端よりも下側に配置されて前記第1支持部材及び前記第2支持部材を支持する支持体と、前記支持体を上下方向に沿う第2軸心回りに回転自在とする回転機構と、を更に備え、
前記第2軸心は、前記軸方向における前記第1支持部材と前記第2支持部材との中間位置に配置され、
前記第1支持部材及び前記第2支持部材の少なくとも一方に、前記径方向に沿って配置される整流板が固定されている、請求項1又は2に記載の発電装置。
【請求項4】
前記回転体は、
前記第1軸心回りに前記支持軸に対して回転自在となるように前記支持軸に支持された回転支持部材と、
それぞれが前記第1軸心に平行な第3軸心回りに前記回転支持部材に対して回転自在となるように前記回転支持部材に支持され、流体の圧力により回転する複数の羽根体と、
前記回転支持部材の前記第1軸心回りの回転と、複数の前記羽根体のそれぞれの前記回転支持部材に対する前記第3軸心回りの回転とを連動させる連動機構と、を備える、請求項1又は2に記載の発電装置。
発明の詳細な説明
【技術分野】
【0001】
本発明は、流体のエネルギを用いて発電を行う発電装置に関する。
続きを表示(約 1,800 文字)
【背景技術】
【0002】
このような発電装置の一例が、下記の特許文献1に開示されている。以下、背景技術の説明では、特許文献1における符号を括弧内に引用する。
【0003】
特許文献1の発電装置は、支持軸(3,3a)を備えた支持機構と、支持軸(3,3a)に支持され、風の圧力を受けて回転する回転体(4)と、回転体(4)の回転が伝達されることにより発電を行う発電ユニット(61)と、を備えている。
【先行技術文献】
【特許文献】
【0004】
特開2010-77946号公報
【発明の概要】
【発明が解決しようとする課題】
【0005】
特許文献1には、支持軸(3a)が水平方向に沿って配置された発電装置が開示されている(特許文献1の図4参照)。このような構成では、回転体(4)における風の圧力差が鉛直方向に生じるため、支持軸(3)が鉛直方向に沿って配置された構成(特許文献1の図1等参照)に比べて、回転体(4)を安定的に支持し易い。
【0006】
しかしながら、上記の構成では、支持軸(3a)が水平方向に沿って配置されているため、当該支持軸(3a)を鉛直方向に支持するための構造が大型化し易い点で不利であった。
【0007】
そこで、回転体を回転自在に支持する支持軸が水平方向に沿って配置された構成において、小型化を図ることが可能な発電装置の実現が望まれる。
【課題を解決するための手段】
【0008】
上記に鑑みた、発電装置の特徴構成は、
流体のエネルギを用いて発電を行う発電装置であって、
水平方向に沿う第1軸心上に配置された支持軸を備えた支持機構と、
前記第1軸心に沿う方向を軸方向とし、前記軸方向の一方側を軸方向第1側とし、前記軸方向の他方側を軸方向第2側とし、前記第1軸心に直交する方向を径方向として、
前記支持軸に対して前記径方向の外側に配置されていると共に、前記第1軸心回りに前記支持軸に対して回転自在となるように前記支持軸に支持され、流体の圧力を受けて回転する回転体と、
前記回転体の回転が伝達されることにより発電を行う発電ユニットと、を備え、
前記支持機構は、前記支持軸における前記回転体に対して前記軸方向第1側の部分である第1軸部を支持すると共に、前記回転体に対して前記軸方向第1側において前記回転体の回転軌跡の下端よりも下側まで延在するように配置された第1支持部材と、前記支持軸における前記回転体に対して前記軸方向第2側の部分である第2軸部を支持すると共に、前記回転体に対して前記軸方向第2側において前記回転軌跡の下端よりも下側まで延在するように配置された第2支持部材と、を備え、
前記発電ユニットは、前記第1支持部材における前記回転体に対向するように前記軸方向第2側を向く対向面よりも前記軸方向第1側に配置されるように、前記第1支持部材に支持されている点にある。
【0009】
この特徴構成によれば、回転体を挟んで軸方向の両側に分かれて配置された第1支持部材と第2支持部材との軸方向の間ではなく、第1支持部材における回転体に対向するように軸方向第2側を向く対向面よりも軸方向第1側に発電ユニットが配置されている。これにより、第1支持部材と第2支持部材との軸方向の間隔を小さく抑え易い。その結果、第1支持部材及び第2支持部材による支持軸の支持剛性を確保し易くなるため、支持機構の小型化を図ることができる。したがって、回転体を回転自在に支持する支持軸が水平方向に沿って配置された構成において、発電装置の小型化を図ることができる。
【図面の簡単な説明】
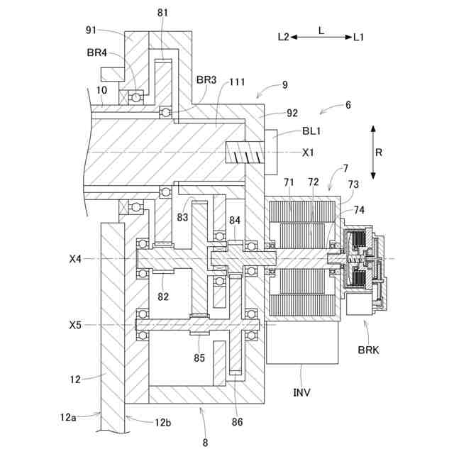
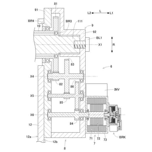
【0010】
第1の実施形態に係る発電装置の回転体を示す断面図
羽根体の公転位相及び自転位相の一例を示す図
第1の実施形態に係る発電装置の支持機構を示す断面図
第1の実施形態に係る発電装置を軸方向から見た図
第1の実施形態に係る発電装置の発電ユニットを示す断面図
第2の実施形態に係る発電装置の発電ユニットを示す断面図
第3の実施形態に係る発電装置の支持機構を示す断面図
第4の実施形態に係る発電装置の支持機構を示す断面図
【発明を実施するための形態】
(【0011】以降は省略されています)
この特許をJ-PlatPat(特許庁公式サイト)で参照する
関連特許
株式会社アイシン
ロータ
27日前
株式会社アイシン
ロータ
23日前
株式会社アイシン
制御装置
28日前
株式会社アイシン
ステータ
27日前
株式会社アイシン
検知装置
28日前
株式会社アイシン
ステータ
27日前
株式会社アイシン
ステータ
27日前
株式会社アイシン
駆動装置
28日前
株式会社アイシン
ステータ
27日前
株式会社アイシン
制御装置
28日前
株式会社アイシン
制御装置
28日前
株式会社アイシン
歯車機構
23日前
株式会社アイシン
レーダ装置
28日前
株式会社アイシン
環境認識装置
27日前
株式会社アイシン
運転支援装置
27日前
株式会社アイシン
折り畳み装置
27日前
株式会社アイシン
折り畳み装置
27日前
株式会社アイシン
牽引支援装置
27日前
株式会社アイシン
牽引支援装置
27日前
株式会社アイシン
ガス検出装置
27日前
株式会社アイシン
車両制御装置
27日前
株式会社アイシン
ドア支持装置
27日前
株式会社アイシン
折り畳み装置
27日前
株式会社アイシン
乗員検知装置
28日前
株式会社アイシン
運転支援装置
27日前
株式会社アイシン
折り畳み装置
27日前
株式会社アイシン
運転支援装置
27日前
株式会社アイシン
電解システム
28日前
株式会社アイシン
出庫支援装置
28日前
株式会社アイシン
走行制御装置
27日前
株式会社アイシン
車両用制御装置
28日前
株式会社アイシン
車両用駆動装置
27日前
株式会社アイシン
車両用駆動装置
1日前
株式会社アイシン
車両用ドア装置
27日前
株式会社アイシン
車両用制御装置
28日前
株式会社アイシン
車両用制御装置
28日前
続きを見る
他の特許を見る