TOP
|
特許
|
意匠
|
商標
特許ウォッチ
Twitter
他の特許を見る
公開番号
2025135149
公報種別
公開特許公報(A)
公開日
2025-09-18
出願番号
2024032797
出願日
2024-03-05
発明の名称
測量機
出願人
戸田建設株式会社
代理人
あいわ弁理士法人
主分類
G01C
15/00 20060101AFI20250910BHJP(測定;試験)
要約
【課題】GNSSが使用できない環境であっても、安価に、且つ、簡単に測定対象物の三次元点群データを取得することができる測量機及びこの測量機を用いた測量方法を提供すること。
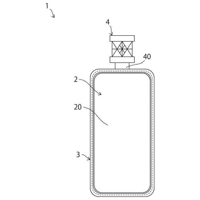
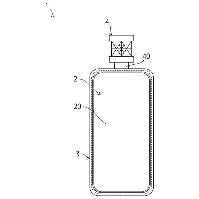
【解決手段】測量機1は、三次元レーザースキャナー機能を有する携帯端末2と、プリズムターゲット4とを備える。携帯端末2の少なくとも一部を覆うカバー3にプリズムターゲット4を設けるか、或いは、携帯端末にジャック部を設け、プリズムターゲットにジャック部へ挿入可能なプラグ部を設ける。
【選択図】図1
特許請求の範囲
【請求項1】
三次元レーザースキャナー機能を有する携帯端末と、
ターゲットと、を備える
ことを特徴とする測量機。
続きを表示(約 180 文字)
【請求項2】
前記携帯端末の少なくとも一部を覆うカバーを備え、
前記ターゲットは、前記カバーに設けられている
ことを特徴とする請求項1に記載の測量機。
【請求項3】
前記携帯端末はジャック部を有し、
前記ターゲットは、前記ジャック部に挿入可能なプラグ部を備えている
ことを特徴とする請求項1に記載の測量機。
発明の詳細な説明
【技術分野】
【0001】
本発明は、三次元レーザースキャナー機能を備えた測量機に関する。
続きを表示(約 1,500 文字)
【背景技術】
【0002】
発破によるトンネル掘削にあたっては、事前に行った地質調査に基づいて爆薬設置位置、爆薬量などの発破条件が決定される。しかし、実際の施工時には地盤の不均一性、不連続性等によりあらかじめ決定された発破条件が適切でなくなることも多い。
このため、削孔中に切羽の掘削形状やズリの堆積状態を把握し、これに応じて発破条件を修正する必要がある。
【0003】
切羽の掘削形状やズリの堆積状態を把握するために、三次元レーザースキャナーが用いられている。
三次元レーザースキャナーは、計測対象物表面の各測量点までの距離データ及び角度データから三次元点群データを取得するものであり、取得した三次元点群データを演算処理して計測対象物の形状を特定する。
【0004】
例えば、特許文献1には、発破前に、切羽及びズリの飛散予定範囲について、三次元スキャナ等の三次元計測機器により三次元計測を行い、発破後に、飛散したズリの堆積状態及び切羽の掘削形状について、三次元スキャナ等の三次元計測機器により三次元計測を行い、ズリの堆積状態及び切羽の掘削形状に基づいて設定した発破状況の指標値と、発破の良否の関係を定量化したデータで蓄積し、蓄積したデータを分析して発破の良否の判断を行い、発破条件の修正を行う発破最適化方法が開示されている。
【0005】
上記特許文献1には、三次元計測機器を天井面から吊持された設置台にセットしても、床面に対して三脚によって設置しても、手に持っていてもよいと記載されているが、三次元点群データの絶対座標値を得るためには、いずれにしても、三次元計測機器の位置(絶対座標)を把握することが重要である。
【先行技術文献】
【特許文献】
【0006】
特開2019-190189号公報
【発明の概要】
【発明が解決しようとする課題】
【0007】
三次元計測機器の位置を把握するには、三次元計測機器の周囲に複数のターゲットを設置し、各ターゲットの座標をトータルステーション等で計測してから、位置が既知となったターゲットを三次元計測機器で視準するのが一般的である。
しかし、このような手法では、三次元計測機器による計測を開始するまでの準備に非常に時間がかかるため、作業が中断してしまい、トンネル掘削工事全体の作業効率が低下しかねない。
【0008】
車両や油圧ブレーカに三次元レーザースキャナーを搭載する方法も提案されているが、高価な機材を必要とする。
また、GNSS機能及び三次元レーザースキャナー機能を備え、位置を特定することができる携帯端末がすでに市販されているが、トンネルの坑内ではGNSSによって携帯端末の位置を把握することはできない。携帯端末には加速度センサが搭載されておりGNSS環境から非GNSS環境への移動の変位を補足することもできるが、移動距離が大きくなると誤差が累積されるという問題もある。
【0009】
本発明が解決しようとする課題は、GNSSが使用できない環境であっても、安価に、且つ、簡単に測定対象物の三次元点群データを取得することができる測量機を提供することにある。
【課題を解決するための手段】
【0010】
本願請求項1に係る発明は、三次元レーザースキャナー機能を有する携帯端末と、ターゲットと、を備えることを特徴とする測量機である。
(【0011】以降は省略されています)
この特許をJ-PlatPat(特許庁公式サイト)で参照する
関連特許
戸田建設株式会社
設計方法
1か月前
戸田建設株式会社
凍結破砕管
1か月前
戸田建設株式会社
照明制御システム
1か月前
戸田建設株式会社
コンクリート構造
22日前
戸田建設株式会社
議事録作成システム
1か月前
戸田建設株式会社
鋼製ブラケットの取付装置
22日前
戸田建設株式会社
鋼製ブラケットの取付装置
22日前
戸田建設株式会社
身体冷却装置及び身体冷却服
1か月前
戸田建設株式会社
高炉スラグ微粉末を主材とした充填材
1か月前
戸田建設株式会社
バイブロハンマ及びこれを用いた杭の引抜方法
1か月前
戸田建設株式会社
超高強度吹付けコンクリート及びその吹付け方法
1か月前
戸田建設株式会社
排水窓付型枠及びそれを用いたコンクリートの打設方法
1か月前
戸田建設株式会社
形鋼と鉄筋からなる主鋼材の建込み構造及び建込み方法
22日前
戸田建設株式会社
仮想輸送経路の提案方法及び仮想輸送経路の提案システム
1か月前
戸田建設株式会社
杭と柱梁仕口組立体の接合方法及び杭と柱梁仕口組立体の接合構造
1か月前
戸田建設株式会社
学習済みモデル、情報処理装置、情報処理方法、情報処理プログラム
1か月前
戸田建設株式会社
報知送受信装置、報知システム、消火器スタンド、報知送信装置、及び報知受信装置
1か月前
個人
採尿及び採便具
19日前
日本精機株式会社
検出装置
13日前
個人
計量機能付き容器
8日前
個人
アクセサリー型テスター
1か月前
個人
高精度同時多点測定装置
1か月前
甲神電機株式会社
電流検出装置
13日前
株式会社ミツトヨ
測定器
25日前
アズビル株式会社
電磁流量計
28日前
ダイキン工業株式会社
監視装置
1か月前
トヨタ自動車株式会社
監視装置
1か月前
大成建設株式会社
風洞実験装置
8日前
愛知時計電機株式会社
ガスメータ
25日前
日本特殊陶業株式会社
ガスセンサ
6日前
個人
計量具及び計量機能付き容器
8日前
大和製衡株式会社
組合せ計量装置
22日前
双庸電子株式会社
誤配線検査装置
14日前
大和製衡株式会社
組合せ計量装置
22日前
日本信号株式会社
距離画像センサ
11日前
愛知電機株式会社
軸部材の外観検査装置
22日前
続きを見る
他の特許を見る