TOP
|
特許
|
意匠
|
商標
特許ウォッチ
Twitter
他の特許を見る
公開番号
2025148858
公報種別
公開特許公報(A)
公開日
2025-10-08
出願番号
2024049187
出願日
2024-03-26
発明の名称
凍結破砕管
出願人
戸田建設株式会社
,
株式会社精研
代理人
弁理士法人東京アルパ特許事務所
主分類
E02D
5/34 20060101AFI20251001BHJP(水工;基礎;土砂の移送)
要約
【課題】運搬効率の低下を防ぐ。
【解決手段】貯水部12は、中空略楕円柱状であり、内部に水が封入される。冷媒管13は、貯水部12を略軸方向に沿って貫通し、冷媒が通る。翼部15a及び15bは、略平板状であり、貯水部12の軸方向に沿って延び、貯水部12の外側面から径方向外側へ向けて突出している。接続部16a~16cは、折り曲げられた長尺板状であり、翼部15aに固定されている。接続部16a~16cは、現場打ち鉄筋コンクリート杭の主筋に固定される。
【選択図】図1
特許請求の範囲
【請求項1】
中空略楕円柱状であり、内部に水が封入される貯水部と、
前記貯水部を略軸方向に沿って貫通し、冷媒が通る冷媒管と、
略平板状であり、前記貯水部の軸方向に沿って延び、前記貯水部の外側面から径方向外側へ向けて突出した翼部と、
折り曲げられた長尺板状であり、前記翼部に固定された接続部と
を備え、
前記接続部は、現場打ち鉄筋コンクリート杭の主筋に固定される、
凍結破砕管。
続きを表示(約 500 文字)
【請求項2】
前記接続部は、前記貯水部の軸方向に対して略垂直な方向に延びる固定部を有し、
前記固定部は、前記現場打ち鉄筋コンクリート杭の前記主筋に固定される、
請求項1の凍結破砕管。
【請求項3】
前記翼部に対して、前記固定部とは反対側に設けられ、開閉可能に前記貯水部の内部に流体連通した封入口
を更に備える、請求項2の凍結破砕管。
【請求項4】
前記接続部を少なくも三つ備え、
第一の前記接続部は、前記翼部の前記軸方向の一方の端部に固定され、
第二の前記接続部は、前記翼部の前記軸方向のもう一方の端部に固定され、
第三の前記接続部は、前記翼部の前記軸方向の中間部分に固定されている、
請求項1乃至3いずれかの凍結破砕管。
【請求項5】
前記冷媒管の前記貯水部から露出した端部に流体連通され、自在に屈曲可能な取り付け部
を更に備え、
前記冷媒管は、前記取り付け部を介して、前記冷媒管のなかを通る冷媒を冷却する冷却装置に流体連通される、
請求項1乃至3いずれかの凍結破砕管。
発明の詳細な説明
【技術分野】
【0001】
この発明は、杭頭処理に用いられる凍結破砕管に関する。
続きを表示(約 1,600 文字)
【背景技術】
【0002】
特許文献1は、杭頭処理工法に用いられる凍結破砕管を開示している。
【先行技術文献】
【特許文献】
【0003】
特開2016-204827号公報
【発明の概要】
【発明が解決しようとする課題】
【0004】
一つの現場打ち鉄筋コンクリート杭のなかに複数の凍結破砕管を設置する場合、現場での取り付けの手間を省力化するため、複数の凍結破砕管をあらかじめ連結しておく場合がある。
しかし、複数の凍結破砕管をあらかじめ連結しておくと、多数の凍結破砕管をコンパクトな荷姿にまとめることができず、運搬効率が低下する。
この発明は、例えばこのような課題を解決することを目的とする。
【課題を解決するための手段】
【0005】
凍結破砕管は、貯水部と、冷媒管と、翼部と、接続部とを有する。前記貯水部は、中空略楕円柱状であり、内部に水が封入される。前記冷媒管は、前記貯水部を略軸方向に沿って貫通し、冷媒が通る。前記翼部は、略平板状であり、前記貯水部の軸方向に沿って延び、前記貯水部の外側面から径方向外側へ向けて突出している。前記接続部は、折り曲げられた長尺板状であり、前記翼部に固定されている。前記接続部は、現場打ち鉄筋コンクリート杭の主筋に固定される。
【発明の効果】
【0006】
接続部が長尺板状なので、接続部を現場打ち鉄筋コンクリート杭の主筋に固定する際、接続部を軸にして凍結破砕管が回転するのを防ぐことができる。このため、複数の凍結破砕管をあらかじめ連結しておく必要がなく、運搬効率の低下を防ぐことができる。
【図面の簡単な説明】
【0007】
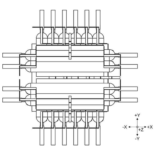
凍結破砕管の一例を示す斜視図。
前記凍結破砕管を示す左側面図。
前記凍結破砕管を示す平面図。
前記凍結破砕管を示す正面図。
前記凍結破砕管を示す底面図。
凍結破砕管の荷姿の一例を示す平面図。
前記凍結破砕管の荷姿を示す側面図。
【発明を実施するための形態】
【0008】
図1~5を参照して、凍結破砕管10について説明する。
凍結破砕管10は、例えば特許文献1に記載されている杭頭処理工法で使用されるものであり、現場打ち鉄筋コンクリート杭のなかに設置され、水が凍るときの体積膨張を利用して、鉄筋コンクリート杭にひびを入れ、余盛コンクリート部分を分離する。
凍結破砕管10は、例えば、貯水部12と、冷媒管13と、保護部14a及び14bと、翼部15a及び15bと、接続部16a~16cと、取り付け部17a及び17bと、封入口18とを有する。
【0009】
貯水部12は、例えば、±X方向に略平行な方向を軸とする中空楕円柱状であり、内部に水が封入される。楕円の長軸は、±Y方向に略平行な方向であり、短軸は、±Z方向に略平行な方向である。貯水部12は、比較的薄い鋼板などによって形成され、内部に封入された水が凍って膨張する圧力によって変形し、断面形状が真円に近づく。これにより、凍結破砕管10が埋設された鉄筋コンクリート杭に対して、±Z方向の力を加え、これにより、鉄筋コンクリート杭にひびを入れる。
【0010】
冷媒管13は、例えば、±X方向に略平行な方向(すなわち、貯水部12の軸方向に平行な方向)を軸とする円管状であり、貯水部12の中心軸に沿って貯水部12のなかを貫通し、両端が貯水部12の外に露出している。冷却装置によって氷点下に冷却された冷媒が冷媒管13のなかを通って流れることにより、貯水部12に封入された水を凍結させる。
(【0011】以降は省略されています)
この特許をJ-PlatPat(特許庁公式サイト)で参照する
関連特許
戸田建設株式会社
建築物
2か月前
戸田建設株式会社
設計方法
1か月前
戸田建設株式会社
天井構造
1か月前
戸田建設株式会社
柱設置方法
1か月前
戸田建設株式会社
凍結破砕管
1か月前
戸田建設株式会社
照明制御システム
1か月前
戸田建設株式会社
コンクリート構造
1か月前
戸田建設株式会社
議事録作成システム
1か月前
戸田建設株式会社
基礎フーチング設計方法
1か月前
戸田建設株式会社
建物改修方法及び雑壁構造
1か月前
戸田建設株式会社
鋼製ブラケットの取付装置
1か月前
戸田建設株式会社
鋼製ブラケットの取付装置
1か月前
戸田建設株式会社
身体冷却装置及び身体冷却服
1か月前
戸田建設株式会社
植栽選定システム及び植栽選定方法
2か月前
戸田建設株式会社
杭基礎形成方法及びアタッチメント
1か月前
戸田建設株式会社
距離計測器を備えた吹付けノズル装置
6日前
戸田建設株式会社
高炉スラグ微粉末を主材とした充填材
1か月前
戸田建設株式会社
バイブロハンマ及びこれを用いた杭の引抜方法
1か月前
戸田建設株式会社
情報処理方法、プログラムおよび情報処理装置
1か月前
戸田建設株式会社
情報処理方法、プログラムおよび情報処理装置
1か月前
戸田建設株式会社
情報処理方法、プログラムおよび情報処理装置
1か月前
戸田建設株式会社
超高強度吹付けコンクリート及びその吹付け方法
1か月前
戸田建設株式会社
形鋼と鉄筋からなる主鋼材の建込み構造及び建込み方法
1か月前
戸田建設株式会社
排水窓付型枠及びそれを用いたコンクリートの打設方法
1か月前
戸田建設株式会社
仮想輸送経路の提案方法及び仮想輸送経路の提案システム
1か月前
戸田建設株式会社
仮想輸送経路の提案方法及び仮想輸送経路の提案システム
1か月前
戸田建設株式会社
杭と柱梁仕口組立体の接合方法及び杭と柱梁仕口組立体の接合構造
1か月前
戸田建設株式会社
学習済みモデル、情報処理装置、情報処理方法、情報処理プログラム
1か月前
戸田建設株式会社
報知送受信装置、報知システム、消火器スタンド、報知送信装置、及び報知受信装置
1か月前
個人
バケット
27日前
個人
建物の不同沈下の修正方法
1か月前
鹿島建設株式会社
接続方法
7日前
株式会社大林組
操縦装置
1か月前
千代田工営株式会社
回転貫入杭
1か月前
株式会社富田製作所
継手部構造
27日前
株式会社郷土開発
傾斜地の切土工法
6日前
続きを見る
他の特許を見る