TOP
|
特許
|
意匠
|
商標
特許ウォッチ
Twitter
他の特許を見る
公開番号
2025146043
公報種別
公開特許公報(A)
公開日
2025-10-03
出願番号
2024046617
出願日
2024-03-22
発明の名称
天井構造
出願人
戸田建設株式会社
代理人
弁理士法人東京アルパ特許事務所
主分類
E04C
3/11 20060101AFI20250926BHJP(建築物)
要約
【課題】複雑な形状の天井を容易に施工する。
【解決手段】平面トラス13a~13fは、略直線状の上弦材と、前記上弦材の下方に前記上弦材と略平行に配置された略直線状の下弦材と、前記上弦材と前記下弦材との間を連結する連結材とを有する。小梁は、平面トラス13a~13fの前記下弦材の間を連結する。天井16a及び16bは、前記小梁に直接固定されている。平面トラス13a~13fは、前記上弦材と前記下弦材との間の間隔が互いに異なる。小梁は、天井16a又は16bの形状に沿った形状を有する。
【選択図】図1
特許請求の範囲
【請求項1】
略直線状の上弦材と、前記上弦材の下方に前記上弦材と略平行に配置された略直線状の下弦材と、前記上弦材と前記下弦材との間を連結する複数の連結材とを有する複数の平面トラスと、
複数の前記平面トラスの前記下弦材の間を連結する複数の小梁と、
複数の前記小梁に直接固定された天井と
を備え、
複数の前記平面トラスは、前記上弦材と前記下弦材との間の間隔が互いに異なり、
複数の前記小梁は、前記天井の形状に沿った形状を有する、
天井構造。
続きを表示(約 140 文字)
【請求項2】
複数の前記平面トラスは、前記上弦材が高さ方向において略同じ位置になるよう配置されている、
請求項1の天井構造。
【請求項3】
前記天井は、曲面形状を有し、
複数の前記小梁は、曲線状である、
請求項1又は2の天井構造。
発明の詳細な説明
【技術分野】
【0001】
この発明は、天井構造に関する。
続きを表示(約 1,400 文字)
【背景技術】
【0002】
吊り天井は、天井裏に空間があり、遮音性能が高く、ダクトなどの設備を通すことができるなどのメリットがある。
しかし、大ホールなどの大型施設では、地震時などにおける天井ボードの落下を防ぐため、補強する必要がある。
特許文献1は、吊り天井の耐震補強構造を開示している。
【先行技術文献】
【特許文献】
【0003】
特開2022-088271号公報
【発明の概要】
【発明が解決しようとする課題】
【0004】
大ホールなどでは、音響効果などを考慮して、天井が複雑な形状をしている場合がある。このような複雑な形状の天井を吊り天井で構成すると、施工精度を確保することが難しい。
また、吊り天井を補強すると、補強材を避けて点検歩廊やダクトなどの設備を配置する必要がある。
この発明は、例えばこのような課題を解決することを目的とする。
【課題を解決するための手段】
【0005】
天井構造は、複数の平面トラスと、小梁と、天井とを有する。複数の前記平面トラスは、略直線状の上弦材と、前記上弦材の下方に前記上弦材と略平行に配置された略直線状の下弦材と、前記上弦材と前記下弦材との間を連結する複数の連結材とを有する。複数の前記小梁は、複数の前記平面トラスの前記下弦材の間を連結する。前記天井は、複数の前記小梁に直接固定されている。複数の前記平面トラスは、前記上弦材と前記下弦材との間の間隔が互いに異なる。複数の前記小梁は、前記天井の形状に沿った形状を有する。
【発明の効果】
【0006】
平面トラスの下弦材の間を連結する小梁に天井が直接固定されているので、吊り天井構造ではなく、施工精度を容易に確保できるとともに、補強の必要がなく、点検歩廊やダクトなどの設備を天井裏に容易に配置できる。
【図面の簡単な説明】
【0007】
天井構造の一例を示す斜視図。
前記天井構造を示す平面図。
前記天井構造を示す正面図。
前記天井構造を示す左側面図。
トラスの一例を示す斜視図。
天井の一例を示す斜視図。
【発明を実施するための形態】
【0008】
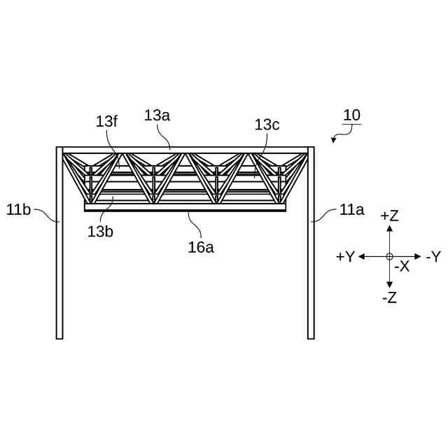
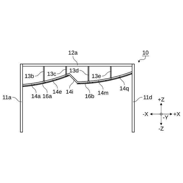
図1~3を参照して、天井構造10について説明する。
天井構造10は、例えば大ホールなどの大空間に適用される構造であり、天井の形状が例えば曲面であったり段差があったりするなど複雑な形状をしている。天井構造10は、例えば、柱11a~11dと、大梁12a及び12bと、トラス13a~13fと、小梁14a~14t及び15a~15oと、天井16a及び16bとを有する。
【0009】
柱11a~11dは、例えばH形鋼などの鉄骨であり、略鉛直方向(±Z方向)に延びる長尺部材である。柱11a~11dは、天井構造10全体を支持する。
【0010】
大梁12a及び12bは、例えばH形鋼などの鉄骨であり、略水平方向(±X方向)に延びる長尺部材である。
大梁12aは、柱11aと柱11dとの間に架け渡され、柱11a及び11dに固定され、柱11a及び11dよって支持されている。
大梁12bは、柱11bと柱11cとの間に架け渡され、柱11b及び11cに固定され、柱11b及び11cによって支持されている。
(【0011】以降は省略されています)
この特許をJ-PlatPat(特許庁公式サイト)で参照する
関連特許
戸田建設株式会社
建築物
2か月前
戸田建設株式会社
建築物
1か月前
戸田建設株式会社
設計方法
1か月前
戸田建設株式会社
天井構造
1か月前
戸田建設株式会社
柱設置方法
1か月前
戸田建設株式会社
凍結破砕管
1か月前
戸田建設株式会社
空調制御システム
2か月前
戸田建設株式会社
コンクリート構造
22日前
戸田建設株式会社
照明制御システム
1か月前
戸田建設株式会社
議事録作成システム
1か月前
戸田建設株式会社
基礎フーチング設計方法
1か月前
戸田建設株式会社
鋼製ブラケットの取付装置
22日前
戸田建設株式会社
鋼製ブラケットの取付装置
22日前
戸田建設株式会社
建物改修方法及び雑壁構造
1か月前
戸田建設株式会社
身体冷却装置及び身体冷却服
1か月前
戸田建設株式会社
植栽選定システム及び植栽選定方法
1か月前
フクビ化学工業株式会社
折板屋根
2か月前
戸田建設株式会社
杭基礎形成方法及びアタッチメント
1か月前
戸田建設株式会社
高炉スラグ微粉末を主材とした充填材
1か月前
戸田建設株式会社
バイブロハンマ及びこれを用いた杭の引抜方法
1か月前
戸田建設株式会社
情報処理方法、プログラムおよび情報処理装置
1か月前
戸田建設株式会社
情報処理方法、プログラムおよび情報処理装置
1か月前
戸田建設株式会社
情報処理方法、プログラムおよび情報処理装置
1か月前
戸田建設株式会社
超高強度吹付けコンクリート及びその吹付け方法
1か月前
戸田建設株式会社
形鋼と鉄筋からなる主鋼材の建込み構造及び建込み方法
22日前
戸田建設株式会社
排水窓付型枠及びそれを用いたコンクリートの打設方法
1か月前
戸田建設株式会社
仮想輸送経路の提案方法及び仮想輸送経路の提案システム
1か月前
戸田建設株式会社
仮想輸送経路の提案方法及び仮想輸送経路の提案システム
1か月前
戸田建設株式会社
杭と柱梁仕口組立体の接合方法及び杭と柱梁仕口組立体の接合構造
1か月前
戸田建設株式会社
学習済みモデル、情報処理装置、情報処理方法、情報処理プログラム
1か月前
戸田建設株式会社
報知送受信装置、報知システム、消火器スタンド、報知送信装置、及び報知受信装置
1か月前
個人
接合構造
1か月前
個人
タッチミー
1か月前
個人
屋台
2か月前
個人
野良猫ハウス
2か月前
個人
安心補助てすり
26日前
続きを見る
他の特許を見る