TOP
|
特許
|
意匠
|
商標
特許ウォッチ
Twitter
他の特許を見る
公開番号
2025151564
公報種別
公開特許公報(A)
公開日
2025-10-09
出願番号
2024053068
出願日
2024-03-28
発明の名称
報知送受信装置、報知システム、消火器スタンド、報知送信装置、及び報知受信装置
出願人
戸田建設株式会社
代理人
弁理士法人前川知的財産事務所
主分類
G08B
25/10 20060101AFI20251002BHJP(信号)
要約
【課題】迅速、且つ継続的な消火活動を容易に実施することができる報知送受信装置、報知システム、消火器スタンド、報知送信装置、及び報知送受信装置を提供すること。
【解決手段】消火器を配置するための消火器スタンドに取り付けられる報知送受信装置であって、消火器スタンドから消火器が取り出されると、報知指示に対応する指示情報を外部に送信する送信部と、外部から送信される指示情報を受信する受信部と、指示情報が受信部で受信されると、消火器の存在を報知する報知部と、を備える報知送受信装置。
【選択図】図2
特許請求の範囲
【請求項1】
消火器を配置するための消火器スタンドに取り付けられる報知送受信装置であって、
前記消火器スタンドから前記消火器が取り出されると、報知指示に対応する指示情報を外部に送信する送信部と、
外部から送信される前記指示情報を受信する受信部と、
前記指示情報が前記受信部で受信されると、前記消火器の存在を報知する報知部と、
を備える報知送受信装置。
続きを表示(約 840 文字)
【請求項2】
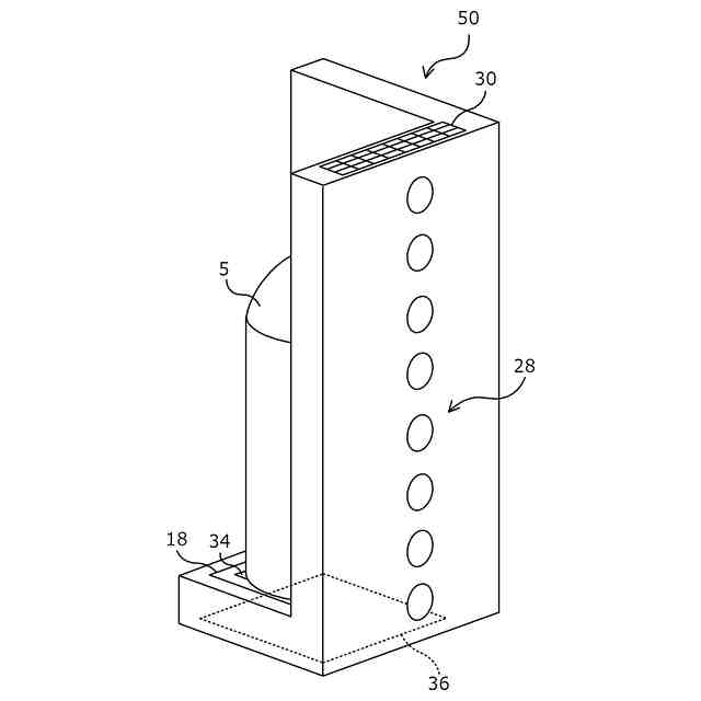
前記消火器スタンドからの前記消火器の取り出しを検知する検知部を備え、
前記送信部は、前記消火器スタンドからの前記消火器の取り出しが前記検知部で検知されると、前記指示情報を外部に送信する、請求項1に記載の報知送受信装置。
【請求項3】
前記検知部は、重量センサであり、前記消火器の重量に対応する閾値以下の重量を検知することで、前記消火器スタンドからの前記消火器の取り出しを検知する、請求項2に記載の報知送受信装置。
【請求項4】
電源としての役割を担い、前記消火器スタンドから前記消火器が取り出される時の前記消火器の動きにより発電する自己発電部を備え、
前記送信部は、前記自己発電部による発電が行われると、前記自己発電部の発電により得られた電力を含む電力を用いて、前記指示情報を外部に送信する、請求項1に記載の報知送受信装置。
【請求項5】
電源としての役割を担い、前記消火器スタンドが配置されている場所の周囲の環境により発電する環境発電部を備える、請求項1に記載の報知送受信装置。
【請求項6】
前記環境発電部は、前記消火器スタンドが配置されている場所の周囲の振動により発電する、請求項5に記載の報知送受信装置。
【請求項7】
前記環境発電部は、前記消火器スタンドが配置されている場所の周囲の光により発電する、請求項5に記載の報知送受信装置。
【請求項8】
電源としての役割を担い、電力を蓄える蓄電部を備える、請求項1に記載の報知送受信装置。
【請求項9】
前記報知部は、光により前記消火器の存在を報知する発光部を含む、請求項1に記載の報知送受信装置。
【請求項10】
前記報知部は、音により前記消火器の存在を報知する発音部を含む、請求項1に記載の報知送受信装置。
(【請求項11】以降は省略されています)
発明の詳細な説明
【技術分野】
【0001】
本開示は、報知送受信装置、報知システム、消火器スタンド、報知送信装置、及び報知受信装置に関する。
続きを表示(約 1,300 文字)
【背景技術】
【0002】
建物で火災が発生した場合、複数の消火器を用いての迅速、且つ継続的な初期消火活動を行うことが重要である。特に、倉庫、及び実験棟等のような多くの可燃物を収容する大型施設では、このような初期消火活動が焼損の程度に大きく影響する。
【0003】
一方で、一般的に消火器は特許文献1に開示されるような消火器スタンドに収容されて、所定の間隔毎に配置されているが、消火器スタンドの各位置を把握している人は少ない。そこで、特許文献2に開示されているように、火災発生時に消火器の配置場所を容易に火災信号等の防災情報を受けて表示装置の画面上に防災端末機器のシンボルを示した建物平面図などの監視対象の地図を表示する防災表示装置が知られている。
【先行技術文献】
【特許文献】
【0004】
特開2022-26576号公報
特開2009-037438号公報
【発明の概要】
【発明が解決しようとする課題】
【0005】
特許文献1のような消火器スタンドに消火器が覆われていると火災発生時等の緊急時に却って目に付き難くなるおそれがある。また、特許文献2のような防災表示装置も表示画面がある位置に向かう必要があり、そこから消火器の位置に移動して、火災場所に移動する必要があるため、移動距離が延びるおそれがある。このように特許文献1、2の技術では、必ずしも、迅速、且つ継続的な初期消火活動につながらないという問題がある。
【0006】
本開示は、上記実情を鑑みてなされたものであり、迅速、且つ継続的な消火活動を容易に実施することができる報知送受信装置、報知システム、消火器スタンド、報知送信装置、及び報知受信装置を提供することを目的とする。
【課題を解決するための手段】
【0007】
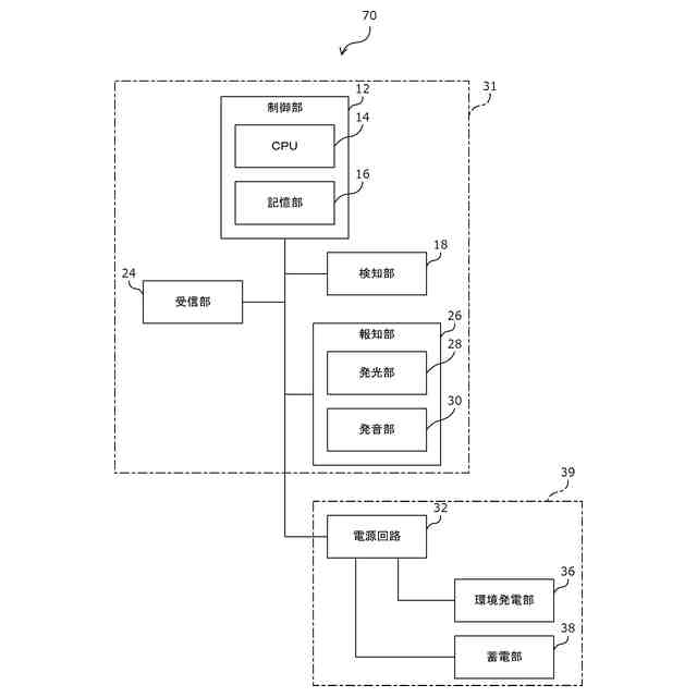
上記した目的を達成するために、本開示に係る報知送受信装置は、消火器を配置するための消火器スタンドに取り付けられる報知送受信装置であって、前記消火器スタンドから前記消火器が取り出されると、報知指示に対応する指示情報を外部に送信する送信部と、外部から送信される前記指示情報を受信する受信部と、前記指示情報が前記受信部で受信されると、前記消火器の存在を報知する報知部と、を備える。
【0008】
上記した目的を達成するために、本開示に係る報知システムでは、複数の消火器スタンドのそれぞれに前記報知送受信装置が取り付けられ、前記指示情報の送信、及び受信は、前記報知送受信装置同士で行われる。
【0009】
上記した目的を達成するために、本開示に係る消火器スタンドは、前記報知送受信装置を備える。
【0010】
上記した目的を達成するために、本開示に係る報知送信装置は、消火器を配置するための消火器スタンドに取り付けられる報知送信装置であって、前記消火器スタンドから前記消火器が取り出されると、報知指示に対応する指示情報を外部に送信する送信部と、を備える。
(【0011】以降は省略されています)
この特許をJ-PlatPat(特許庁公式サイト)で参照する
関連特許
戸田建設株式会社
建築物
2か月前
戸田建設株式会社
建築物
1か月前
戸田建設株式会社
設計方法
1か月前
戸田建設株式会社
天井構造
1か月前
戸田建設株式会社
柱設置方法
1か月前
戸田建設株式会社
凍結破砕管
1か月前
戸田建設株式会社
空調制御システム
2か月前
戸田建設株式会社
コンクリート構造
22日前
戸田建設株式会社
照明制御システム
1か月前
戸田建設株式会社
議事録作成システム
1か月前
戸田建設株式会社
基礎フーチング設計方法
1か月前
戸田建設株式会社
鋼製ブラケットの取付装置
22日前
戸田建設株式会社
鋼製ブラケットの取付装置
22日前
戸田建設株式会社
建物改修方法及び雑壁構造
1か月前
戸田建設株式会社
身体冷却装置及び身体冷却服
1か月前
戸田建設株式会社
植栽選定システム及び植栽選定方法
1か月前
フクビ化学工業株式会社
折板屋根
2か月前
戸田建設株式会社
杭基礎形成方法及びアタッチメント
1か月前
戸田建設株式会社
高炉スラグ微粉末を主材とした充填材
1か月前
戸田建設株式会社
バイブロハンマ及びこれを用いた杭の引抜方法
1か月前
戸田建設株式会社
情報処理方法、プログラムおよび情報処理装置
1か月前
戸田建設株式会社
情報処理方法、プログラムおよび情報処理装置
1か月前
戸田建設株式会社
情報処理方法、プログラムおよび情報処理装置
1か月前
戸田建設株式会社
超高強度吹付けコンクリート及びその吹付け方法
1か月前
戸田建設株式会社
形鋼と鉄筋からなる主鋼材の建込み構造及び建込み方法
22日前
戸田建設株式会社
排水窓付型枠及びそれを用いたコンクリートの打設方法
1か月前
戸田建設株式会社
仮想輸送経路の提案方法及び仮想輸送経路の提案システム
1か月前
戸田建設株式会社
仮想輸送経路の提案方法及び仮想輸送経路の提案システム
1か月前
戸田建設株式会社
杭と柱梁仕口組立体の接合方法及び杭と柱梁仕口組立体の接合構造
1か月前
戸田建設株式会社
学習済みモデル、情報処理装置、情報処理方法、情報処理プログラム
1か月前
戸田建設株式会社
報知送受信装置、報知システム、消火器スタンド、報知送信装置、及び報知受信装置
1か月前
個人
安全支援装置
13日前
日本精機株式会社
警報システム
2か月前
個人
自動電動車椅子
2か月前
株式会社SUBARU
車両
1か月前
スズキ株式会社
運転支援装置
2か月前
続きを見る
他の特許を見る