TOP
|
特許
|
意匠
|
商標
特許ウォッチ
Twitter
他の特許を見る
10個以上の画像は省略されています。
公開番号
2025158596
公報種別
公開特許公報(A)
公開日
2025-10-17
出願番号
2024061292
出願日
2024-04-05
発明の名称
排水窓付型枠及びそれを用いたコンクリートの打設方法
出願人
戸田建設株式会社
代理人
個人
主分類
E04G
21/02 20060101AFI20251009BHJP(建築物)
要約
【課題】ブリーディング水が簡単かつ確実に除去できるようにする。
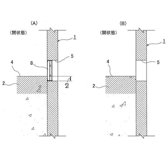
【解決手段】超遅延剤を添加したコンクリートの層2の上層にコンクリート3を打継ぐ際に用いられる型枠であって、超遅延剤を添加したコンクリート2の打継面4を含む高さ位置に、開閉可能な排水窓5が設けられる。排水窓5の下端は、超遅延剤を添加したコンクリート2の打継面4と同等かそれより下方に位置している。排水窓5が排水窓閉塞体8によって閉塞された閉状態と、開放された開状態とに切換可能となっている。
【選択図】図2
特許請求の範囲
【請求項1】
超遅延剤を添加したコンクリートの層の上層にコンクリートを打継ぐ際に用いられる型枠であって、
前記超遅延剤を添加したコンクリートの打継面を含む高さ位置に、開閉可能な排水窓が設けられていることを特徴とする排水窓付型枠。
続きを表示(約 750 文字)
【請求項2】
前記排水窓の上端は、前記超遅延剤を添加したコンクリートの打継面より上方に位置しており、
前記排水窓の下端は、前記超遅延剤を添加したコンクリートの打継面と同等かそれより下方に位置している請求項1記載の排水窓付型枠。
【請求項3】
前記排水窓が排水窓閉塞体によって閉塞された閉状態と、開放された開状態とに切換可能となっている請求項1記載の排水窓付型枠。
【請求項4】
前記排水窓が排水窓閉塞体の取り付け、取り外しによって開閉可能となっており、
前記排水窓閉塞体は、周囲の型枠に対しパッキンを介してボルト・ナットで固定されている請求項1記載の排水窓付型枠。
【請求項5】
前記排水窓が、上下方向に閉塞高さを調整可能なシャッター式の排水窓閉塞体によって開閉可能となっている請求項1記載の排水窓付型枠。
【請求項6】
上記請求項1~5いずれかに記載の排水窓付型枠を用いたコンクリートの打設方法であって、
前記排水窓を閉状態にして前記超遅延剤を添加したコンクリートを打設した後、
前記排水窓を開状態として、その上層にコンクリートを打継ぐまでの間、前記排水窓からブリーディング水が常時排出可能な状態にするか、前記超遅延剤を添加したコンクリートの上層にコンクリートを打継ぐ前に、ブリーディング水が溜まっている箇所近傍の前記排水窓のみを開状態として、そこからブリーディング水を排出することを特徴とするコンクリートの打設方法。
【請求項7】
前記超遅延剤を添加したコンクリートの層の打継面が、前記排水窓に向けて下り勾配となるように高さ調整がなされている請求項6記載のコンクリートの打設方法。
発明の詳細な説明
【技術分野】
【0001】
本発明は、コンクリートを上方向に向けて順次層状に打設して行くに当たって、超遅延剤を添加したコンクリートの打継面を含む高さ位置に排水窓を設けた排水窓付型枠及びそれを用いたコンクリートの打設方法に関する。
続きを表示(約 1,300 文字)
【背景技術】
【0002】
従来より、土木工事等において大規模なコンクリート構造物を構築するに当たって、コンクリートを上方向に向けて順次層状に打設して行くことになる。この際、1日のコンクリート打設が完了したならば、日付を跨いでコンクリート打設を再開することになるため、打設済みコンクリートと新規コンクリートとの境界面(水平打継目)の処理がコンクリート品質を確保する上で重要となる。
【0003】
従来は、専らある程度硬化した下層側コンクリートの表面(水平打継目となる)をワイヤーブラシやチッピング等によりレイタンスを除去した後(グリーンカット処理という。)、上層にコンクリートを打設する方法が採用されていたが、この方法は基本的に手作業となるため、多くの手間と時間が掛かるとともに、粉塵の発生を伴うため環境防止対策が必要になるなどの問題があった。
【0004】
そこで出願人は、下記特許文献1において、超遅延剤を添加したコンクリートを打設することで、コンクリートの凝結時間を任意にコントロールした後、所定時間の経過後に、硬化促進剤を添加したコンクリートを打設し、前記超遅延剤を添加したコンクリートの層と前記硬化促進剤を添加したコンクリートの層とを攪拌混合することにより、打重ね部の一体性を確保する方法を提案した。
【先行技術文献】
【特許文献】
【0005】
特開2021-130982号公報
【発明の概要】
【発明が解決しようとする課題】
【0006】
しかしながら、超遅延剤を添加したコンクリートは、セメントの水和反応を遅延させているため、ブリーディング量の増加が問題となる。
【0007】
コンクリート標準示方書[施工編:施工標準]には、「コンクリートブリーディング水による打上がり面の滞水を取り除かないと、型枠に接する面が洗われ、砂すじや仕上がり面近くに脆弱な層を形成するおそれがある。滞水は、スポンジやひしゃく、小型水中ポンプ等により除去する必要がある。」と記載されている。ところが、ブリーディング水の除去には手間と時間を要し、簡単には除去できないため、簡単な除去方法の開発が望まれていた。
【0008】
また、ブリーディング水の除去が不十分な場合、ブリーディング水によりコンクリート内部に空隙が生じるなど、コンクリートの品質低下につながる可能性があるため、ブリーディング水の効率的な除去が重要となる。
【0009】
そこで本発明の主たる課題は、ブリーディング水が簡単かつ確実に除去できるようにした排水窓付型枠及びそれを用いたコンクリートの打設方法を提供することにある。
【課題を解決するための手段】
【0010】
前記課題を解決するために請求項1に係る本発明として、超遅延剤を添加したコンクリートの層の上層にコンクリートを打継ぐ際に用いられる型枠であって、
前記超遅延剤を添加したコンクリートの打継面を含む高さ位置に、開閉可能な排水窓が設けられていることを特徴とする排水窓付型枠が提供される。
(【0011】以降は省略されています)
この特許をJ-PlatPat(特許庁公式サイト)で参照する
関連特許
戸田建設株式会社
測量機
2か月前
戸田建設株式会社
建築物
2か月前
戸田建設株式会社
建築物
1か月前
戸田建設株式会社
設計方法
1か月前
戸田建設株式会社
天井構造
1か月前
戸田建設株式会社
柱設置方法
1か月前
戸田建設株式会社
凍結破砕管
1か月前
戸田建設株式会社
コンクリート構造
23日前
戸田建設株式会社
空調制御システム
2か月前
戸田建設株式会社
照明制御システム
1か月前
戸田建設株式会社
モルタルの除去方法
2か月前
戸田建設株式会社
議事録作成システム
1か月前
戸田建設株式会社
基礎フーチング設計方法
1か月前
戸田建設株式会社
建物改修方法及び雑壁構造
1か月前
戸田建設株式会社
鋼製ブラケットの取付装置
23日前
戸田建設株式会社
鋼製ブラケットの取付装置
23日前
戸田建設株式会社
身体冷却装置及び身体冷却服
1か月前
戸田建設株式会社
植栽選定システム及び植栽選定方法
1か月前
戸田建設株式会社
杭基礎形成方法及びアタッチメント
1か月前
フクビ化学工業株式会社
折板屋根
2か月前
戸田建設株式会社
高炉スラグ微粉末を主材とした充填材
1か月前
戸田建設株式会社
バイブロハンマ及びこれを用いた杭の引抜方法
1か月前
戸田建設株式会社
情報処理方法、プログラムおよび情報処理装置
1か月前
戸田建設株式会社
情報処理方法、プログラムおよび情報処理装置
1か月前
戸田建設株式会社
情報処理方法、プログラムおよび情報処理装置
1か月前
戸田建設株式会社
超高強度吹付けコンクリート及びその吹付け方法
1か月前
戸田建設株式会社
排水窓付型枠及びそれを用いたコンクリートの打設方法
1か月前
戸田建設株式会社
形鋼と鉄筋からなる主鋼材の建込み構造及び建込み方法
23日前
戸田建設株式会社
仮想輸送経路の提案方法及び仮想輸送経路の提案システム
1か月前
戸田建設株式会社
仮想輸送経路の提案方法及び仮想輸送経路の提案システム
1か月前
戸田建設株式会社
杭と柱梁仕口組立体の接合方法及び杭と柱梁仕口組立体の接合構造
1か月前
戸田建設株式会社
学習済みモデル、情報処理装置、情報処理方法、情報処理プログラム
1か月前
戸田建設株式会社
爆薬の自動装填装置及びこれを備えた自動装填システム並びに自動装填方法
2か月前
戸田建設株式会社
継手を要したH鋼の挿入方法
2か月前
戸田建設株式会社
報知送受信装置、報知システム、消火器スタンド、報知送信装置、及び報知受信装置
1か月前
個人
接合構造
1か月前
続きを見る
他の特許を見る