TOP
|
特許
|
意匠
|
商標
特許ウォッチ
Twitter
他の特許を見る
公開番号
2025140899
公報種別
公開特許公報(A)
公開日
2025-09-29
出願番号
2024040540
出願日
2024-03-14
発明の名称
情報処理方法、プログラムおよび情報処理装置
出願人
戸田建設株式会社
,
TradFit株式会社
代理人
個人
,
個人
主分類
G16H
40/20 20180101AFI20250919BHJP(特定の用途分野に特に適合した情報通信技術)
要約
【課題】病室内で行なわれたコミュニュケーションを記録する情報処理方法等を提供すること。
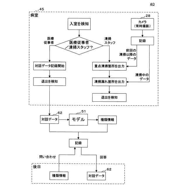
【解決手段】情報処理方法は、カメラおよびマイクが配置された病室への人の入室を検出し、入室した前記人が医療従事者であるか否かを判定し、前記病室45に入院中の患者と前記医療従事者との対話中に、前記カメラにより撮影された画像および前記マイクにより録音された音声を含む対話データ62を取得し、対話データ62の入力を受け付けて、対話に関する種類情報を出力するモデル51に、前記対話データ62を入力して、種類情報を取得し、前記対話データ62と、取得した前記種類情報とを関連づけて記録する処理をコンピュータが実行する。
【選択図】図1
特許請求の範囲
【請求項1】
カメラおよびマイクが配置された病室への人の入室を検出し、
入室した前記人が医療従事者であるか否かを判定し、
前記病室に入院中の患者と前記医療従事者との対話中に、前記カメラにより撮影された画像および前記マイクにより録音された音声を含む対話データを取得し、
対話データの入力を受け付けて、対話に関する種類情報を出力するモデルに、前記対話データを入力して、種類情報を取得し、
前記対話データと、取得した前記種類情報とを関連づけて記録する
処理をコンピュータが実行する情報処理方法。
続きを表示(約 900 文字)
【請求項2】
前記カメラは、前記病室への入室者の有無にかかわらず録画データを記録し、
入室した前記人が清掃スタッフであるか否かを判定し、
前記清掃スタッフから、重点清掃箇所に関する質問を受け付けた場合、前記録画データに基づいて重点清掃箇所に関する情報を出力し、
前記清掃スタッフから、清掃漏れに関する質問を受け付けた場合、前記録画データのうち前記清掃スタッフの入室後に撮影された部分に基づいて清掃漏れ箇所に関する情報を出力する
請求項1に記載の情報処理方法。
【請求項3】
種類情報を受け付けた場合に、受け付けた種類情報と関連づけて記録された対話データを出力する
請求項1に記載の情報処理方法。
【請求項4】
カメラおよびマイクが配置された病室への人の入室を検出し、
入室した前記人が医療従事者であるか否かを判定し、
前記病室に入院中の患者と前記医療従事者との対話中に、前記カメラにより撮影された画像および前記マイクにより録音された音声を含む対話データを取得し、
対話データの入力を受け付けて、対話に関する種類情報を出力するモデルに、前記対話データを入力して、種類情報を取得し、
前記対話データと、取得した前記種類情報とを関連づけて記録する
処理をコンピュータに実行させるプログラム。
【請求項5】
制御部を備える情報処理装置であって、
前記制御部は、
カメラおよびマイクが配置された病室への人の入室を検出し、
入室した前記人が医療従事者であるか否かを判定し、
前記病室に入院中の患者と前記医療従事者との対話中に、前記カメラにより撮影された画像および前記マイクにより録音された音声を含む対話データを取得し、
対話データの入力を受け付けて、対話に関する種類情報を出力するモデルに、前記対話データを入力して、種類情報を取得し、
前記対話データと、取得した前記種類情報とを関連づけて記録する
情報処理装置。
発明の詳細な説明
【技術分野】
【0001】
本発明は、情報処理方法、プログラムおよび情報処理装置に関する。
続きを表示(約 1,300 文字)
【背景技術】
【0002】
宿泊施設の客室に設置されたユーザインタフェースを利用して、宿泊客に種々の情報を提供する情報処理方法等が提案されている(特許文献1)。
【先行技術文献】
【特許文献】
【0003】
国際公開第2019/244365号
【発明の概要】
【発明が解決しようとする課題】
【0004】
病院等の医療機関においては、患者、医療従事者、患者の家族、および、医療機関の従業員である非医療従事者等の様々な立場の人同士の間でのコミュニュケーションが、当該病院等の内部で行なわれる場合がある。しかしながら、特許文献1の情報処理方法では、コミュニュケーションの内容を記録できない。
【0005】
一つの側面では、病院等の内部で行なわれたコミュニュケーションを記録する情報処理方法等の提供を目的とする。
【課題を解決するための手段】
【0006】
情報処理方法は、カメラおよびマイクが配置された病室への人の入室を検出し、入室した前記人が医療従事者であるか否かを判定し、前記病室に入院中の患者と前記医療従事者との対話中に、前記カメラにより撮影された画像および前記マイクにより録音された音声を含む対話データを取得し、対話データの入力を受け付けて、対話に関する種類情報を出力するモデルに、前記対話データを入力して、種類情報を取得し、前記対話データと、取得した前記種類情報とを関連づけて記録する処理をコンピュータが実行する。
【発明の効果】
【0007】
一つの側面では、病室内で行なわれたコミュニュケーションを記録する情報処理方法等を提供できる。
【図面の簡単な説明】
【0008】
情報処理システムの動作の概要を説明する説明図である。
情報処理システムの構成を説明する説明図である。
モデルの入出力を説明する説明図である。
対話DBのレコードレイアウトを説明する説明図である。
医療従事者の入室が検知された場合に起動するプログラムの処理の流れを説明するフローチャートである。
対話DBが活用される際のプログラムの処理の流れを説明するフローチャートである。
清掃スタッフの入室を検知した際に起動するプログラムの処理の流れを説明するフローチャートである。
【発明を実施するための形態】
【0009】
[実施の形態1]
図1は、情報処理システム40の動作の概要を説明する説明図である。図1に示す情報処理方法は、医療施設で利用される。以下の説明では、患者が個室に入院している場合を例にして説明する。
【0010】
患者が入院中の病室45には、カメラ28が配置されている。カメラ28は、病室45内を常時撮影し、画像を記録する。カメラ28により撮影された画像、または、ドアに取り付けられたセンサ等により、病室45へ人が入室したことが検知される。顔認識等の手段により、入室した人が、医療従事者または清掃スタッフであるか否かが判定される。
(【0011】以降は省略されています)
この特許をJ-PlatPat(特許庁公式サイト)で参照する
関連特許
戸田建設株式会社
設計方法
1か月前
戸田建設株式会社
凍結破砕管
1か月前
戸田建設株式会社
コンクリート構造
22日前
戸田建設株式会社
鋼製ブラケットの取付装置
22日前
戸田建設株式会社
鋼製ブラケットの取付装置
22日前
戸田建設株式会社
身体冷却装置及び身体冷却服
1か月前
戸田建設株式会社
高炉スラグ微粉末を主材とした充填材
1か月前
戸田建設株式会社
バイブロハンマ及びこれを用いた杭の引抜方法
1か月前
戸田建設株式会社
超高強度吹付けコンクリート及びその吹付け方法
1か月前
戸田建設株式会社
形鋼と鉄筋からなる主鋼材の建込み構造及び建込み方法
22日前
戸田建設株式会社
排水窓付型枠及びそれを用いたコンクリートの打設方法
1か月前
戸田建設株式会社
仮想輸送経路の提案方法及び仮想輸送経路の提案システム
1か月前
戸田建設株式会社
杭と柱梁仕口組立体の接合方法及び杭と柱梁仕口組立体の接合構造
1か月前
戸田建設株式会社
学習済みモデル、情報処理装置、情報処理方法、情報処理プログラム
1か月前
戸田建設株式会社
報知送受信装置、報知システム、消火器スタンド、報知送信装置、及び報知受信装置
1か月前
個人
医療のAI化
2か月前
個人
支援システム
6か月前
個人
管理装置
5か月前
個人
対話システム
5か月前
個人
通知ぬいぐるみAIシステム
2か月前
キラル株式会社
ヘルスケアシステム
27日前
キラル株式会社
ヘルスケアシステム
27日前
株式会社タカゾノ
薬剤秤量装置
3か月前
株式会社タカゾノ
薬剤秤量装置
3か月前
株式会社タカゾノ
薬剤秤量装置
3か月前
株式会社タカゾノ
薬剤秤量装置
3か月前
株式会社タカゾノ
薬剤秤量装置
19日前
株式会社タカゾノ
薬剤秤量装置
3か月前
株式会社タカゾノ
薬剤秤量装置
5か月前
株式会社リコー
投薬管理システム
2か月前
TOTO株式会社
健康管理システム
1か月前
株式会社M-INT
情報処理システム
7か月前
個人
診療の管理装置及び診療システム
3か月前
ゾーン株式会社
コンピュータシステム
6か月前
株式会社CureApp
プログラム
4か月前
株式会社サンクスネット
情報提供システム
5か月前
続きを見る
他の特許を見る