TOP
|
特許
|
意匠
|
商標
特許ウォッチ
Twitter
他の特許を見る
公開番号
2025083959
公報種別
公開特許公報(A)
公開日
2025-06-02
出願番号
2023197664
出願日
2023-11-21
発明の名称
管理装置
出願人
個人
代理人
個人
,
個人
主分類
G16H
50/30 20180101AFI20250526BHJP(特定の用途分野に特に適合した情報通信技術)
要約
【課題】ユーザの体内水分量情報を活用して体調を改善させること。
【解決手段】対話部51は、所定のユーザと対話をして対話情報を取得する。体内水分量情報取得部52は、所定のユーザの体内水分量情報を取得する。体調推定部54は、体内水分量情報に基づいて、所定のユーザの体調を推定する。体調改善情報生成部55は、推定した所定のユーザの体調に基づいて、所定のユーザの体調を改善するための体調改善情報を生成する。対話部51は、体調改善情報に基づいて動作する。
【選択図】図4
特許請求の範囲
【請求項1】
所定のユーザと対話をして対話情報を取得する対話手段と、
前記所定のユーザの体内水分量情報を取得する体内水分量情報取得手段と、
前記体内水分量情報に基づいて、前記所定のユーザの体調を推定する体調推定手段と、
推定した前記所定のユーザの体調に基づいて、前記所定のユーザの体調を改善するための体調改善情報を生成する体調改善情報生成手段と、
を備え、
前記対話手段は、前記体調改善情報に基づいて動作する、
管理装置。
続きを表示(約 200 文字)
【請求項2】
前記体調推定手段は、さらに前記対話情報に基づいて、前記所定のユーザの体調を推定する、
請求項1に記載の管理装置。
【請求項3】
前記所定のユーザの血中酸素濃度情報を取得する血中酸素濃度情報取得手段、
をさらに備え、
前記体調推定手段は、前記血中酸素濃度情報に基づいて、前記所定のユーザの体調を推定する、
請求項1又は2に記載の管理装置。
発明の詳細な説明
【技術分野】
【0001】
本発明は、管理装置に関する。
続きを表示(約 1,300 文字)
【背景技術】
【0002】
従来より、ヘルスケアデバイスで測定した音声データを解析してメンタルデータを生成して測定データと関連付けて記憶する健康管理装置に関する技術が存在する(例えば、特許文献1参照)。
【先行技術文献】
【特許文献】
【0003】
特開2015-090506号公報
【発明の概要】
【発明が解決しようとする課題】
【0004】
人間は、体内の水分量が適当な範囲に存在しない場合、体調をくずことが知られている。
しかしながら、上述の特許文献1を含む従来技術において、ユーザの体内水分量情報を活用して体調を改善させるための仕組みは提案されていない。
【0005】
本発明は、ユーザの体内水分量情報等の情報を活用して体調を改善させることを目的とする。
【課題を解決するための手段】
【0006】
上記目的を達成するため、本発明の一態様の管理装置は、
所定のユーザと対話をして対話情報を取得する対話手段と、
前記所定のユーザの体内水分量情報を取得する体内水分量情報取得手段と、
前記体内水分量情報に基づいて、前記所定のユーザの体調を推定する体調推定手段と、
推定した前記所定のユーザの体調に基づいて、前記対話手段に前記所定のユーザの体調を改善するための体調改善情報を生成する体調改善情報生成手段と、
を備え、
前記対話手段は、前記体調改善情報に基づいて動作する。
【発明の効果】
【0007】
本発明によれば、ユーザの体内水分量情報を活用して体調を改善させることができる。
【図面の簡単な説明】
【0008】
本発明の一実施形態に係る管理装置を含む情報処理システムが適用されたサービス(以下、「本サービス」と呼ぶ)における情報の授受の概要を示す図である。
本発明の一実施形態に係る管理装置を含む情報処理システムの構成の一例を示す図である。
図2に示す情報処理システムのうちサーバのハードウェア構成の一例を示すブロック図である。
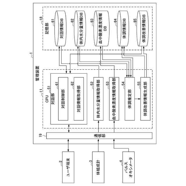
図2の情報処理システムに含まれる図3の管理装置の機能的構成の一例を示す機能ブロック図である。
図4の機能的構成を有する管理装置により提供されるユーザインターフェースのうち、対話画面の一例を示す図である。
体内水分量の低下により発生する疾病を医療分類した図である。
【発明を実施するための形態】
【0009】
以下、本発明の実施形態について図面を用いて説明する。
【0010】
まず、本発明の実施形態の説明に先立って、水分摂取の重要性について説明する。上述したように、人間は、体内の水分量が適当な範囲に存在しない場合、体調をくずすことが知られている。
例えば、体内の水分量が低下すると、血中の水分量が低下することで血流の悪化、細胞が脱水症状となって働きが悪くなり、細胞からなるからだの様々な不調につながり、疲労感が発生するといわれている。
(【0011】以降は省略されています)
この特許をJ-PlatPat(特許庁公式サイト)で参照する
関連特許
個人
支援システム
4か月前
個人
医療のAI化
29日前
個人
管理装置
4か月前
個人
対話システム
4か月前
個人
通知ぬいぐるみAIシステム
1か月前
個人
情報システムおよび方法
6か月前
株式会社タカゾノ
薬剤秤量装置
2か月前
株式会社タカゾノ
薬剤秤量装置
4か月前
株式会社タカゾノ
薬剤秤量装置
2か月前
株式会社タカゾノ
薬剤秤量装置
2か月前
株式会社タカゾノ
薬剤秤量装置
2か月前
株式会社タカゾノ
薬剤秤量装置
2か月前
株式会社リコー
投薬管理システム
1か月前
TOTO株式会社
健康管理システム
1日前
ゾーン株式会社
コンピュータシステム
5か月前
個人
診療の管理装置及び診療システム
2か月前
株式会社M-INT
情報処理システム
5か月前
株式会社CureApp
プログラム
3か月前
大王製紙株式会社
作業管理システム
6か月前
株式会社サンクスネット
情報提供システム
4か月前
株式会社ミラボ
情報処理装置、及びプログラム
2か月前
株式会社 137
健康観察管理システム
4か月前
合同会社フォース
オンライン診療システム
6か月前
西川株式会社
サービス出力システム
4か月前
大和ハウス工業株式会社
服薬推定システム
1日前
株式会社タカゾノ
薬剤秤量装置及び調剤システム
4か月前
歯っぴー株式会社
口内状態の画像診断方法
1か月前
株式会社エフアンドエフ
在宅健康チェックシステム
5か月前
株式会社サンクスネット
健康医療情報管理システム
2か月前
二九精密機械工業株式会社
健康管理要素評価支援システム
3か月前
株式会社SECRET MEDICINE
管理装置
1か月前
HITOTSU株式会社
手術管理システム1
5か月前
キラル株式会社
プログラムの提供システムおよびその方法
4日前
株式会社ジーシー
予測方法および予測システム
4か月前
まちなかMEセンター株式会社
生体情報管理システム
3か月前
株式会社メディファーム
代替候補品目付き相互作用禁忌DB
6か月前
続きを見る
他の特許を見る