TOP
|
特許
|
意匠
|
商標
特許ウォッチ
Twitter
他の特許を見る
公開番号
2025147167
公報種別
公開特許公報(A)
公開日
2025-10-06
出願番号
2024047394
出願日
2024-03-24
発明の名称
プログラムの提供システムおよびその方法
出願人
キラル株式会社
代理人
主分類
G16H
10/00 20180101AFI20250929BHJP(特定の用途分野に特に適合した情報通信技術)
要約
【課題】プログラムの提供システムおよびその方法を提供する。
【解決手段】
制御部と、ユーザの情報処理端末と、所定のプログラムを記憶する記憶部とを有し、前記制御部が、前記ユーザの情報処理端末に前記記憶部に記憶された前記所定のプログラムを提供するように制御するシステムであって、
前記制御部は、
前記ユーザの前記プログラムに対する適性と前記ユーザの情報処理端末に対する適性に関する情報を取得し、
前記情報に応じて、前記所定のプログラムを選択して、前記記憶部から前記情報処理端末に提供することを特徴とするシステム。
【選択図】図4
特許請求の範囲
【請求項1】
制御部と、ユーザの情報処理端末と、所定のプログラムを記憶する記憶部とを有し、前記制御部が、前記ユーザの情報処理端末に前記記憶部に記憶された前記所定のプログラムを提供するように制御するシステムであって、
前記制御部は、
前記ユーザの前記所定のプログラムに対する適性と前記ユーザの情報処理端末に対する適性に関する情報を取得し、
前記情報に応じて、前記所定のプログラムを選択して、前記記憶部から前記情報処理端末に提供することを特徴とするシステム。
続きを表示(約 650 文字)
【請求項2】
制御部と、ユーザの情報処理端末と、所定のメンタルヘルスケア用プログラムを記憶する記憶部とを有し、前記制御部が、前記ユーザの情報処理端末に前記記憶部に記憶された前記プログラムを提供するように制御するシステムであって、
前記制御部は、
前記ユーザの前記プログラムに対する適性と前記ユーザの情報処理端末に対する適性に関する情報を取得し、
前記情報に応じて、前記所定のプログラムを選択して、前記記憶部から前記情報処理端末に提供することを特徴とするシステム。
【請求項3】
前記システムはさらに前記プログラムの選択時のユーザの状態に関する情報を取得し、その情報に基づいて、前記プログラムを選択することを特徴とする請求項1または請求項2のシステム。
【請求項4】
前記システムは前記ユーザの前記プログラムの実施状況に関する情報および/または前記プログラムの実施による効果に関する情報を取得することを特徴とする請求項1または請求項2のシステム。
【請求項5】
複数のプログラムからユーザに適合するプログラムを提供するシステムに使われるデータベースであって、
前記データベースが、少なくとも、あるユーザに提供されたプログラムと、前記ユーザのそのアプリへの適性評価情報と、前記ユーザのそのアプリの実施状況に関する情報または前記ユーザがそのプログラムを実施して得られた効果に関する情報をセットとして含むデータベース。
発明の詳細な説明
【技術分野】
【0001】
この発明は、プログラムの提供システムおよびその方法に関する。
続きを表示(約 3,400 文字)
【背景技術】
【0002】
近年、スマートフォンなどの情報処理端末が進化し、ユーザの携帯するスマートフォンで多くの機能が実施されるようになってきた。また、典型的には継続的にユーザが利用することが求められるプログラム、特には心理療法を実施するための治療用のセルフケアカウンセリングモジュールなどが提供されるようになってきた。そして、継続的な利用が求められるプログラム等をユーザの情報処理端末に提供したのちに、ユーザが継続的にそのプログラムを情報処理端末を使って利用を続けるようにするための工夫が着目されている。
【0003】
特許文献1には、患者の服薬状況を記録するためのプログラムに関して継続的に記録するためにアラートを発する技術が記載されている。特許文献2には、対象者の疾患が器質性か心因性かを判断し、心因性の場合に治療用のモジュールを提供する技術が記載されている。特許文献3には、ワークの利用実績に応じてワークを切り替える技術を開示している。
【先行技術文献】
【特許文献】
【0004】
特開2021-119460広報
特許7123294
特開2023-047415
【発明の概要】
【発明が解決しようとする課題】
【0005】
特許文献1の発明では、特定のプログラムを提供し、そのプログラムの継続率を向上させるためにアラートを発して、ユーザの離脱を防ぐ技術を開示している。また特許文献2では診断結果に応じて画一的な出力を提供する技術を開示するにすぎない。しかしながら、プログラムの種類によって、対象ユーザに対して適性がない場合がある、例えば、認知行動療法に基づくカウンセリングなどでは、うつ病の認知行動療法が薬物療法と同程度の有効性(抗うつ薬の有効率は60%程度)が示されている、つまり有効性を示さない場合があり得る、また、仮にユーザがプログラムに適性を持っていた場合でも媒体としてのユーザの情報処理端末の利用状況などの特性によって適性を示さない場合がある。つまり、発明者らは、プログラムを提供するにあたり、従来のように提供されたプログラムの継続性を向上させるだけでは十分ではなく、ユーザが継続しやすいプログラムを提供しなければユーザのプログラムの継続的利用は図れない。また、特許文献3のようにいったんワークを提供してからその実施状況に応じてワークを切り替える場合、ユーザからしてみると最初に提供されたもので相性が悪かったと感じた場合はワークが変更になっても再度挑戦しようという気にならない。とくに治療用アプリなどの場合はまだその効果が広く知られていないので顕著である。本願はこれらの課題を解決することを目的としている。
【課題を解決するための手段】
【0006】
(発明1)
制御部と、ユーザの情報処理端末と、所定のプログラムを記憶する記憶部とを有し、前記制御部が、前記ユーザの情報処理端末に前記記憶部に記憶された前記所定のプログラムを提供するように制御するシステムであって、
前記制御部は、
前記ユーザの前記プログラムに対する適性と前記ユーザの情報処理端末に対する適性に関する情報を取得し、
前記情報に応じて、前記所定のプログラムを選択して、前記記憶部から前記情報処理端末に提供することを特徴とするシステム。
(発明2)
制御部と、ユーザの情報処理端末と、所定のメンタルヘルスケア用プログラムを記憶する記憶部とを有し、前記制御部が、前記ユーザの情報処理端末に前記記憶部に記憶された前記プログラムを提供するように制御するシステムであって、
前記制御部は、
前記ユーザの前記プログラムに対する適性と前記ユーザの情報処理端末に対する適性に関する情報を取得し、
前記情報に応じて、前記所定のプログラムを選択して、前記記憶部から前記情報処理端末に提供することを特徴とするシステム。
(発明3)
前記システムはさらに前記プログラムの選択時のユーザの状態に関する情報を取得し、その情報に基づいて、前記プログラムを選択することを特徴とする発明1または発明2のシステム。
(発明4)
前記システムは前記ユーザの前記プログラムの実施状況に関する情報および/または前記プログラムの実施による効果に関する情報を取得することを特徴とする請求項1または請求項2のシステム。
(発明5)
複数のプログラムからユーザにあったプログラムを提供するシステムに使われるデータベースであって、
前記データベースが、少なくとも、あるユーザに提供されたプログラムと、前記ユーザのそのアプリへの適性評価情報と、前記ユーザのそのアプリの実施状況に関する情報または前記ユーザがそのプログラムを実施して得られた効果に関する情報をセットとして含むデータベース。
【発明の効果】
【0007】
本発明のシステムおよび方法によれば、ユーザが継続的に提供するプログラムを実行するようになり、プログラムの意図する効果を向上することができる。
【図面の簡単な説明】
【0008】
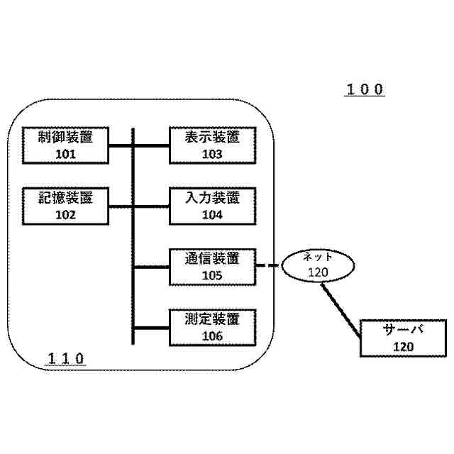
本発明のシステムを示す概念図である。
本発明で用いるアプリとアプリの属性の対応例を示す図である。
本発明のヘルスケアアプリの動作フローと入力例を示す図である。
本発明の提供プログラムの選択フロー(アルゴリズム)を示した図である。
本発明で用いるデータベースの一例を示した図である。
【発明を実施するための形態】
【0009】
本発明は、プログラムを提供するにあたり、ユーザの提供プログラムへの適性およびユーザが利用する媒体としての情報処理端末の利用状況などの適性を考慮して提供するプログラム自体を選択、修正、変更、することが必要であるという知見に基づく。
(本発明のヘルスケアシステムの構成)
本発明の一実施形態として、PC、ノートパソコンや、典型的にはスマホやタブレットなどの利用者の情報処理端末にインストールされたプログラムを挙げる。情報処理端末110は、ヘルスケアプログラムを制御する制御装置101、記憶装置102、液晶モニタなどの表示装置103、タッチパネルやキーボードなどの入力装置104、外部ネットワークとの通信用の通信装置105、バイタルデータを測定する測定装置106等を備える。また、情報処理端末110とインターネットや無線接続あるいは優先接続などのネットワークであるネット120を介して、腕時計型、イヤホン型、バンド型、身体貼付型などのウェアラブル端末や、トイレなどに設置された血糖値測定装置、スマートミラーに搭載された撮像装置などの据え置き型測定器である測定装置116を情報処理端末に内蔵された測定装置106に代えて用いても良い。また、本実施例では情報処理端末にプログラムや必要なデータ等を情報処理端末110に収容してスタンドアローンで動作するシステムを例に挙げているが、ネット120を介してサーバ120と接続し、サーバ120と情報処理端末110のそれぞれにプログラムやデータを分散、あるいは、サーバ120にプログラムやデータを集約し、情報処理端末は単なる入出力装置として利用することも可能である。
【0010】
測定装置106の例としてはバイタルデータを測定できるデバイスが利用可能である。バイタルデータの例として以下に歩行速度と心拍数、通話の測定を例に挙げるがこれに限定されるものではなく、体温上昇、皮膚の電気抵抗の変化、血圧変化、血流量変化、睡眠時間、体重、歩数、活動量やその他の当業者に周知の様々なバイタルデータが本発明で利用できることは言うまでもない。また、バイタルデータの測定として、測定装置106が対象者が意識することなく測定可能なバイタルデータ、歩行速度や、対話の分析、トイレ利用時の血糖値測定、洗面所のスマートミラー内蔵撮像素子による心拍測定などのパッシブなデータであると特に都合が良い。さらに常時駆動として無意識状態の測定ができると都合がよい。
(【0011】以降は省略されています)
この特許をJ-PlatPat(特許庁公式サイト)で参照する
関連特許
キラル株式会社
ヘルスケアシステム
28日前
キラル株式会社
ヘルスケアシステム
28日前
キラル株式会社
ヘルスケアアプリの情報提供システム
1か月前
キラル株式会社
プログラムの提供システムおよびその方法
1か月前
キラル株式会社
心理療法を提供するシステムおよびその方法
28日前
キラル株式会社
心理療法を提供するシステムおよびその方法
28日前
キラル株式会社
健康関連情報を利用するアプリのプラットフォームシステム
1か月前
キラル株式会社
メンタルヘルスのセルフケアあるいは治療支援用プログラムおよびシステム
28日前
キラル株式会社
メンタルヘルスのセルフケアあるいは治療支援用プログラムおよびシステム
28日前
キラル株式会社
ストレス関連疾患またはストレスに起因するメンタル不調のセルフケアシステム
28日前
キラル株式会社
ストレス関連疾患またはストレスに起因するメンタル不調のセルフケアシステム
28日前
キラル株式会社
ストレス関連疾患またはストレスに起因するメンタル不調のセルフケアシステム
28日前
キラル株式会社
ストレス関連疾患またはストレスに起因するメンタル不調のセルフケアシステム
28日前
キラル株式会社
ストレス関連疾患またはストレスに起因するメンタル不調のセルフケアシステム
28日前
個人
医療のAI化
2か月前
個人
支援システム
6か月前
個人
管理装置
5か月前
個人
対話システム
5か月前
個人
通知ぬいぐるみAIシステム
2か月前
キラル株式会社
ヘルスケアシステム
28日前
キラル株式会社
ヘルスケアシステム
28日前
個人
情報システムおよび方法
7か月前
株式会社タカゾノ
薬剤秤量装置
3か月前
株式会社タカゾノ
薬剤秤量装置
20日前
株式会社タカゾノ
薬剤秤量装置
3か月前
株式会社タカゾノ
薬剤秤量装置
3か月前
株式会社タカゾノ
薬剤秤量装置
3か月前
株式会社タカゾノ
薬剤秤量装置
3か月前
株式会社タカゾノ
薬剤秤量装置
5か月前
株式会社リコー
投薬管理システム
2か月前
TOTO株式会社
健康管理システム
1か月前
個人
診療の管理装置及び診療システム
3か月前
ゾーン株式会社
コンピュータシステム
6か月前
株式会社M-INT
情報処理システム
7か月前
株式会社サンクスネット
情報提供システム
5か月前
株式会社CureApp
プログラム
4か月前
続きを見る
他の特許を見る