TOP
|
特許
|
意匠
|
商標
特許ウォッチ
Twitter
他の特許を見る
10個以上の画像は省略されています。
公開番号
2025159920
公報種別
公開特許公報(A)
公開日
2025-10-22
出願番号
2024062784
出願日
2024-04-09
発明の名称
ストレス関連疾患またはストレスに起因するメンタル不調のセルフケアシステム
出願人
キラル株式会社
代理人
主分類
G16H
20/70 20180101AFI20251015BHJP(特定の用途分野に特に適合した情報通信技術)
要約
【課題】ストレス関連疾患またはストレスに起因するメンタル不調のセルフケアシステムを提供する。
【解決手段】ネットワークシステム100は、アクセプタンスアンドコミットメントセラピーまたはマインドフルネスに基づく心理療法を実行する少なくとも3つのプロセスのワークセットと、少なくとも3つのプロセスのそれぞれの習熟度を評価するための評価尺度と、システムを制御するための制御プログラムとを記憶し、制御プログラムを実行するサーバ130と、ユーザが当該システムを実行するための情報処理端末110と、からなり、制御プログラムは、ユーザに対して情報処理端末を介した評価尺度の実行を促し、評価尺度の評価結果に基づいて、3つのプロセスの少なくとも一つを実行し、所定のワークを情報処理端末を介してユーザに提供する。
【選択図】図1
特許請求の範囲
【請求項1】
ストレス関連疾患またはストレスに起因するメンタル不調のセルフケアのためのシステムであって、
前記システムは、
アクセプタンスアンドコミットメントセラピーまたはマインドフルネスに基づく心理療法を実行する、少なくとも3つのプロセスのワークセットと、
前記少なくとも3つのプロセスのそれぞれの習熟度を評価するための評価尺度と、
システムを制御するための制御プログラムとを記憶し、前記制御プログラムを実行するサーバと、
ユーザが当該システムを実行するための情報処理端末とからなり、
前記制御プログラムはユーザに対して前記情報処理端末を介した評価尺度の実行を促し、評価尺度の評価結果に基づいて、3つのプロセスの少なくとも一つを実行し、所定のワークを前記情報処理端末を介してユーザに提供するシステム。
続きを表示(約 1,800 文字)
【請求項2】
前記所定のワークが終了後、再度、前記制御プログラムはユーザに対して前記情報処理端末を介した評価尺度の実行を促し、評価尺度の評価結果に基づいて、前記少なくとも3つのプロセスの少なくとも一つを実行し、所定のワークを前記情報処理端末を介してユーザに提供する請求項1のシステム。
【請求項3】
前記システムが前記少なくとも3つのプロセスの実行で改善される状態を評価する評価尺度をさらに記憶し、前記評価尺度の評価値が所定の値になるまで、前記少なくとも3つのプロセスの評価および実行を繰り返す、請求項1または請求項2のシステム。
【請求項4】
前記システムが前記少なくとも3つのプロセスの少なくとも一つの疾患の症状を改善するための修正を施されたワークセットを記録しており、所定のタイミングで前記修正されたワークセットを情報処理端末を介してユーザに提供する請求項1または請求項2のシステム。
【請求項5】
前記システムがさらに疾患の症状を改善する心理学に基づくモジュールを記録しており、所定のタイミングで前記モジュールを情報処理端末を介してユーザに提供する請求項4のシステム。
【請求項6】
前記ワークセットにユーザーが考案したワークを追加して記憶し、ワークセットを更新する機能を有する請求項1ないし請求項5のシステム。
【請求項7】
ストレス関連疾患またはストレスに起因するメンタル不調のセルフケアのためのシステムであって、
ストレス対処のための体系的な心理療法を実施する複数のテーマに対応したそれぞれのストレス対処ワークセットと、
疾患特異的な症状を緩和するための少なくとも一つの症状緩和ワークセットと、
前記ストレス対処ワークセットと前記症状緩和ワークセットとの実施スケジュールを調整するスケジュール管理機能とを含むサーバと、
前記システムを利用するためのユーザの情報処理端末と、からなるセルフケア用のシステム。
【請求項8】
ストレス関連疾患またはストレスに起因するメンタル不調のセルフケアのためのシステムであって、
前記システムは、
ストレス対処のための体系的な心理療法を実施する複数のテーマに対応したそれぞれのストレス対処ワークセットと、
複数の疾患特異的な症状を緩和するための少なくとも一つの症状緩和ワークセットと、
前記ストレス対処ワークセットと前記症状緩和ワークセットとの実施スケジュールを調整するスケジュール管理機能と、
ユーザの日々の状態の項目とを記録するカレンダー機能と、
前記複数のテーマの習熟度を評価するための評価尺度と、
前記ユーザの生物心理社会的要因と、少なくとも、複数の疾患特異的症状、カレンダー機能を使って記録する項目、前記評価尺度のパラメータとのいずれかとの対応関係を記録したリストと、を含むサーバと、
前記ユーザが前記システムを利用するための情報処理端末と、からなり、
前記ユーザの生物心理社会的要因を取得し、前記リストに対応したパラメータをシステムに設定して、ユーザがそのシステムを利用する、システム。
【請求項9】
ストレス関連疾患またはストレスに起因するメンタル不調の介入方法を探索するシステムであって、
前記システムは、
アクセプタンスアンドコミットメントセラピーまたはマインドフルネスに基づく心理療法を実行する、少なくとも3つのプロセスのワークセットと、
前記少なくとも3つのプロセスのそれぞれの習熟度を評価するためのプロセス評価尺度と、
ストレス関連疾患またはストレスに起因するメンタル不調の重症度を評価するための疾患評価尺度と、
システムを制御するための制御プログラムとを記憶し、前記制御プログラムを実行するサーバと、
ユーザが当該システムを実行するための情報処理端末とからなり、
前記制御プログラムは、ユーザに対して前記情報処理端末を介して、それぞれのプロセスを提供し、それぞれのプロセスの実行の前後に、前記プロセス評価尺度と前記疾患評価尺度の実行を促し、前記プロセス評価尺度と前記疾患評価尺度の評価結果のプロセスの実行前と実行後の比較から当該疾患に効果的なプロセスを抽出するシステム。
発明の詳細な説明
【技術分野】
【0001】
本発明は、ストレス関連疾患またはストレスに起因するメンタル不調のセルフケア支援用プログラムおよびシステムに関するものである。
続きを表示(約 7,200 文字)
【背景技術】
【0002】
心理的・社会的ストレスから生じる病気や、ストレスによって経過が悪くなると考えられる病気をストレス関連疾患と呼ぶ。ストレス関連疾患は心身症とも呼ばれ、 ストレス反応が改善されずに慢性化していくと、メンタルヘルス面での疾患だけでなく、身体面での疾患に至ることがある。ストレス関連疾患のメンタルヘルス面での疾患は、自律神経失調症、うつ病、不安障害、パニック障害、適応障害、アルコール依存症、薬物依存症、摂食障害、過敏性腸症候群、突発性難聴、神経症、片頭痛、不眠症、緊張性頭痛、ストレス関連身体疾患(心身症)としては胃・十二指腸潰瘍、本態性高血圧症、心臓神経症、気管支喘息,過喚起症候群、本態性高血圧症,冠動脈疾患(狭心症,心筋梗塞)、胃・十二指腸潰瘍,潰瘍性大腸炎,心因性嘔吐、単純性肥満症,糖尿病、筋収縮性頭痛,痙性斜頚,書痙、慢性蕁麻疹,アトピー性皮膚炎,円形脱毛症、慢性関節リウマチ,腰痛症、夜尿症,心因性インポテンス、眼精疲労,本態性眼瞼痙攣、メニエール病、顎関節症、PMS/PMDDなどが挙げられる。そして、これらのメンタルヘルス面に起因する疾患については心理療法が用いられている。
【0003】
心因性疾患を治療するための治療用アプリに関する技術として、次に述べる技術が知られている。特許文献1には、ユーザの症状に基づいて患者のタイプ分けを行い、そのタイプごとに異なる心理療法に基づく治療を提供する技術を開示している。特許文献2には、PMSメモリに記憶された症状に基づいて患者のタイプ分けを行い、そのタイプごとに異なる心理療法に基づく治療を提供する技術を開示している。引用文献3には、禁煙患者から禁煙に関する解釈情報を取得して、その正誤を判断して、誤答の場合に誤った解釈を正すための認知行動療法情報を提供する技術を開示している。引用文献4には、ユーザの就寝時刻、入眠時刻、覚醒時刻、起床時刻に関する情報に基づいてユーザに催告メッセージを提示して眠気テストの実施を促す技術を開示するものである。引用文献5には、患者の精神状態を取得して、その情報を、精神状態を改善させるための情報の提供方法が算出されるように機械学習させた学習済みモデルに入力し、患者の精神状態を改善させるための情報を利用者に提供する技術を開示したものである。
【先行技術文献】
【特許文献】
【0004】
特開2022-042008号公報
特許第7138839号公報
特許第6116769号公報
特許第6245781号公報
特開2022-042008号公報
【発明の概要】
【発明が解決しようとする課題】
【0005】
従来の技術はいずれも患者の症状に対処する治療モジュールを提供するものである。特許文献1および特許文献2では、症状に基づいてアセスメントをおこないタイプ分けを行っているが、症状の要因となっている患者のストレス対処能力を患者に習得させるものではない。特許文献2、特許文献3および特許文献4では特定の疾患の症状を緩和するための情報を提供するものでストレス対処能力を患者に習得させるものではない。前述のように従来の治療用アプリは特定の症状に着目し、その根本原因となっている患者のストレス対処能力の改善法を提供するものではなかった。結果として、ストレスから生じた様々の疾患の症状の緩和のみを提供するもので、症状の根本的な改善につながるものではなかった。これらの対症療法的な治療用アプリの奏効率は20-60%程度と必ずしも高いものではないと発明者らは推測している。この原因として、ストレス自体に対する対処法が十分に身につかずに症状の原因が改善されないこと、治療用アプリに対する患者の考え方や理解の不足などが原因と考えられる。
【0006】
本発明の一つの課題は、ストレス関連疾患またはストレスに起因するメンタル不調のセルフケアによる緩和・改善あるいは習慣改善のトレーニングを手軽に、かつ安全に可能とし、従来の治療用アプリの欠点を改善したセルフメンタルケアシステムを提供することにある。本発明の二つ目の課題は、従来のアプリは、従来の心理療法のように段階を踏んでカリキュラムを提供する書籍のようなもので実際にICTの利点を生かしたものでもなかった。本発明の三つ目の課題は、特定のストレス関連疾患のセルフメンタルケアシステムを提供することである。
【課題を解決するための手段】
【0007】
(発明0)
ストレス関連疾患またはストレスに起因するメンタル不調のセルフケアのためのシステムであって、
前記システムは、
心理療法を実行する、少なくとも2つのプロセスのワークセットと、
前記少なくとも2つのプロセスのそれぞれの習熟度を評価するための評価尺度と、
システムを制御するための制御プログラムとを記憶し、前記制御プログラムを実行するサーバと、
ユーザが当該システムを実行するための情報処理端末とからなり、
前記制御プログラムはユーザに対して前記情報処理端末を介した評価尺度の実行を促し、評価尺度の評価結果に基づいて、2つのプロセスの少なくとも一つを実行し、所定のワークを前記情報処理端末を介してユーザに提供するシステム。
多くの心理療法の情報処理端末を介したシステムは、心理教育・疾患教育のパートと、実際のエクササイズのパートに分かれている。本発明では、これらを分離してそれぞれを独立に評価し、一定水準に達していない場合に再度ユーザにそのパートを実行を促すことができる。
(発明1)
ストレス関連疾患またはストレスに起因するメンタル不調のセルフケアのためのシステムであって、
前記システムは、
アクセプタンスアンドコミットメントセラピーまたはマインドフルネスに基づく心理療法を実行する、少なくとも3つのプロセスのワークセットと、
前記少なくとも3つのプロセスのそれぞれの習熟度を評価するための評価尺度と、
システムを制御するための制御プログラムとを記憶し、前記制御プログラムを実行するサーバと、
ユーザが当該システムを実行するための情報処理端末とからなり、
前記制御プログラムはユーザに対して前記情報処理端末を介した評価尺度の実行を促し、評価尺度の評価結果に基づいて、3つのプロセスの少なくとも一つを実行し、所定のワークを前記情報処理端末を介してユーザに提供するシステム。
本発明によれば、パッケージ化に適したACTまたはマインドフルネスの要素技法を評価可能な単位に分けて実行し、その単位で評価し、また結果によって繰り返し、特定の技法を自動的に実施できるので情報処理システムの特性を生かした新しいメンタルセルフケアの方法を提供可能とするものである。
(発明2)
前記所定のワークが終了後、再度、前記制御プログラムはユーザに対して前記情報処理端末を介した評価尺度の実行を促し、評価尺度の評価結果に基づいて、前記少なくとも3つのプロセスの少なくとも一つを実行し、所定のワークを前記情報処理端末を介してユーザに提供する発明1のシステム。
本発明によれば、ユーザの習熟度の低いワークを繰り返し提供することが可能でユーザの習熟度を自動的に向上することができる。
(発明3)
前記システムが前記少なくとも3つのプロセスの実行で改善される状態を評価する評価尺度をさらに記憶し、前記評価尺度の評価値が所定の値になるまで、前記少なくとも3つのプロセスの評価および実行を繰り返す、発明1または発明2のシステム。
たとえば、疾患の重症度や心理的柔軟性を評価する尺度を定期的に実行させ、疾患が改善あるいは、ストレス対処能力が身につくまで自動的にプログラムを実行することができる。
(発明4)
前記システムが前記少なくとも3つのプロセスの少なくとも一つの疾患の症状を改善するための修正を施されたワークセットを記録しており、所定のタイミングで前記修正されたワークセットを情報処理端末を介してユーザに提供する発明1または発明2のシステム。
疾患用にカスタマイズされたプロセスのワークを追加で設けることで飛躍的にプロセスの効果を高めることができる
(発明5)
前記システムがさらに疾患の症状を改善する心理学に基づくモジュールを記録しており、所定のタイミングで前記モジュールを情報処理端末を介してユーザに提供する発明4のシステム。
ストレス対処用のモジュールとは別の心理学に基づくワークを追加で設けることで飛躍的にプロセスの効果を高めることができる
(発明6)
前記ワークセットにユーザーが考案したワークを追加して記憶し、ワークセットを更新する機能を有する発明1ないし発明5のシステム。
ユーザ参加型とすることでユーザが継続的にシステムを利用するようになる。
(発明7)
ストレス関連疾患またはストレスに起因するメンタル不調のセルフケアのためのシステムであって、
ストレス対処のための体系的な心理療法を実行する複数のテーマに対応したそれぞれのストレス対処ワークセットと、
疾患特異的な症状を緩和するための少なくとも一つの症状緩和ワークセットと、
前記ストレス対処ワークセットと前記症状緩和ワークセットとの実施スケジュールを調整するスケジュール管理機能とを含むサーバと、
前記システムを利用するためのユーザの情報処理端末と、からなるセルフケア用のシステム。
基本的なストレス対処法を身につけるパートと、疾患に特異的な症状の対処法を実行するパートとを持つことで疾患特異的なパートだけによるセルフケアよりも飛躍的に効果を高めることができる。また、それぞれの進度を調整することでさらに効果が高まる。
(発明8)
ストレス関連疾患またはストレスに起因するメンタル不調のセルフケアのためのシステムであって、
前記システムは、
ストレス対処のための体系的な心理療法を実施する複数のテーマに対応したそれぞれのストレス対処ワークセットと、
複数の疾患特異的な症状を緩和するための少なくとも一つの症状緩和ワークセットと、
前記ストレス対処ワークセットと前記症状緩和ワークセットとの実施スケジュールを調整するスケジュール管理機能と、
ユーザの日々の状態の項目とを記録するカレンダー機能と、
前記複数のテーマの習熟度を評価するための評価尺度と、
前記ユーザの生物心理社会的要因と、少なくとも、複数の疾患特異的症状、カレンダー機能を使って記録する項目、前記評価尺度のパラメータとのいずれかとの対応関係を記録したリストと、を含むサーバと、
前記ユーザが前記システムを利用するための情報処理端末と、からなり、
【発明の効果】
【0008】
本発明のセルフメンタルケアシステムによれば、ストレス関連疾患を予防・改善するためのストレス対処能力を高めることが可能で、そのうえで、ストレス関連疾患に特徴的な症状の緩和を図るので効果的で永続的な改善が期待できる。また、ストレス対処能力が高まるので特定の疾患の改善だけでなく、副次的に現れる、抑うつ症状や不安症状の改善といった副次的な効果を得ることもできる。さらに、セルフメンタルケアのエクササイズがテーマに沿ったワークセットとして提供され、さらに、そのテーマごとに評価を行い、習熟度が低い場合には再度同じワークセットを繰り返すようにし、情報処理端末の特性を生かして、自動的にユーザのセルフメンタルケアを行える。また、そのテーマをACTまたはマインドフルネスのコアプロセスになぞらえることによって、さらに効率的にセルフケアプロセスを実施・評価することができる。
【図面の簡単な説明】
【0009】
本発明のシステムを示す概念図である。
本発明の実施例のPMSメモリの(a)ユーザのパーソナルデータのデータベースの一例、(b)入力画面の一例を示す図である。
本発明の実施例の睡眠日誌の(a)ユーザのパーソナルデータのデータベースの一例、(b)入力画面の一例を示す図である。
本発明の実施例の疼痛日誌のユーザのパーソナルデータのデータベースの一例を示す図である。
本発明の実施例の疼痛日誌の入力画面の一例を示す図である。
本発明のシステムの(a)制御プログラムの機能ブロック、(b)制御のフローを示す図である。
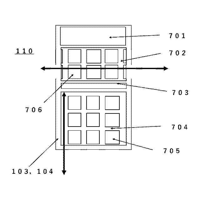
本発明の実施例のシステムのユーザ画面の一例を示す図である。
本発明のセルフケアシステムに含まれるプログラムで用いられる疾患と介入プログラムの対応関係を示すリストである。
本発明のプラットフォームのユーザの生物心理社会的要因とプラットフォームの要件の対応関係を示すリストである。
【発明を実施するための形態】
【0010】
本発明はストレス関連疾患やストレスに起因するメンタル不調のセルフケアシステムにおいて、ストレス関連疾患やストレスに起因するメンタル不調からもたらされる対症的改善提案だけでなく、根本原因となるストレス対処法を身に着けることによって対症的改善提案の効果が向上するという知見に基づく。さらには、ストレス対処法と対症的改善提案の内容や提供時期を関連付けることによってさらに効果を高めることができる。
(セルフケアアプリを含むシステムの構成)
本発明の一実施形態として、インターネット上に設置されたネットワークシステムにインストールされたプログラムを挙げる。ネットワークシステムは、サーバやクラウド上の大容量の記憶装置を備え、ノートパソコンやスマートフォン、タブレットなどのユーザ端末がインターネットを介して接続されたサーバであり、このサーバ装置は、本実施形態に係るプログラムを実行することで、ユーザ端末とのデータ通信を通じて、ユーザ端末から入力された情報や、サーバの記憶装置に格納されている情報を用いてユーザ端末を介してユーザにストレス関連疾患の治療や緩和、セルフケアを可能とする治療用アプリ、セルフメンタルヘルスケアアプリやストレス関連疾患に関わる疾患教育等の各種情報を提供するものである。また、本システムはサーバとユーザ端末が協同して利用者、患者の症状を改善する例として示したが、すべての要素をサーバ側だけに保持し、ユーザ端末は情報入出力と情報表示のためだけに用いるシステム、あるいは、必要なデータやプログラムをユーザ端末にダウンロードして、すべての処理をユーザ端末で実行できるシステムや、ユーザーがアクセスできるウェブページでの提供も本発明の範囲に含まれる。
図1にユーザ端末110とサーバ106を含むネットワークシステム100の構成の概略を示した。ユーザ端末110は、インターネット120を介してサーバ130と通信するための通信装置105、個人情報や、データ、プログラムを記録するための記憶装置102、表示装置103、ユーザからの入力を受け付ける入力装置104、これらの制御を行う制御装置101などを含む。サーバ130には、インターネット120を介してユーザ端末110と通信するための通信装置131、大容量の記憶装置133、および制御装置132などが含まれる。制御装置132には、通信装置131を介してユーザ端末110と通信するための通信制御プログラムが実装されているとともに、記憶装置133に構築されたデータベースを管理するプログラムと、ユーザの現在または過去の症状・状態を記録した症状の記録(日誌)を管理する専用のプログラム(以下、症状日誌プログラムとも言う)や、セルフケアアプリや治療用アプリのサーバ側プログラム、セルフケアアプリや治療用アプリの治療用のモジュールであるワークや疾患教育の動画などのデータが格納されている。そして、サーバ側の制御プログラムは、ユーザ側のセルフケアアプリ・治療用アプリと連携して診断・治療・緩和・改善・維持またはセルフケアを実行し、制御装置132がセルフケア、治療に必要な情報を通信制御プログラムやデータベース管理プログラムと連携させながらユーザ端末に提供する。それによってサーバ130による診断・治療・緩和・改善・維持あるいはセルフケアがユーザに提供される。この例ではセルフケア・治療用アプリはサーバ側部分とユーザ端末側部分に分けられ、診断・治療・緩和・改善・維持またはセルフケアが実行される例を示すが、必要なプログラム・データ等をすべてユーザ端末110にダウンロードし、ユーザ端末110で独立して実行できる構成としてもよい。または、ユーザー端末110は入力手段および表示手段としてのみ機能し、サーバ130はユーザ端末110からの入力、例えば専用のウェブページを介した、に基づいてプログラムを実行するように構成してもよい。
(【0011】以降は省略されています)
この特許をJ-PlatPat(特許庁公式サイト)で参照する
関連特許
キラル株式会社
ヘルスケアシステム
28日前
キラル株式会社
ヘルスケアシステム
28日前
キラル株式会社
ヘルスケアアプリの情報提供システム
1か月前
キラル株式会社
プログラムの提供システムおよびその方法
1か月前
キラル株式会社
心理療法を提供するシステムおよびその方法
28日前
キラル株式会社
心理療法を提供するシステムおよびその方法
28日前
キラル株式会社
健康関連情報を利用するアプリのプラットフォームシステム
1か月前
キラル株式会社
メンタルヘルスのセルフケアあるいは治療支援用プログラムおよびシステム
28日前
キラル株式会社
メンタルヘルスのセルフケアあるいは治療支援用プログラムおよびシステム
28日前
キラル株式会社
ストレス関連疾患またはストレスに起因するメンタル不調のセルフケアシステム
28日前
キラル株式会社
ストレス関連疾患またはストレスに起因するメンタル不調のセルフケアシステム
28日前
キラル株式会社
ストレス関連疾患またはストレスに起因するメンタル不調のセルフケアシステム
28日前
キラル株式会社
ストレス関連疾患またはストレスに起因するメンタル不調のセルフケアシステム
28日前
キラル株式会社
ストレス関連疾患またはストレスに起因するメンタル不調のセルフケアシステム
28日前
個人
支援システム
6か月前
個人
医療のAI化
2か月前
個人
管理装置
5か月前
個人
対話システム
5か月前
個人
通知ぬいぐるみAIシステム
2か月前
キラル株式会社
ヘルスケアシステム
28日前
キラル株式会社
ヘルスケアシステム
28日前
株式会社タカゾノ
薬剤秤量装置
3か月前
株式会社タカゾノ
薬剤秤量装置
3か月前
株式会社タカゾノ
薬剤秤量装置
3か月前
株式会社タカゾノ
薬剤秤量装置
3か月前
株式会社タカゾノ
薬剤秤量装置
5か月前
株式会社タカゾノ
薬剤秤量装置
3か月前
株式会社タカゾノ
薬剤秤量装置
20日前
株式会社リコー
投薬管理システム
2か月前
TOTO株式会社
健康管理システム
1か月前
個人
診療の管理装置及び診療システム
3か月前
株式会社M-INT
情報処理システム
7か月前
ゾーン株式会社
コンピュータシステム
6か月前
株式会社CureApp
プログラム
4か月前
株式会社サンクスネット
情報提供システム
5か月前
株式会社ユニオン
健康関連情報管理装置
今日
続きを見る
他の特許を見る