TOP
|
特許
|
意匠
|
商標
特許ウォッチ
Twitter
他の特許を見る
公開番号
2025155005
公報種別
公開特許公報(A)
公開日
2025-10-14
出願番号
2024058316
出願日
2024-03-30
発明の名称
健康関連情報を利用するアプリのプラットフォームシステム
出願人
キラル株式会社
代理人
主分類
G16H
20/30 20180101AFI20251003BHJP(特定の用途分野に特に適合した情報通信技術)
要約
【課題】健康関連情報を利用するアプリのプラットフォームシステムを提供する。
【解決手段】健康関連情報を利用する複数のアプリケーションプログラムのプラットフォームを含むシステム100であって、少なくとも、プラットフォームを制御するベース制御プログラムを搭載する制御サーバ130と、プラットフォームとネットワークを介して接続され、プラットフォームにアプリケーションプログラムを提供する外部サーバ140と、アプリケーションプログラムを利用するユーザの情報処理端末110と、を含む。ベース制御プログラムは、情報処理端末を介してユーザの健康情報を取得して第1のサーバに記憶し、プラットフォーム上に登録され、かつ、第1のサーバに記録されたユーザの健康関連情報を利用して動作する。
【選択図】図1
特許請求の範囲
【請求項1】
健康関連情報を利用する複数のアプリケーションプログラムのプラットフォームを含むシステムであって、
前記システムが、少なくとも、
前記プラットフォームを構成する、ベース制御プログラムを搭載する第1のサーバと、
前記プラットフォームとネットワークを介して接続され、アプリケーションプログラムを搭載した第2のサーバと、
前記アプリケーションプログラムを利用するユーザの情報処理端末とを含み、
前記ベース制御プログラムは前記情報処理端末を介してユーザの健康情報を取得し、前記第1のサーバに記憶し、
前記アプリケーションプログラムは前記プラットフォーム上に登録され、かつ、前記第1のサーバに記録された前記ユーザの健康関連情報を利用して動作することを特徴とするシステム。
続きを表示(約 120 文字)
【請求項2】
前記健康情報は日付情報と関連付けられた月経関連情報である請求項1のシステム。
【請求項3】
前記第2のアプリケーションプログラムは、第1のサーバとAPI接続によって接続される請求項1のシステム。
発明の詳細な説明
【技術分野】
【0001】
この発明は、健康関連情報を利用するアプリのプラットフォームシステム、特に、女性の健康情報を取得し、接続したアプリに提供するプラットフォームシステムに関する。
続きを表示(約 2,900 文字)
【背景技術】
【0002】
近年、ユーザの利便性を考慮して、複数のアプリケーションプログラムが搭載されたプラットフォームシステムが用いられるようになってきた。
【0003】
特許文献1は、複数のアプリケーションプログラム(アプリ)を統合して、ユーザが実行可能とするプラットフォーム技術を開示している。
【先行技術文献】
【特許文献】
【0004】
特許第6352214号
【発明の概要】
【発明が解決しようとする課題】
【0005】
従来のECサイトのプラットフォームはプラットフォームへ参加している企業に対して、購買情報やユーザー情報、ユーザー行動、ユーザー嗜好などの情報を提供し、効率的なユーザの購買行動を導くように情報提供を行ってきた。しかしながら、購買行動はユーザーの定常的な嗜好や行動だけでなく、ユーザーの体調などによっても大きく変化し得るものであるが従来のプラットフォームではこれらへの対応ができなかった。
【課題を解決するための手段】
【0006】
(発明1)
健康関連情報を利用する複数のアプリケーションプログラムのプラットフォームを含むシステムであって、
前記システムが、少なくとも、
前記プラットフォームを構成する、ベース制御プログラムを搭載する第1のサーバと、
前記プラットフォームとネットワークを介して接続され、アプリケーションプログラムを搭載した第2のサーバと、
前記アプリケーションプログラムを利用するユーザの情報処理端末とを含み、
前記ベース制御プログラムは前記情報処理端末を介してユーザの健康情報を取得し、前記第1のサーバに記憶し、
前記アプリケーションプログラムは前記プラットフォーム上に登録され、かつ、前記第1のサーバに記録された前記ユーザの健康関連情報を利用して動作することを特徴とするシステム。
(発明2)
前記健康情報は日付情報と関連付けられた月経関連情報である発明1のシステム。
(発明3)
前記第2のアプリケーションプログラムは、第1のサーバとAPI接続によって接続される発明1のシステム。
【発明の効果】
【0007】
本発明のシステムによれば、従来提供可能であった情報に加えて、健康情報をプラットフォームに参加する第三者サーバに提供されるので、第三者サーバではユーザの健康情報に応じた対応を行うことができる。
【図面の簡単な説明】
【0008】
本発明のシステムを示す概念図である。
本発明の月経管理機能の入力画面の例を示す図である。
本発明の画面イメージを示す概念図である。
本発明のデータフローの概念を示す図である。
本発明のプラットフォームへの登録方法の一例を示す図である。
本発明のビジネスモデルの一例を示す図である。
【発明を実施するための形態】
【0009】
本発明は、プラットフォーム上で動作するベースプログラムがユーザの健康情報をユーザの情報処理端末を介して、ユーザから取得し、そのユーザの健康情報をプラットフォームに接続するサーバのアプリケーションプログラムに提供し、そのアプリケーションプログラムはユーザの健康情報を利用して、各アプリケーションプログラムの提供内容や機能を最適化する。特に、女性の場合は、周期的に月経が訪れ、ホルモンバランスの変化により心身に種々の変化がもたらされるのでその情報を基に最適化を行えばアプリケーションプログラムの目的が高精度に達成されることになる、という発明者の知見に基づくものである。
(本発明のプラットフォームシステムの構成)
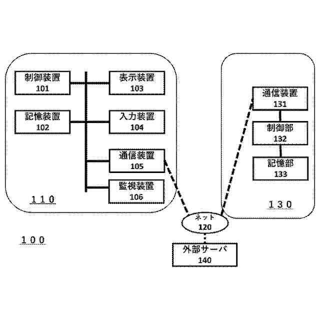
本発明の一実施形態として、PC、ノートパソコンや、典型的にはスマホやタブレットなどの利用者の情報処理端末とそれを制御するにインストールされたプログラム、情報処理端末にデータを転送するサーバとサーバを制御するプログラムが挙げられる。図1に本発明の健康プラットフォームシステムの一例を示した。情報処理端末110は、プラットフォームに含まれるプログラムを制御する制御装置101、記憶装置102、液晶モニタなどの表示装置103、タッチパネルやキーボードあるいは音声入力用のマイクなどの入力装置104、外部ネットワークとの通信用の通信装置105、ユーザの入力やバイタルデータを測定する監視装置106等を備える。監視装置106は情報処理端末内のハードウェアデバイスだけでなく、ソフトウェアやアプリケーションプログラムの機能モジュールとして導入された機能モジュールとして実現されても良い。また、情報処理端末110とインターネットや無線接続あるいは有線接続などのネットワークであるネット120を介して、腕時計型、イヤホン型、バンド型、身体貼付型などのウェアラブル端末や、トイレなどに設置された血糖値測定装置、スマートミラーに搭載された撮像装置などの据え置き型測定器である監視装置(図示しない)を情報処理端末に内蔵された監視装置106に代えて用いても良い。サーバ130はプラットフォームとして機能し、インターネット120を介して情報処理端末や外部サーバと通信する通信装置131、サーバの動作を制御する制御部132、サーバを制御し、またプラットフォームの機能を制御するプログラム、種々の機能を実現するアプリケーションプログラム、情報処理端末に送信されるコンテンツなどのデータを記憶する記憶部133からなる。外部サーバ140はサーバ130上のプラットフォームに登録されるアプリ等の機能を提供するサーバである。また、情報処理端末で実施されるアプリは情報処理端末にプログラムや必要なデータ等を情報処理端末110に収容してスタンドアローンで動作するシステムでも、ネット120を介してサーバと接続し、サーバと情報処理端末110のそれぞれにプログラムやデータを分散、あるいは、サーバにプログラムやデータを集約し、情報処理端末は単なる入出力装置として利用することも可能である。
【0010】
監視装置106の例としてはユーザの文字入力、音声入力やバイタルデータを測定できるデバイスが利用可能である。バイタルデータの例として以下に歩行速度と心拍数、通話の測定を例に挙げるがこれに限定されるものではなく、体温上昇、皮膚の電気抵抗の変化、血圧変化、血流量変化、睡眠時間、体重、歩数、活動量やその他の当業者に周知の様々なバイタルデータが本発明で利用できることは言うまでもない。また、バイタルデータの測定として、測定装置106が対象者が意識することなく測定可能なバイタルデータ、歩行速度や、対話の分析、トイレ利用時の血糖値測定、洗面所のスマートミラー内蔵撮像素子による心拍測定などのパッシブなデータであると特に都合が良い。さらに常時駆動として無意識状態での測定ができるとさらに都合がよい。
(【0011】以降は省略されています)
この特許をJ-PlatPat(特許庁公式サイト)で参照する
関連特許
キラル株式会社
ヘルスケアシステム
28日前
キラル株式会社
ヘルスケアシステム
28日前
キラル株式会社
ヘルスケアアプリの情報提供システム
1か月前
キラル株式会社
プログラムの提供システムおよびその方法
1か月前
キラル株式会社
心理療法を提供するシステムおよびその方法
28日前
キラル株式会社
心理療法を提供するシステムおよびその方法
28日前
キラル株式会社
健康関連情報を利用するアプリのプラットフォームシステム
1か月前
キラル株式会社
メンタルヘルスのセルフケアあるいは治療支援用プログラムおよびシステム
28日前
キラル株式会社
メンタルヘルスのセルフケアあるいは治療支援用プログラムおよびシステム
28日前
キラル株式会社
ストレス関連疾患またはストレスに起因するメンタル不調のセルフケアシステム
28日前
キラル株式会社
ストレス関連疾患またはストレスに起因するメンタル不調のセルフケアシステム
28日前
キラル株式会社
ストレス関連疾患またはストレスに起因するメンタル不調のセルフケアシステム
28日前
キラル株式会社
ストレス関連疾患またはストレスに起因するメンタル不調のセルフケアシステム
28日前
キラル株式会社
ストレス関連疾患またはストレスに起因するメンタル不調のセルフケアシステム
28日前
個人
支援システム
6か月前
個人
医療のAI化
2か月前
個人
管理装置
5か月前
個人
対話システム
5か月前
個人
通知ぬいぐるみAIシステム
2か月前
キラル株式会社
ヘルスケアシステム
28日前
キラル株式会社
ヘルスケアシステム
28日前
株式会社タカゾノ
薬剤秤量装置
3か月前
株式会社タカゾノ
薬剤秤量装置
3か月前
株式会社タカゾノ
薬剤秤量装置
20日前
株式会社タカゾノ
薬剤秤量装置
3か月前
株式会社タカゾノ
薬剤秤量装置
5か月前
株式会社タカゾノ
薬剤秤量装置
3か月前
株式会社タカゾノ
薬剤秤量装置
3か月前
株式会社リコー
投薬管理システム
2か月前
TOTO株式会社
健康管理システム
1か月前
個人
診療の管理装置及び診療システム
3か月前
株式会社M-INT
情報処理システム
7か月前
ゾーン株式会社
コンピュータシステム
6か月前
株式会社サンクスネット
情報提供システム
5か月前
株式会社CureApp
プログラム
4か月前
株式会社イシダ
受付端末装置
21日前
続きを見る
他の特許を見る