TOP
|
特許
|
意匠
|
商標
特許ウォッチ
Twitter
他の特許を見る
10個以上の画像は省略されています。
公開番号
2025152416
公報種別
公開特許公報(A)
公開日
2025-10-09
出願番号
2024054299
出願日
2024-03-28
発明の名称
健康管理システム
出願人
TOTO株式会社
代理人
個人
主分類
G16H
50/30 20180101AFI20251002BHJP(特定の用途分野に特に適合した情報通信技術)
要約
【課題】高精度に利用者の状態を検知する。
【解決手段】トイレ6、洗面8、キッチン9、又は浴室7を含む水回り部を有する空間における利用者5の健康を管理する健康管理システム2であって、水回り部を有する空間に設けられ、水回り部を利用する利用者5を検知する検知装置と、浴室7を有する空間に設けられ、検知装置による検知結果に基づいて、利用者5に対して所定の刺激を与える刺激装置70と、を備える。
【選択図】図1
特許請求の範囲
【請求項1】
トイレ、洗面、キッチン、又は浴室を含む水回り部を有する空間における利用者の健康を管理する健康管理システムであって、
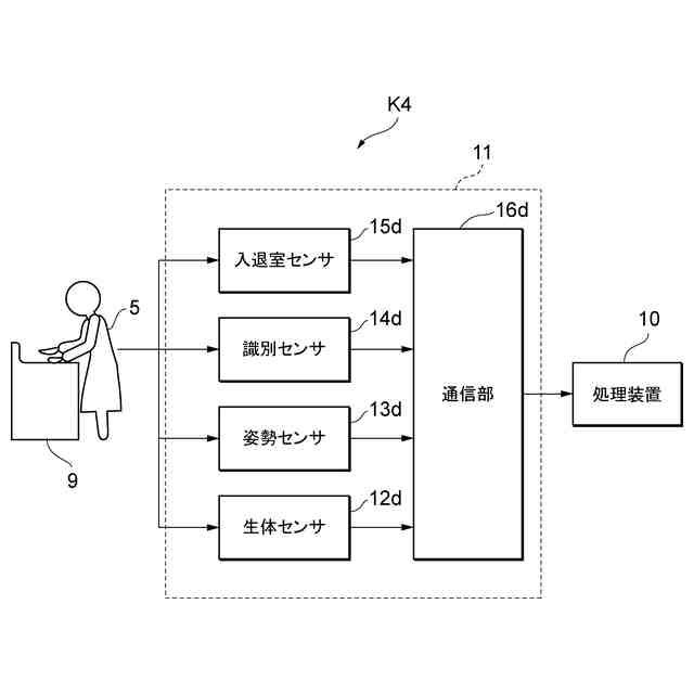
前記水回り部を有する前記空間に設けられ、前記水回り部を利用する前記利用者を検知する検知装置と、
前記浴室を有する前記空間に設けられ、前記検知装置による検知結果に基づいて、前記利用者に対して所定の刺激を与える刺激装置と、
を備える健康管理システム。
続きを表示(約 1,000 文字)
【請求項2】
前記利用者の健康状態を推定する推定部を有する処理装置、をさらに備え、
前記刺激装置は、推定された前記利用者の健康状態に基づいて、前記利用者に対して所定の刺激を与える、
請求項1に記載の健康管理システム。
【請求項3】
前記空間に設けられ、前記水回り部を利用する複数の前記利用者を識別する識別装置、をさらに備え、
前記刺激装置は、識別された前記利用者の健康状態に基づいて、前記利用者に対して所定の刺激を与える、
請求項2に記載の健康管理システム。
【請求項4】
トイレ及び浴室を含む水回り部を有する空間における利用者の健康を管理する健康管理システムであって、
前記トイレを有する前記空間に設けられ、前記トイレを利用する前記利用者を検知する検知装置と、
前記浴室を有する前記空間に設けられ、前記検知装置による検知結果に基づいて、前記利用者に対して所定の刺激を与える刺激装置と、
を備える健康管理システム。
【請求項5】
前記検知装置は、前記利用者の排泄状態を検知する、
請求項4に記載の健康管理システム。
【請求項6】
前記検知装置は、前記利用者の生体データを検知する、
請求項4に記載の健康管理システム。
【請求項7】
前記検知装置は、前記トイレ、前記洗面又は前記キッチンを含む前記水回り部を有する前記空間に少なくとも1つ設けられる、
請求項1に記載の健康管理システム。
【請求項8】
前記検知装置は、前記空間に少なくとも2つ以上設けられ、
前記推定部は、複数の前記検知装置のそれぞれの検知結果に基づいて、前記利用者の健康状態を推定する、
請求項3に記載の健康管理システム。
【請求項9】
前記検知装置は、前記トイレを有する前記空間及び前記浴室を有する前記空間に少なくとも1つずつ設けられ、
前記推定部は、複数の前記検知装置のそれぞれの検知結果に基づいて、前記利用者の健康状態を推定する、
請求項3に記載の健康管理システム。
【請求項10】
前記刺激装置は、所定の健康状態と、所定の刺激の種類とを関連付けた所定の基準と、前記推定部によって推定された前記利用者の健康状態とに基づいて、前記利用者に対して所定の刺激を与える、
請求項2に記載の健康管理システム。
(【請求項11】以降は省略されています)
発明の詳細な説明
【技術分野】
【0001】
本発明は、健康管理システムに関する。
続きを表示(約 1,200 文字)
【背景技術】
【0002】
従来から、人々の健康をサポートするためのシステムが知られていた。
【0003】
例えば、特許文献1には、手すりに設置した荷重センサや玄関の開閉センサ等、居住空間に様々なセンサを設け、利用者の状態を検知し、利用者の歩行速度や握力等を示す情報を提供情報として生成するシステムが記載されている。
【先行技術文献】
【特許文献】
【0004】
特開2021-18760号公報
【発明の概要】
【発明が解決しようとする課題】
【0005】
しかしながら、特許文献1による方法は利用者の日常の状態に対する検知を行っているが、日常生活において行う行動は多岐におよび、各行動にばらつきが発生し易い。各行動にばらつきが生じると、高精度に利用者の状態を検知することができない。
【0006】
上記課題に鑑み、本発明は、高精度に利用者の状態を検知することができる健康管理システムを提供することを目的とする。
【課題を解決するための手段】
【0007】
上記課題を解決するために、本発明の第1態様によれば、以下の健康管理システムが提供される。この健康管理システムは、トイレ、洗面、キッチン、又は浴室を含む水回り部を有する空間における利用者の健康を管理する健康管理システムであって、前記水回り部を有する前記空間に設けられ、前記水回り部を利用する前記利用者を検知する検知装置と、前記浴室を有する前記空間に設けられ、前記検知装置による検知結果に基づいて、前記利用者に対して所定の刺激を与える刺激装置と、を備える。
【0008】
この構成によれば、水回り空間において、利用者は同じ行動を行い易い傾向にあるため、水回り空間において利用者を検知することで、水回り空間以外の居住空間において利用者を検知する場合に比べ、高精度に利用者の状態を検知することが可能である。また、水回り空間における利用者の検知結果に基づき、浴室において利用者に対して刺激を与えることで、利用者の検知結果に基づかず、利用者に対して刺激を与える場合と比較して、利用者の状態に対応したより効果的な刺激を与えることが可能となる。
【0009】
また、本発明の第2態様に係る健康管理システムでは、前記利用者の健康状態を推定する推定部を有する処理装置、をさらに備え、前記刺激装置は、推定された前記利用者の健康状態に基づいて、前記利用者に対して所定の刺激を与える。
【0010】
この構成によれば、水回り部を利用する利用者の健康状態を推定することができる。また、利用者の健康状態に基づいて、所定の刺激を与えることができる。利用者の健康状態を推定しない場合と比較して、利用者の健康状態に対応したより効果的な刺激を与えることが可能となる。
(【0011】以降は省略されています)
この特許をJ-PlatPat(特許庁公式サイト)で参照する
関連特許
TOTO株式会社
洗面器
29日前
TOTO株式会社
洗面器
29日前
TOTO株式会社
吐水装置
23日前
TOTO株式会社
吐水装置
23日前
TOTO株式会社
吐水装置
23日前
TOTO株式会社
構造部材
23日前
TOTO株式会社
構造部材
23日前
TOTO株式会社
構造部材
18日前
TOTO株式会社
構造部材
18日前
TOTO株式会社
水洗大便器
22日前
TOTO株式会社
水洗大便器
22日前
TOTO株式会社
トイレ装置
25日前
TOTO株式会社
トイレ装置
29日前
TOTO株式会社
水洗大便器
22日前
TOTO株式会社
水洗大便器
22日前
TOTO株式会社
静電チャック
1か月前
TOTO株式会社
静電チャック
1か月前
TOTO株式会社
静電チャック
1か月前
TOTO株式会社
水まわり部材
23日前
TOTO株式会社
水まわり部材
23日前
TOTO株式会社
静電チャック
1か月前
TOTO株式会社
浴室システム
1か月前
TOTO株式会社
浴室システム
1か月前
TOTO株式会社
浴室システム
3日前
TOTO株式会社
排水システム
23日前
TOTO株式会社
静電チャック
1か月前
TOTO株式会社
静電チャック
1か月前
TOTO株式会社
静電チャック
1か月前
TOTO株式会社
静電チャック
1か月前
TOTO株式会社
静電チャック
29日前
TOTO株式会社
排水システム
23日前
TOTO株式会社
静電チャック
29日前
TOTO株式会社
ミスト発生装置
23日前
TOTO株式会社
水洗大便器装置
22日前
TOTO株式会社
水洗大便器装置
22日前
TOTO株式会社
水洗大便器装置
22日前
続きを見る
他の特許を見る