TOP
|
特許
|
意匠
|
商標
特許ウォッチ
Twitter
他の特許を見る
10個以上の画像は省略されています。
公開番号
2025111937
公報種別
公開特許公報(A)
公開日
2025-07-31
出願番号
2024005885
出願日
2024-01-18
発明の名称
診療の管理装置及び診療システム
出願人
個人
代理人
個人
主分類
G16H
10/00 20180101AFI20250724BHJP(特定の用途分野に特に適合した情報通信技術)
要約
【課題】スタッフの労力及び患者の待ち時間を低減しつつ、大人数で共用される待合室を介すことなく予約した患者を診療室に案内し、診療を行えるようにすること。
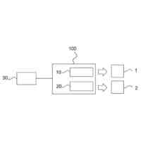
【解決手段】本発明の診療の管理装置1は、部屋2の入口21を施錠し、時間帯ごとに異なるコードで解錠される電子錠3から、予約時間帯のコードである予約コードを取得するコード取得部113、予約時間帯、予約部屋、及び予約コードを端末に送信する予約送信部114、部屋2内で提供された当該予約部屋を特定する部屋特定情報を含むチェックイン情報を患者端末Tから受信するチェックイン部116、部屋特定情報を含むチェックイン情報が受信された場合に、患者を診療する診療関係者の関係者端末Cに、部屋2で患者が待機していることを通知する通知部117等を備える。
【選択図】図1
特許請求の範囲
【請求項1】
複数の部屋それぞれの予約状況を管理する予約状況管理部と、
希望時間帯を含む予約の依頼を患者の端末から受信する予約依頼受信部と、
前記希望時間帯及び前記予約状況に基づいて、前記予約に割り当てる時間帯である予約時間帯及び前記予約時間帯に前記予約に割り当てる部屋である予約部屋を決定する予約決定部と、
前記予約部屋の入口を施錠し、時間帯ごとに異なるコードで解錠される電子錠から、前記予約時間帯のコードである予約コードを取得するコード取得部と、
前記予約時間帯、前記予約部屋、及び前記予約コードを前記端末に送信する予約送信部と、
前記予約部屋内で提供された当該予約部屋を特定する部屋特定情報を含むチェックイン情報を前記端末から受信するチェックイン部と、
前記チェックイン情報が受信された場合に、前記患者を診療する診療関係者の端末に、前記予約部屋で前記患者が待機していることを通知する通知部と、
を備える、診療の管理装置。
続きを表示(約 360 文字)
【請求項2】
複数の部屋と、
前記複数の部屋それぞれに設けられ、部屋の入口を施錠し、前記部屋及び時間帯ごとに異なるコードで解錠される電子錠と、
前記複数の部屋それぞれの室内に掲示され、当該室内に係る部屋を特定する部屋特定情報を提供する画像と、
請求項1に記載の管理装置と、
を含んで構成され、
前記電子錠は、
時間帯ごとのコードを管理するコード管理部と、
時間帯と当該時間帯のコードとが関連付けられたデータを外部に提供するコード提供部と、
コードを含む解錠指示を受信する解錠指示受信部と、
前記解錠指示に含まれるコードが現在日時の属する時間帯と関連付けられたコードである場合に前記入口を解錠する解錠部と、
を備える、
診療システム。
発明の詳細な説明
【技術分野】
【0001】
本発明は、診療の管理装置及び診療システムに関する。
続きを表示(約 2,400 文字)
【背景技術】
【0002】
病院、診療所その他の医療機関において、診療を予約した患者を大人数で共用される待合室にて待たせた後に、診療室に案内して診療する手順が行われている。しかしながら、このような手順では、患者は、ほかの患者と共に待合室で待つことになる。よって、このような手順は、患者のプライバシー確保及び感染症対策において、改善の余地がある。また、このような手順は、ほかの患者と共に待合室で待つとの負担を患者に与え得る。加えて、このような手順は、医療機関のスタッフに、待合室で待つ患者を呼び出して診療室に案内する労力を費やさせる。これらの事情により、スタッフの労力を低減しつつ、大人数で共用される待合室を介すことなく予約した患者を診療室に案内し、診療を行えるようにする技術が求められている。
【0003】
予約者を診療室等の部屋に案内して診療等のサービスを提供する技術に関し、特許文献1は、宿泊者が宿泊する客室の出入口の扉を施解錠する施解錠装置に対して設定された暗証番号である設定暗証番号の変更の入力が宿泊者によって行われた場合に、設定暗証番号の変更の入力を受け付け、宿泊者が入力した暗証番号である変更暗証番号に暗証番号を更新する等する宿泊管理システムを開示している。特許文献1に記載の技術は、利便性向上に資する宿泊管理システム等を提供し得る。
【先行技術文献】
【特許文献】
【0004】
特開2022-124266号公報
【発明の概要】
【発明が解決しようとする課題】
【0005】
ところで、医療機関において大人数で共用される待合室にて患者を待たせるのは、予約時間帯に診療を受ける患者の数より少ない人数の医師等の診療関係者が診療を行うという、医療機関における診療固有の事情によるものである。一方、特許文献1の技術は、利便性向上に資する宿泊管理システム等を提供し得るものの、あくまで宿泊を管理するシステムである。そのため、仮に、特許文献1に記載の技術を用いて患者を診療関係者が待機する診療室に案内できたとしても、その場合には、共用の待合室の代わりに出入口が施錠された共用の診療室に複数の患者が案内されることになる。よって、特許文献1に記載の技術は、大人数で共用される待合室を介すことなく予約した患者を診療室に案内し、診療を行えるようにする点において、さらなる改良の余地がある。
【0006】
本発明は、係る事情にかんがみてなされたものである。本発明の目的は、スタッフの労力及び患者の待ち時間を低減しつつ、大人数で共用される待合室を介すことなく予約した患者を診療室に案内し、診療を行えるようにすることである。
【課題を解決するための手段】
【0007】
本発明者らは、上記課題を解決するために鋭意検討した結果、時間帯ごとに異なるコードで入口が施錠された複数の部屋から予約に割り当てる部屋を決定し、予約時間帯における当該部屋のコード等を患者の端末に送信し、当該部屋に入室した患者から部屋特定情報を受信した場合に診療関係者に当該部屋で当該患者が待機していることを通知すること等によって、上記の目的を達成できることを見いだした。そして、本発明者らは、本発明を完成させるに至った。具体的に、本発明は以下のものを提供する。
【0008】
本発明は、複数の部屋それぞれの予約状況を管理する予約状況管理部と、希望時間帯を含む予約の依頼を患者の端末から受信する予約依頼受信部と、前記希望時間帯及び前記予約状況に基づいて、前記予約に割り当てる時間帯である予約時間帯及び前記予約時間帯に前記予約に割り当てる部屋である予約部屋を決定する予約決定部と、前記予約部屋の入口を施錠し、時間帯ごとに異なるコードで解錠される電子錠から、前記予約時間帯のコードである予約コードを取得するコード取得部と、前記予約時間帯、前記予約部屋、及び前記予約コードを前記端末に送信する予約送信部と、前記予約部屋内で提供された当該予約部屋を特定する部屋特定情報を含むチェックイン情報を前記端末から受信するチェックイン部と、前記チェックイン情報が受信された場合に、前記患者を診療する診療関係者の端末に、前記予約部屋で前記患者が待機していることを通知する通知部と、を備える、診療の管理装置を提供する。
【0009】
本発明は、複数の部屋それぞれの予約状況を管理し、予約時間帯に対応する暗証番号等の予約時間帯に対応するコードを電子錠から取得し、このコードを予約された部屋の情報と共に患者の端末に送信することにより、予約時間帯に重複部分がある各患者を別の部屋に案内できる。これらの部屋それぞれは、時間帯ごとに異なるコードで解錠される電子錠により施錠されている。そのため、本発明は、予約時間帯に対応する予約コードを用いて解錠する患者及び診療関係者のみが予約された部屋に入室できるよう管理できる。
【0010】
そして、本発明は、予約部屋内で提供された当該予約部屋を特定する部屋特定情報を含むチェックイン情報が予約された部屋に入室した患者の端末から送信され、管理装置において受信された場合に、診療関係者の端末に、予約部屋で前記患者が待機していることを通知する。これにより、本発明は、診療関係者の数より多い数の部屋に各患者を待機させつつ、患者がチェックインして診療が可能となったタイミングで診療関係者が当該患者の待機する部屋を訪れ、当該患者を診療することを可能とする。これにより、本発明は、予約した患者を不必要に待たせることを防げる。
(【0011】以降は省略されています)
この特許をJ-PlatPat(特許庁公式サイト)で参照する
関連特許
TOTO株式会社
健康管理システム
1日前
大和ハウス工業株式会社
服薬推定システム
1日前
キラル株式会社
プログラムの提供システムおよびその方法
4日前
アイシンクメディカル株式会社
測定機器監視システム
7日前
個人
医療機関と医療従事者とのマッチングのための情報処理システム
2日前
住友ゴム工業株式会社
モデリング方法
1日前
KDDI株式会社
情報処理装置、学習装置及びプログラム
1日前
日本電気株式会社
情報処理システム、情報処理方法、及びプログラム
1日前
日本電気株式会社
認証支援装置、システム、方法及びプログラム
1日前
株式会社日立ハイテク
計算機システムおよびデータの分析方法
2日前
日本電気株式会社
情報処理装置、情報処理方法、及び情報処理プログラム
2日前
株式会社シャノン
情報処理システム、情報処理方法及びプログラム
7日前
TOTO株式会社
トイレシステム、表示方法及び表示プログラム
1日前
日本電気株式会社
診療記録支援装置、システム、方法及びプログラム
1日前
日本電気株式会社
診断支援装置、診断支援プログラム、および診断支援方法
1日前
ファストドクター株式会社
プログラム、方法、情報処理装置
1日前
積水化学工業株式会社
情報処理システム、情報処理方法及びプログラム
3日前
TOTO株式会社
携帯情報端末の制御システム及び携帯情報端末の制御方法
3日前
フクダ電子株式会社
医療機器の管理装置およびその制御方法
1日前
ニプロ株式会社
健康管理システム、及びコンピュータプログラム
1日前
CPC株式会社
治療評価方法、治療評価装置及び治療評価プログラム
3日前
株式会社プロテリアル
初期実験データの作成方法及び実験計画方法
3日前
キヤノン株式会社
情報処理システム、情報処理方法およびプログラム
1日前
国立大学法人大阪大学
コンピュータプログラム、情報処理方法及び情報処理装置
2日前
株式会社オプテック
閲覧支援システム、閲覧支援方法及びプログラム
2日前
積水化学工業株式会社
情報処理システム、情報処理方法、プログラム及び情報処理装置
3日前
株式会社プロテリアル
材料データ処理装置、材料データ処理方法、プログラム、及び磁石の製造方法
1日前
株式会社レゾナック
複合材料の製造方法
3日前
株式会社モリタ製作所
データ処理装置、データ処理方法、およびデータ処理プログラム
7日前
日本電気株式会社
生体情報処理システム、情報処理装置、生体情報処理方法及び生体情報処理プログラム
1日前
株式会社博報堂DYホールディングス
指導システム、指導方法、及びコンピュータプログラム
3日前
大日本印刷株式会社
薬剤一包化外部委託システム,分包管理装置およびその制御プログラム
1日前
旭化成株式会社
治療支援装置、治療支援システム、治療支援方法および治療支援プログラム
1日前
株式会社プレシジョン
プログラム、情報処理装置及び方法
7日前
積水化学工業株式会社
情報処理システム、情報処理方法及びプログラム
3日前
デックスコム・インコーポレーテッド
連続血糖モニタリングに基づく提案
3日前
続きを見る
他の特許を見る