TOP
|
特許
|
意匠
|
商標
特許ウォッチ
Twitter
他の特許を見る
公開番号
2025083960
公報種別
公開特許公報(A)
公開日
2025-06-02
出願番号
2023197665
出願日
2023-11-21
発明の名称
対話システム
出願人
個人
代理人
個人
,
個人
主分類
G16H
80/00 20180101AFI20250526BHJP(特定の用途分野に特に適合した情報通信技術)
要約
【課題】ユーザの特定行動の実績に基づいて、当該ユーザの当該特定行動のモチベーションを高め、当該特定行動に至る可能性を向上させること。
【解決手段】対話システム1の対話部51は、所定のユーザと日常的に対話を行う。行動実績情報取得部52は、所定のユーザの飲水といった特定行動に係る行動実績情報を取得する。対話内容情報生成部54は、行動実績情報に基づいて、所定のユーザに特定行動にかかるモチベーションを高めるための対話内容情報を生成する。対話部51は、対話内容情報に基づいて所定のユーザへの対話を出力する。
【選択図】図4
特許請求の範囲
【請求項1】
所定のユーザと日常的に対話を行う対話手段と、
前記所定のユーザの特定行動に係る行動実績情報を取得する行動実績情報取得手段と、
前記行動実績情報に基づいて、前記所定のユーザに前記特定行動にかかるモチベーションを高めるための対話内容情報を生成する対話内容生成手段と、
を備え、
前記対話手段は、前記対話内容情報に基づいて前記所定のユーザへの対話を出力する、
対話装置。
続きを表示(約 320 文字)
【請求項2】
前記所定のユーザの特定の状態情報を取得する状態情報取得手段、
をさらに備え、
前記対話内容生成手段は、さらに前記状態情報に基づいて前記対話内容情報を生成する、
請求項1に記載の対話装置。
【請求項3】
前記対話内容生成手段は、前記行動実績情報に基づいて前記所定のユーザの特定行動の目標達成に応じてその旨を称賛する対話内容情報を生成する、
請求項1に記載の対話装置。
【請求項4】
前記行動実績情報又は前記状態情報に基づいて、前記特定行動に用いられる物品や役務の準備をする特定行動準備手段、
をさらに備える、
請求項2に記載の対話装置。
発明の詳細な説明
【技術分野】
【0001】
本発明は、対話システムに関する。
続きを表示(約 1,400 文字)
【背景技術】
【0002】
従来より、ユーザの服薬のスケジュールと、薬が取り出された量に基づいて、適切に服薬がなされているかの確認や各種情報の報知を行う技術が存在する(例えば特許文献1参照)。
【先行技術文献】
【特許文献】
【0003】
特開2006-230842号公報
【発明の概要】
【発明が解決しようとする課題】
【0004】
単にスケジュールや行動の履歴に基づいて、その行動(上記の例では服薬)について報知するに過ぎなかった。即ち、報知された後のことは、報知された人間に委ねられており、ユーザの特定の行動(以下、「特定行動」と呼ぶ)の実績に基づいて、当該ユーザの当該特定行動のモチベーションを高めるための対話を行う仕組みは提案されていなかった。
【0005】
本発明は、ユーザの特定行動の実績に基づいて、当該ユーザの当該特定行動のモチベーションを高め、当該特定行動に至る可能性を向上させることを目的とする。
【課題を解決するための手段】
【0006】
上記目的を達成するため、本発明の一態様の対話システムは、
所定のユーザと日常的に対話を行う対話手段と、
前記所定のユーザの特定行動に係る行動実績情報を取得する行動実績情報取得手段と、
前記行動実績情報に基づいて、前記所定のユーザに前記特定行動にかかるモチベーションを高めるための対話内容情報を生成する対話内容生成手段と、
を備え、
前記対話手段は、前記対話内容情報に基づいて前記所定のユーザへの対話を出力する。
【発明の効果】
【0007】
本発明によれば、ユーザの特定行動の実績に基づいて、当該ユーザの当該特定行動のモチベーションを高め、当該特定行動に至る可能性を向上させることができる。
【図面の簡単な説明】
【0008】
本発明の一実施形態に係る対話システムが適用されたサービス(以下、「本サービス」と呼ぶ)における情報の授受の概要を示す図である。
本発明の一実施形態に係る管理装置を含む情報処理システムの構成の一例を示す図である。
図2に示す情報処理システムのうちサーバのハードウェア構成の一例を示すブロック図である。
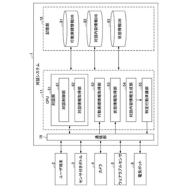
図2の情報処理システムに含まれる図3の対話システムの機能的構成の一例を示す機能ブロック図である。
図4の機能的構成を有する対話システムにより提供されるユーザインターフェースのうち、対話画面の一例を示す図である。
体内水分量の低下により発生する疾病を医療分類した図である。
【発明を実施するための形態】
【0009】
以下、本発明の実施形態について図面を用いて説明する。
【0010】
まず、本発明の実施形態の説明に先立って、飲水の重要性について説明する。人間は、体内の水分量が適当な範囲に存在しない場合、体調をくずすことが知られている。
例えば、体内の水分量が低下すると、血中の水分量が低下することで血流の悪化、細胞が脱水症状となって働きが悪くなり、細胞からなるからだの様々な不調につながり、疲労感が発生するといわれている。
(【0011】以降は省略されています)
この特許をJ-PlatPat(特許庁公式サイト)で参照する
関連特許
個人
医療のAI化
3か月前
個人
通知ぬいぐるみAIシステム
3か月前
キラル株式会社
ヘルスケアシステム
1か月前
キラル株式会社
ヘルスケアシステム
1か月前
株式会社タカゾノ
薬剤秤量装置
4か月前
キヤノン株式会社
情報処理装置
21日前
株式会社タカゾノ
薬剤秤量装置
1か月前
株式会社タカゾノ
薬剤秤量装置
4か月前
株式会社タカゾノ
薬剤秤量装置
4か月前
株式会社タカゾノ
薬剤秤量装置
4か月前
株式会社タカゾノ
薬剤秤量装置
4か月前
株式会社タカゾノ
情報処理装置
13日前
株式会社タカゾノ
情報処理装置
13日前
株式会社リコー
投薬管理システム
3か月前
TOTO株式会社
健康管理システム
2か月前
株式会社ケアコム
看護必要度分析装置
21日前
個人
診療の管理装置及び診療システム
4か月前
株式会社サンクスネット
アンケートシステム
13日前
有限会社ビルケ
問診システム及び問診用端末
8日前
株式会社ミラボ
情報処理装置、及びプログラム
4か月前
株式会社ユニオン
健康関連情報管理装置
22日前
株式会社エフアンドエフ
団体健康管理システム
今日
株式会社イシダ
受付端末装置
1か月前
歯っぴー株式会社
口内状態の画像診断方法
4か月前
ギジン株式会社
情報分析装置および情報分析方法
29日前
大和ハウス工業株式会社
服薬推定システム
2か月前
キラル株式会社
プログラムの提供システムおよびその方法
2か月前
株式会社サンクスネット
診療関連情報管理システム
13日前
株式会社サンクスネット
健康医療情報管理システム
4か月前
株式会社SECRET MEDICINE
管理装置
3か月前
キラル株式会社
心理療法を提供するシステムおよびその方法
1か月前
株会社ジョシュ
帳票の一括送信を支援する方法
21日前
キラル株式会社
心理療法を提供するシステムおよびその方法
1か月前
まちなかMEセンター株式会社
生体情報管理システム
5か月前
株式会社タカゾノ
位置登録システム及び位置登録方法
13日前
公立大学法人横浜市立大学
プログラム及び情報処理装置
4か月前
続きを見る
他の特許を見る