TOP
|
特許
|
意匠
|
商標
特許ウォッチ
Twitter
他の特許を見る
10個以上の画像は省略されています。
公開番号
2025174476
公報種別
公開特許公報(A)
公開日
2025-11-28
出願番号
2024080876
出願日
2024-05-17
発明の名称
位置登録システム及び位置登録方法
出願人
株式会社タカゾノ
代理人
個人
主分類
G16H
20/10 20180101AFI20251120BHJP(特定の用途分野に特に適合した情報通信技術)
要約
【課題】読取装置を用いて小区画を特定する場合(特に小区画の位置や大きさを変更する場合)に際して適切に対応可能なシステム又は方法を提供する。
【解決手段】位置登録システムは、読取装置と、登録部と、を備える。読取装置は、薬剤識別情報と、薬剤位置情報と、を読み取る。登録部は、読取装置による読取結果に基づいて、薬剤識別情報と薬剤位置情報とを対応付けて登録する。複数の大区画には、それぞれ大区画コードが割り当てられ、複数の小区画には、それぞれ小区画コードが割り当てられる。薬剤位置情報は、大区画コードと、小区画コードと、を含む。読取装置が読取可能な態様で小区画コードを表示する小区画コードシンボルは、当該小区画コードに対応する、保管領域の小区画とは異なる位置に設けられており、読取装置は、小区画コードシンボルから小区画コードを読み取る。
【選択図】図5
特許請求の範囲
【請求項1】
薬剤を識別するための薬剤識別情報と、前記薬剤の保管位置を示す薬剤位置情報と、を読み取る読取装置と、
前記読取装置による読取結果に基づいて、前記薬剤識別情報と前記薬剤位置情報とを対応付けて登録する登録部と、
を備え、
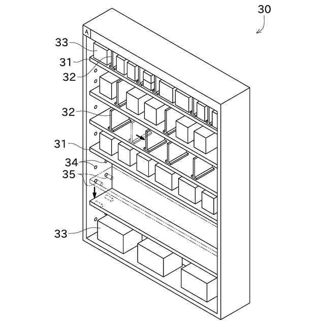
薬剤を保管する保管領域は複数の大区画に区分されており、それぞれの前記大区画は複数の小区画に区分されており、当該小区画に前記薬剤が保管され、
複数の前記大区画には、それぞれ大区画コードが割り当てられ、複数の前記小区画には、それぞれ小区画コードが割り当てられ、
前記薬剤位置情報は、前記大区画コードと、前記小区画コードと、を含み、
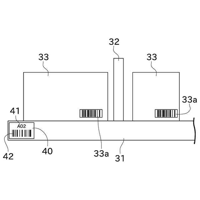
前記読取装置が読取可能な態様で前記小区画コードを表示する小区画コードシンボルは、当該小区画コードに対応する前記小区画とは異なる位置に設けられており、前記読取装置は、前記小区画コードシンボルから前記小区画コードを読み取ることを特徴とする位置登録システム。
続きを表示(約 1,100 文字)
【請求項2】
請求項1に記載の位置登録システムであって、
前記小区画コードシンボルが設けられた小区画コード表示体を用いて、前記読取装置による前記小区画コードの読取りが行われ、
前記小区画コード表示体には、複数の前記小区画にそれぞれ対応する複数の前記小区画コードシンボルが設けられていることを特徴とする位置登録システム。
【請求項3】
請求項1に記載の位置登録システムであって、
前記読取装置が読取可能な態様で前記大区画コードを表示する大区画コードシンボルが、当該大区画コードに対応する、前記保管領域の前記大区画に固定されており、前記読取装置は、前記大区画コードシンボルから前記大区画コードを読み取ることを特徴とする位置登録システム。
【請求項4】
請求項1に記載の位置登録システムであって、
前記大区画は少なくとも第1大区画と第2大区画とを含み、
前記第1大区画に属する前記小区画の前記小区画コードと、前記第2大区画に属する前記小区画の前記小区画コードと、が共通であることを特徴とする位置登録システム。
【請求項5】
請求項1に記載の位置登録システムであって、
前記読取装置が読取可能な態様で前記大区画コードを表示する大区画コードシンボルが、当該大区画コードに対応する、前記保管領域の前記大区画とは異なる位置に設けられており、前記読取装置は、前記大区画コードシンボルから前記大区画コードを読み取ることを特徴とする位置登録システム。
【請求項6】
請求項1に記載の位置登録システムであって、
大区画コードシンボルが設けられた大区画コード表示体を用いて、前記読取装置による前記大区画コードの読取りが行われ、
前記大区画コード表示体には、複数の前記大区画にそれぞれ対応する複数の前記大区画コードシンボルが設けられていることを特徴とする位置登録システム。
【請求項7】
薬剤とその保管位置を対応付けて登録する位置登録方法において、
薬剤を保管する保管領域を複数に区分する大区画に対応する大区画コードを読取装置で読み取り、
前記大区画を複数に区分する小区画に対応する小区画コードを表示する小区画コードシンボルは、当該小区画コードに対応する前記小区画とは異なる位置に設けられており、当該小区画コードシンボルから前記小区画コードを前記読取装置で読み取り、
前記薬剤を識別するための薬剤識別情報を前記読取装置で読み取り、
前記読取装置で読み取った情報に基づいて、前記薬剤識別情報と、前記大区画コードと、前記小区画コードと、を対応付けて登録することを特徴とする位置登録方法。
発明の詳細な説明
【技術分野】
【0001】
本発明は、薬剤と保管位置を対応付けて登録する技術に関する。
続きを表示(約 1,700 文字)
【背景技術】
【0002】
特許文献1は、コードリーダと端末装置を備える医薬品入庫業務支援システムを開示する。コードリーダは、医薬品の包装に付されているコードを読み取る。端末装置は、医薬品の収納場所の候補を提示して、ユーザの操作を受け付ける。端末装置は、ユーザの操作により選択された収納場所と医薬品とを関連付けてデータベースを登録する。
【先行技術文献】
【特許文献】
【0003】
特開2022-98543号公報
【発明の概要】
【発明が解決しようとする課題】
【0004】
特許文献1における収納場所は、薬剤(医薬品)を保管する位置であるため、保管位置に相当する。特許文献1に記載の保管位置は、具体的には、薬剤棚等を特定する大区画に相当する情報と、薬剤棚にある収納庫等を特定する小区画に相当する情報と、を含む。しかし、特許文献1では、医薬品入庫業務支援システムが提示した候補から保管位置を選択することが前提となる。そのため、読取装置を用いて小区画を特定する場合の取扱い(特に小区画の位置や大きさを変更する場合の取扱い)について、特許文献1には記載されていない。
【0005】
本発明は以上の事情に鑑みてされたものであり、その主要な目的は、読取装置を用いて小区画を特定する場合(特に小区画の位置や大きさを変更する場合)に際して適切に対応可能なシステム又は方法を提供することにある。
【発明の概要】
課題を解決するための手段及び効果
【0006】
本発明の解決しようとする課題は以上の如くであり、次にこの課題を解決するための手段とその効果を説明する。
【0007】
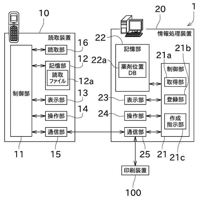
本発明の観点によれば、以下の構成の位置登録システムが提供される。即ち、位置登録システムは、読取装置と、登録部と、を備える。前記読取装置は、薬剤を識別するための薬剤識別情報と、前記薬剤の保管位置を示す薬剤位置情報と、を読み取る。前記登録部は、前記読取装置による読取結果に基づいて、前記薬剤識別情報と前記薬剤位置情報とを対応付けて登録する。薬剤を保管する保管領域は複数の大区画に区分されており、それぞれの前記大区画は複数の小区画に区分されており、当該小区画に前記薬剤が保管される。複数の前記大区画には、それぞれ大区画コードが割り当てられ、複数の前記小区画には、それぞれ小区画コードが割り当てられる。前記薬剤位置情報は、前記大区画コードと、前記小区画コードと、を含む。前記読取装置が読取可能な態様で前記小区画コードを表示する小区画コードシンボルは、当該小区画コードに対応する前記小区画とは異なる位置に設けられており、前記読取装置は、前記小区画コードシンボルから前記小区画コードを読み取る。また、本発明の別の観点によれば、上記の処理を行う位置登録方法が提供される。
【0008】
小区画コードシンボルが保管領域の小区画に固定されている場合は、小区画の位置又は大きさが変化した場合に、小区画コードシンボルを貼付し直す必要がある。この点、本発明では小区画コードシンボルが小区画とは異なる位置に設けられているため、小区画の位置又は大きさを変更する場合であっても、小区画コードシンボルの貼付し直しが不要になるため、作業性を向上できる。
【0009】
前記の位置登録システムにおいては、以下の構成とすることが好ましい。即ち、前記小区画コードシンボルが設けられた小区画コード表示体を用いて、前記読取装置による前記小区画コードの読取りが行われる。前記小区画コード表示体には、複数の前記小区画にそれぞれ対応する複数の前記小区画コードシンボルが設けられている。
【0010】
小区画コード表示体に1つの小区画コードシンボルのみが設けられる場合と比較して、小区画コード表示体の数を減らすことができるので、取扱いを容易にできる。
(【0011】以降は省略されています)
この特許をJ-PlatPat(特許庁公式サイト)で参照する
関連特許
株式会社タカゾノ
情報処理装置
1日前
株式会社タカゾノ
情報処理装置
1日前
株式会社タカゾノ
薬剤秤量装置
1か月前
株式会社タカゾノ
位置登録システム及び位置登録方法
1日前
株式会社タカゾノ
薬剤包装装置
1か月前
株式会社タカゾノ
薬剤供給装置
1か月前
株式会社タカゾノ
薬剤供給システム
1か月前
個人
医療のAI化
2か月前
個人
支援システム
6か月前
個人
管理装置
6か月前
個人
対話システム
6か月前
個人
通知ぬいぐるみAIシステム
2か月前
キラル株式会社
ヘルスケアシステム
1か月前
キラル株式会社
ヘルスケアシステム
1か月前
キヤノン株式会社
情報処理装置
9日前
株式会社タカゾノ
薬剤秤量装置
5か月前
株式会社タカゾノ
薬剤秤量装置
4か月前
株式会社タカゾノ
薬剤秤量装置
4か月前
株式会社タカゾノ
薬剤秤量装置
4か月前
株式会社タカゾノ
薬剤秤量装置
4か月前
株式会社タカゾノ
薬剤秤量装置
4か月前
株式会社タカゾノ
情報処理装置
1日前
株式会社タカゾノ
情報処理装置
1日前
株式会社タカゾノ
薬剤秤量装置
1か月前
株式会社リコー
投薬管理システム
2か月前
TOTO株式会社
健康管理システム
1か月前
株式会社ケアコム
看護必要度分析装置
9日前
個人
診療の管理装置及び診療システム
4か月前
株式会社M-INT
情報処理システム
7か月前
ゾーン株式会社
コンピュータシステム
7か月前
株式会社サンクスネット
情報提供システム
6か月前
株式会社CureApp
プログラム
4か月前
株式会社サンクスネット
アンケートシステム
1日前
株式会社イシダ
受付端末装置
1か月前
株式会社ミラボ
情報処理装置、及びプログラム
4か月前
株式会社 137
健康観察管理システム
6か月前
続きを見る
他の特許を見る