TOP
|
特許
|
意匠
|
商標
特許ウォッチ
Twitter
他の特許を見る
公開番号
2025132738
公報種別
公開特許公報(A)
公開日
2025-09-10
出願番号
2024030501
出願日
2024-02-29
発明の名称
管理装置
出願人
株式会社SECRET MEDICINE
代理人
個人
主分類
G16H
10/00 20180101AFI20250903BHJP(特定の用途分野に特に適合した情報通信技術)
要約
【課題】施設の利用者の管理の向上と管理者側のスタッフの負担軽減を両立させる管理装置を提供する。
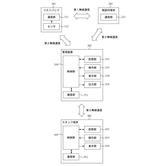
【解決手段】施設1において、管理装置301は、複数の利用者100がそれぞれ所持するウェアラブル端末の一例である複数のリストバンド101及び施設内端末201との間で通信可能であり、各リストバンド101は、各利用者の生体情報を取得して管理装置301に送信する。施設内端末201は、複数のリストバンド101との通信情報を管理装置301に送信する。管理装置301は、複数のリストバンド101から受信する生体情報を各利用者100に対応付けて格納するとともに、施設内端末201から受信する通信情報に基づいて、各利用者100の位置情報を時間に対応付けて格納し、生体情報又は位置情報の異常を検出する。
【選択図】図1
特許請求の範囲
【請求項1】
施設を利用する複数の利用者がそれぞれ所持し、各利用者から生体情報を取得する複数のウェアラブル端末と、前記施設内に設置され、前記複数のウェアラブル端末と所定の第1通信範囲内において通信可能な施設内端末との間で通信可能な管理装置であって、
前記複数のウェアラブル端末及び前記施設内端末との間で前記第1通信範囲とは異なる第2通信範囲内において通信可能な通信部と、
前記複数のウェアラブル端末から受信する各利用者の生体情報を各利用者に対応付けて格納するとともに、前記施設内端末から受信する前記複数のウェアラブル端末との通信情報に基づいて、各利用者の位置情報を時間に対応付けて格納する記憶部と、
前記生体情報又は前記位置情報の異常を検出する制御部とを備える、管理装置。
続きを表示(約 370 文字)
【請求項2】
前記制御部は、前記ウェアラブル端末と前記施設内端末との通信が開始されてからの時間に基づいて、前記位置情報の異常を検出する、請求項1に記載の管理装置。
【請求項3】
前記制御部は、前記ウェアラブル端末と前記施設内端末との通信状態が変化したことに基づいて、前記位置情報の異常を検出する、請求項1に記載の管理装置。
【請求項4】
前記複数の利用者に対してサービスを提供するサービス提供者が所持し、前記生体情報又は前記位置情報の異常を前記サービス提供者が確認可能なサービス用端末との間で通信可能である、請求項1又は2に記載の管理装置。
【請求項5】
各利用者に関する情報が前記サービス用端末に入力された場合に、当該情報を前記サービス用端末から受信して管理する、請求項4に記載の管理装置。
発明の詳細な説明
【技術分野】
【0001】
本発明は、施設を利用する複数の利用者がそれぞれ所持し、各利用者から生体情報を取得する複数のウェアラブル端末と、前記施設内に設置され、前記複数のウェアラブル端末と通信可能な施設内端末との間で通信可能な管理装置に関するものである。
続きを表示(約 1,500 文字)
【背景技術】
【0002】
例えば老人ホーム、介護施設又は病院などの施設においては、利用者である高齢者又は患者などの健康管理と安全管理が重要な課題となっている。また、施設を管理する管理者側において、サービスを提供するサービス提供者などのスタッフの負担を軽減することも重要な課題の1つである(例えば、下記特許文献1参照)。
【先行技術文献】
【特許文献】
【0003】
特開2023-103482号公報
【発明の概要】
【発明が解決しようとする課題】
【0004】
しかしながら、施設の利用者の健康及び安全の管理を向上させるためには、通常、管理者側のスタッフの負担が増加してしまう。そのため、施設の利用者の管理の向上と管理者側のスタッフの負担軽減を両立させることは困難であった。
【0005】
本発明は、上記実情に鑑みてなされたものであり、施設の利用者の管理の向上と管理者側のスタッフの負担軽減を両立させることができる管理装置を提供することを目的とする。
【課題を解決するための手段】
【0006】
(1)本発明に係る管理装置は、施設を利用する複数の利用者がそれぞれ所持し、各利用者から生体情報を取得する複数のウェアラブル端末と、前記施設内に設置され、前記複数のウェアラブル端末と所定の第1通信範囲内において通信可能な施設内端末との間で通信可能な管理装置である。前記管理装置は、通信部と、記憶部と、制御部とを備える。前記通信部は、前記複数のウェアラブル端末及び前記施設内端末との間で前記第1通信範囲とは異なる第2通信範囲内において通信可能である。前記記憶部は、前記複数のウェアラブル端末から受信する各利用者の生体情報を各利用者に対応付けて格納するとともに、前記施設内端末から受信する前記複数のウェアラブル端末との通信情報に基づいて、各利用者の位置情報を時間に対応付けて格納する。前記制御部は、前記生体情報又は前記位置情報の異常を検出する。
【0007】
このような構成によれば、複数のウェアラブル端末から受信する生体情報を各利用者に対応付けて管理装置に格納することにより、施設の利用者の健康及び安全の管理を向上させることができる。また、施設内端末から受信する通信情報に基づいて、各利用者の位置情報を時間に対応付けて管理装置に格納することにより、各利用者の位置情報を確認するために管理者側のスタッフが移動する必要がなくなるため、管理者側のスタッフの負担を軽減することができる。
【0008】
特に、各利用者の生体情報の異常、及び、各利用者の位置情報の異常を自動的に検出することにより、それらの異常を確実かつ迅速に把握することができるため、施設の利用者の管理の向上と管理者側のスタッフの負担軽減を効果的に両立させることができる。
【0009】
(2)前記制御部は、前記ウェアラブル端末と前記施設内端末との通信が開始されてからの時間に基づいて、前記位置情報の異常を検出してもよい。
【0010】
このような構成によれば、ウェアラブル端末と施設内端末との通信が開始されてからの時間に基づいて、各利用者の位置情報の異常を確実かつ迅速に把握することができる。例えば、施設内のトイレに施設内端末を設置した場合、トイレを使用する利用者が当該トイレに入ることによりウェアラブル端末と施設内端末との通信が開始された後、所定時間が経過しても当該通信状態が変化しないときに、位置情報の異常として検出すれば、利用者がトイレ内で倒れているなどの異常を確実かつ迅速に把握することができる。
(【0011】以降は省略されています)
この特許をJ-PlatPat(特許庁公式サイト)で参照する
関連特許
キラル株式会社
ヘルスケアシステム
14日前
キラル株式会社
ヘルスケアシステム
14日前
株式会社タカゾノ
薬剤秤量装置
6日前
株式会社イシダ
受付端末装置
7日前
キラル株式会社
心理療法を提供するシステムおよびその方法
14日前
キラル株式会社
心理療法を提供するシステムおよびその方法
14日前
個人
ゲノム配列の類似性評価の方式、ソフトウェア、システム、装置
12日前
株式会社イシダ
院内用書込装置及び受付端末装置
7日前
PHB Design株式会社
一包化薬剤監査支援システム
8日前
日本電気株式会社
行動推奨装置、行動推奨方法及びプログラム
13日前
日本電気株式会社
健康管理装置、健康管理方法及びプログラム
8日前
パナソニックIPマネジメント株式会社
健康レベル算出システム
7日前
株式会社日本総合研究所
情報処理方法、プログラム及び情報処理装置
6日前
国立大学法人 岡山大学
化合物の薬効の予測方法
14日前
株式会社ブルーブックス
医療データ提供システムおよび医療データ提供方法
7日前
キラル株式会社
メンタルヘルスのセルフケアあるいは治療支援用プログラムおよびシステム
14日前
キラル株式会社
メンタルヘルスのセルフケアあるいは治療支援用プログラムおよびシステム
14日前
社会医療法人社団 三思会
透析患者管理システム及び透析患者管理方法
19日前
株式会社DeaLive
患者支援装置および患者支援方法
9日前
キラル株式会社
ストレス関連疾患またはストレスに起因するメンタル不調のセルフケアシステム
14日前
キラル株式会社
ストレス関連疾患またはストレスに起因するメンタル不調のセルフケアシステム
14日前
キラル株式会社
ストレス関連疾患またはストレスに起因するメンタル不調のセルフケアシステム
14日前
ポーラ化成工業株式会社
健康状態判定装置及び健康状態判定方法
9日前
キラル株式会社
ストレス関連疾患またはストレスに起因するメンタル不調のセルフケアシステム
14日前
キラル株式会社
ストレス関連疾患またはストレスに起因するメンタル不調のセルフケアシステム
14日前
富士フイルム株式会社
医療業務支援装置、方法およびプログラム
12日前
株式会社エム・オー・エム・テクノロジー
方法、プログラム、及び情報処理装置
15日前
株式会社ダイセル
推奨量出力システム、推奨量出力方法及びプログラム
6日前
株式会社ダイセル
推奨量出力システム、推奨量出力方法及びプログラム
6日前
コニカミノルタ株式会社
介護システム、見守り方法、および制御プログラム
19日前
富士通株式会社
情報出力プログラム、情報出力方法及び情報処理装置
13日前
株式会社日立製作所
計算機システム及び予測モデルの学習方法
7日前
アサヒグループジャパン株式会社
口腔状態評価支援システム
14日前
株式会社World Life Mapping
制御プログラム、画面提示方法及びシステム
19日前
パラマウントベッド株式会社
情報処理システム及び制御方法
1日前
住友ベークライト株式会社
推定方法、モデル生成方法、推定装置、モデル生成装置、およびプログラム
7日前
続きを見る
他の特許を見る