TOP
|
特許
|
意匠
|
商標
特許ウォッチ
Twitter
他の特許を見る
公開番号
2025138122
公報種別
公開特許公報(A)
公開日
2025-09-25
出願番号
2024037013
出願日
2024-03-11
発明の名称
建築物
出願人
戸田建設株式会社
代理人
個人
,
個人
,
個人
主分類
E04B
1/30 20060101AFI20250917BHJP(建築物)
要約
【課題】本発明は、木質材料を用いながらもコストメリットに優れる複合構造梁2を備える建築物100を提供する。
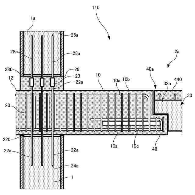
【解決手段】本発明に係る建築物100は、ラーメン構造110を備える建築物100である。ラーメン構造110は、木質材料の一対の柱1,1と、一対の柱1,1の上端にある一対の仕口部20,20と、一対の仕口部20,20の間に架設される複合構造梁2とを備える。一対の仕口部20,20は、鉄筋コンクリート造である。複合構造梁2は、一対の仕口部20,20からそれぞれ突出する鉄筋コンクリート造の第1梁端部10及び第2梁端部12と、第1梁端部10及び第2梁端部12に挟まれた木質材料の梁中間部材30と、を備える。
【選択図】図2
特許請求の範囲
【請求項1】
ラーメン構造を備える建築物であって、
前記ラーメン構造は、木質材料の一対の柱と、一対の前記柱の上端にある一対の仕口部と、一対の前記仕口部の間に架設される複合構造梁とを備え、
一対の前記仕口部は、鉄筋コンクリート造であり、
前記複合構造梁は、一対の前記仕口部からそれぞれ突出する鉄筋コンクリート造の一対の梁端部と、一対の前記梁端部に挟まれた木質材料の梁中間部材と、を備えることを特徴とする、建築物。
続きを表示(約 1,100 文字)
【請求項2】
請求項1に記載の建築物において、
前記梁端部は、前記仕口部と一体に形成されたプレキャストコンクリートであり、
前記仕口部は、前記柱の前記上端に向けて突出する下部接合部材を備え、
前記梁端部は、前記梁中間部材側に突出する梁接合部材を備え、
前記柱は、前記上端に前記下部接合部材が差し込まれる第1受入部が形成され、
前記梁中間部材は、長手方向の両端部に前記梁接合部材が差し込まれる第2受入部がそれぞれ形成され、
前記仕口部は、前記下部接合部材が前記第1受入部に差し込まれた状態で前記柱と接合し、
前記梁端部は、前記梁接合部材が前記第2受入部に差し込まれた状態で前記梁中間部材と接合することを特徴とする、建築物。
【請求項3】
請求項1に記載の建築物において、
前記梁端部は、前記仕口部と一体に形成されたプレキャストコンクリートであり、
前記仕口部は、前記柱の前記上端に向けて突出する下部接合部材を備え、
前記梁端部は、前記梁中間部材側に突出する載置部を備え、
前記柱は、前記上端に前記下部接合部材が差し込まれる第1受入部が形成され、
前記仕口部は、前記下部接合部材が前記第1受入部に差し込まれた状態で前記柱と接合し、
前記梁中間部材は、長手方向の両端部がそれぞれ対向する前記載置部の上に載せられることを特徴とする、建築物。
【請求項4】
請求項1~請求項3のいずれか一項に記載の建築物において、
前記仕口部は、前記仕口部の上面から上方に突出する複数のロッドを備え、
前記柱の直上階の柱は、前記複数のロッドに固定されるベースプレートと、前記ベースプレート上に設置される上部接合部材と、を介して前記仕口部の上に設置され、
前記直上階の柱と前記仕口部との間にある前記上部接合部材、前記ベースプレート及び前記複数のロッドは、コンクリートに埋設されることを特徴とする、建築物。
【請求項5】
請求項2または請求項3のいずれか一項に記載の建築物において、
前記下部接合部材は、前記仕口部を貫通して前記仕口部の上面から上方に突出する複数のロッドの一部であり、
前記柱の直上階の柱は、前記直上階の柱の下端から下方に向かって突出する複数の下部ロッドを備え、
前記直上階の柱と前記仕口部との間にある前記複数のロッド及び前記複数の下部ロッドは、機械式継手で互いに固定した状態でコンクリートに埋設されることを特徴とする、建築物。
発明の詳細な説明
【技術分野】
【0001】
本発明は、複合構造梁を備える建築物に関する。
続きを表示(約 1,500 文字)
【背景技術】
【0002】
2000年の建築基準法の改正により、所定の性能を確保することで木造の耐火建築物を建設することが可能となった。また、近年、木造需要を促進させる動きが官民合わせて活発になっており、木質構造材料の規準化や建築基準法の改正も行われている。特に近年は環境負荷低減の観点から、中大規模の建築物でも木造が採用される事例が増えている。一方で、中大規模の建築物における木造部分のコストが高くなる傾向にある。
【0003】
例えば、特許文献1の「柱梁接合構造」では、木製の柱と木製の梁材とを接続するプレキャストコンクリートの仕口部材が提案されている。
【先行技術文献】
【特許文献】
【0004】
特開2020-2641号公報
【発明の概要】
【発明が解決しようとする課題】
【0005】
しかしながら、全てが木製の梁材は、剛性を確保するために断面を大きくする必要があり、コストが増加する傾向がある。
【0006】
そこで、本発明は、木質梁を用いながらもコストメリットに優れる複合構造梁を備える建築物を提供することを目的とする。
【課題を解決するための手段】
【0007】
本発明は上述の課題の少なくとも一部を解決するためになされたものであり、以下の態様または適用例として実現することができる。
【0008】
[1]本発明に係る建築物の一態様は、
ラーメン構造を備える建築物であって、
前記ラーメン構造は、木質材料の一対の柱と、一対の前記柱の上端にある一対の仕口部と、一対の前記仕口部の間に架設される複合構造梁とを備え、
一対の前記仕口部は、鉄筋コンクリート造であり、
前記複合構造梁は、一対の前記仕口部からそれぞれ突出する鉄筋コンクリート造の一対の梁端部と、一対の前記梁端部に挟まれた木質材料の梁中間部材と、を備えることを特徴とする。
【0009】
[2]上記建築物の一態様において、
前記梁端部は、前記仕口部と一体に形成されたプレキャストコンクリートであり、
前記仕口部は、前記柱の前記上端に向けて突出する下部接合部材を備え、
前記梁端部は、前記梁中間部材側に突出する梁接合部材を備え、
前記柱は、前記上端に前記下部接合部材が差し込まれる第1受入部が形成され、
前記梁中間部材は、長手方向の両端部に前記梁接合部材が差し込まれる第2受入部がそれぞれ形成され、
前記仕口部は、前記下部接合部材が前記第1受入部に差し込まれた状態で前記柱と接合し、
前記梁端部は、前記梁接合部材が前記第2受入部に差し込まれた状態で前記梁中間部材と接合することができる。
【0010】
[3]上記建築物の一態様において、
前記梁端部は、前記仕口部と一体に形成されたプレキャストコンクリートであり、
前記仕口部は、前記柱の前記上端に向けて突出する下部接合部材を備え、
前記梁端部は、前記梁中間部材側に突出する載置部を備え、
前記柱は、前記上端に前記下部接合部材が差し込まれる第1受入部が形成され、
前記仕口部は、前記下部接合部材が前記第1受入部に差し込まれた状態で前記柱と接合し、
前記梁中間部材は、長手方向の両端部がそれぞれ対向する前記載置部の上に載せられることができる。
(【0011】以降は省略されています)
この特許をJ-PlatPat(特許庁公式サイト)で参照する
関連特許
戸田建設株式会社
測量機
2か月前
戸田建設株式会社
建築物
2か月前
戸田建設株式会社
建築物
2か月前
戸田建設株式会社
設計方法
2か月前
戸田建設株式会社
天井構造
2か月前
戸田建設株式会社
柱設置方法
2か月前
戸田建設株式会社
凍結破砕管
2か月前
戸田建設株式会社
空調制御システム
2か月前
戸田建設株式会社
コンクリート構造
1か月前
戸田建設株式会社
照明制御システム
2か月前
戸田建設株式会社
議事録作成システム
2か月前
戸田建設株式会社
基礎フーチング設計方法
2か月前
戸田建設株式会社
鋼製ブラケットの取付装置
1か月前
戸田建設株式会社
鋼製ブラケットの取付装置
1か月前
戸田建設株式会社
建物改修方法及び雑壁構造
2か月前
戸田建設株式会社
身体冷却装置及び身体冷却服
1か月前
フクビ化学工業株式会社
折板屋根
2か月前
戸田建設株式会社
植栽選定システム及び植栽選定方法
2か月前
戸田建設株式会社
杭基礎形成方法及びアタッチメント
2か月前
戸田建設株式会社
距離計測器を備えた吹付けノズル装置
19日前
戸田建設株式会社
高炉スラグ微粉末を主材とした充填材
2か月前
戸田建設株式会社
情報処理方法、プログラムおよび情報処理装置
2か月前
戸田建設株式会社
情報処理方法、プログラムおよび情報処理装置
2か月前
戸田建設株式会社
情報処理方法、プログラムおよび情報処理装置
2か月前
戸田建設株式会社
バイブロハンマ及びこれを用いた杭の引抜方法
2か月前
戸田建設株式会社
超高強度吹付けコンクリート及びその吹付け方法
1か月前
戸田建設株式会社
排水窓付型枠及びそれを用いたコンクリートの打設方法
1か月前
戸田建設株式会社
形鋼と鉄筋からなる主鋼材の建込み構造及び建込み方法
1か月前
戸田建設株式会社
仮想輸送経路の提案方法及び仮想輸送経路の提案システム
2か月前
戸田建設株式会社
仮想輸送経路の提案方法及び仮想輸送経路の提案システム
2か月前
戸田建設株式会社
杭と柱梁仕口組立体の接合方法及び杭と柱梁仕口組立体の接合構造
2か月前
戸田建設株式会社
学習済みモデル、情報処理装置、情報処理方法、情報処理プログラム
2か月前
戸田建設株式会社
報知送受信装置、報知システム、消火器スタンド、報知送信装置、及び報知受信装置
2か月前
個人
接合構造
2か月前
個人
屋台
2か月前
個人
タッチミー
2か月前
続きを見る
他の特許を見る