TOP
|
特許
|
意匠
|
商標
特許ウォッチ
Twitter
他の特許を見る
10個以上の画像は省略されています。
公開番号
2025140339
公報種別
公開特許公報(A)
公開日
2025-09-29
出願番号
2024039681
出願日
2024-03-14
発明の名称
基礎フーチング設計方法
出願人
戸田建設株式会社
代理人
弁理士法人東京アルパ特許事務所
主分類
E02D
27/12 20060101AFI20250919BHJP(水工;基礎;土砂の移送)
要約
【課題】半固定の杭の位置と柱の位置とが一致しない場合において、基礎フーチングの主筋に必要な配筋量を正確に算出する。
【解決手段】基礎梁15a及び15bの上端面から杭12の上端面までの鉛直方向における距離を取得する。杭12の杭反力芯から柱14の柱芯41までの±X方向における距離を取得する。柱14が支えるべき柱軸力を取得する。柱軸力と±X方向における距離とを掛け合わせた積を鉛直方向における前記距離で割った商を算出して、±X方向において必要となる補強力とする。算出した前記補強力に基づいて、ベース筋31の補強配筋量を算出する。
【選択図】図1
特許請求の範囲
【請求項1】
杭に半固定される基礎フーチングを設計する方法において、
前記基礎フーチングは、主筋を有し、前記基礎フーチングに固定される柱と前記杭との間に配置され、
前記主筋は、前記杭の上端面の上方で前記基礎フーチングの下端付近に配置され、
前記方法は、
前記柱及び前記基礎フーチングに固定される基礎梁の上端面から前記杭の上端面までの鉛直方向における距離を取得し、
前記杭の杭反力芯から前記柱の柱芯までの所定の水平方向における距離を取得し、
前記柱が支えるべき柱軸力を取得し、
前記柱軸力と所定の前記水平方向における前記距離とを掛け合わせた積を前記鉛直方向における前記距離で割った商を算出して、所定の前記水平方向において必要となる補強力とし、
算出した前記補強力に基づいて、前記主筋の補強配筋量を算出する、
基礎フーチング設計方法。
続きを表示(約 1,300 文字)
【請求項2】
前記主筋は、所定の前記水平方向に延びる複数の縦筋と、所定の前記水平方向に対して垂直な水平方向に延びる複数の横筋とを有し、
前記方法は、
前記縦筋の許容応力度を取得し、
前記補強力を前記許容応力度で割った商を算出して、前記縦筋の補強配筋量とする、
請求項1の基礎フーチング設計方法。
【請求項3】
前記方法は、
前記補強力として、長期荷重に対する長期補強力と、地震による短期荷重に対する短期補強力とを算出し、
前記縦筋の許容応力度として、長期荷重に対する長期許容応力度と、短期荷重に対する短期許容応力度とを取得し、
前記長期補強力を前記長期許容応力度で割った商を算出して、長期補強配筋量とし、前記短期補強力を前記短期許容応力度で割った商を算出して、短期補強配筋量とし、
算出した長期補強配筋量と短期補強配筋量とのうち大きいほうを、前記縦筋の補強配筋量とする、
請求項2の基礎フーチング設計方法。
【請求項4】
前記長期補強力の算出において、
前記杭の杭反力芯の位置として、前記杭の杭芯の位置を取得し、
前記柱が支えるべき柱軸力として、前記柱が支えるべき長期軸力を取得する、
請求項3の基礎フーチング設計方法。
【請求項5】
前記短期補強力の算出において、
前記杭の上端面から前記基礎フーチングに印加される杭反力が、所定の前記水平方向において前記柱芯に近い側の端で0になり、所定の前記水平方向において前記柱芯から遠い側の端で最大になるよう分布していると仮定して、前記杭反力の重心となる位置を算出し、前記杭反力芯の位置とし、
地震時において前記柱が支えるべき短期柱軸力を算出して、前記柱が支えるべき柱軸力とする、
請求項3又は4の基礎フーチング設計方法。
【請求項6】
コンピュータによって実行されることにより、請求項1乃至4いずれかの基礎フーチング設計方法を実施する、コンピュータプログラム。
【請求項7】
請求項1乃至4いずれかの基礎フーチング設計方法を実施する、基礎フーチング設計装置。
【請求項8】
杭に半固定される基礎フーチングにおいて、
前記基礎フーチングは、主筋を有し、前記基礎フーチングに固定される柱と前記杭との間に配置され、
前記主筋は、前記杭の上端面の上方で、かつ、前記基礎フーチングの下端付近に配置され、
前記主筋は、所定の水平方向に延びる複数の縦筋と、所定の前記水平方向に対して垂直な水平方向に延びる複数の横筋とを有し、
前記主筋の補強配筋量は、前記柱が支えるべき柱軸力と、前記杭の杭反力芯から前記柱の柱芯までの所定の水平方向における距離とを掛け合わせた積を、前記柱及び前記基礎フーチングに固定される基礎梁の上端面から前記杭の上端面までの鉛直方向における距離で割った商を所定の前記水平方向において必要となる補強力とし、前記補強力を前記縦筋の許容応力度で割った商である、
基礎フーチング。
発明の詳細な説明
【技術分野】
【0001】
この発明は、杭に半固定される基礎フーチングを設計する方法に関する。
続きを表示(約 1,900 文字)
【背景技術】
【0002】
特許文献1は、構造物基礎の底面に設けられた凹型支圧部の内部に嵌入する杭による構造物基礎の支持構造を開示している。
【先行技術文献】
【特許文献】
【0003】
特開2004-162259号公報
【発明の概要】
【発明が解決しようとする課題】
【0004】
建物を支える杭の位置と、建物の柱の位置とが一致するとは限らない。
半固定の杭の中心位置と柱の中心位置とが一致しない場合、荷重が偏心するので、基礎フーチングの配筋に必要とされる強度を正確に算出する手法は、確立されていない。
この発明は、例えばこのような課題を解決することを目的とする。
【課題を解決するための手段】
【0005】
基礎フーチング設計方法は、杭に半固定される基礎フーチングを設計する方法である。前記基礎フーチングは、主筋を有し、前記基礎フーチングに固定される柱と前記杭との間に配置される。前記主筋は、前記杭の上端面の上方で前記基礎フーチングの下端付近に配置される。前記方法は、前記柱及び前記基礎フーチングに固定される基礎梁の上端面から前記杭の上端面までの鉛直方向における距離を取得する。前記杭の杭反力芯から前記柱の柱芯までの所定の水平方向における距離を取得する。前記柱が支えるべき柱軸力を取得する。前記柱軸力と所定の前記水平方向における前記距離とを掛け合わせた積を前記鉛直方向における前記距離で割った商を算出して、所定の前記水平方向において必要となる補強力とする。算出した前記補強力に基づいて、前記主筋の補強配筋量を算出する。
【発明の効果】
【0006】
前記基礎フーチング設計方法によれば、半固定の杭の位置と柱の位置とが一致しない場合において、基礎フーチングの主筋に必要な配筋量を正確に算出することができる。
主筋だけで十分な強度を得ることができるので、はかま筋などによって補強する必要がなく、基礎フーチングの施工性が向上し、建物の建設コストを抑えることができる。
【図面の簡単な説明】
【0007】
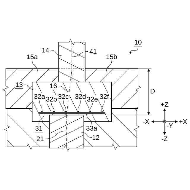
基礎構造の一例を示す側面視断面図。
前記基礎構造を示す平面図。
杭反力分布及び反力芯の一例を示す斜視図。
【発明を実施するための形態】
【0008】
図1及び2を参照して、基礎構造10について説明する。
基礎構造10は、例えば、杭12と、基礎フーチング13と、柱14と、基礎梁15a~15dとを有する。
【0009】
杭12は、上下方向(±Z方向)に延びて、建物を支える。杭12は、新たに打設したものであってもよいし、例えば、建て替え工事などにおいて、建て替え前の古い建物の杭を再利用したものであってもよい。
柱14は、杭12の上方に配置されるが、柱14の柱芯41は、必ずしも杭12の杭芯21の真上(+Z方向)にある必要はなく、例えば、X方向(所定の水平方向の一例であるとともに、所定の水平方向に対して垂直な水平方向の一例でもある。)に距離e
x
、Y方向(所定の水平方向に対して垂直な水平方向の一例であるとともに、所定の水平方向の一例でもある。)に距離e
y
ずれている。
基礎梁15a~15dは、柱14の下端部分から±X方向及び±Y方向に延びている。
【0010】
基礎フーチング13は、杭12と柱14との間に配置されている。基礎フーチング13は、柱14や基礎梁15a~15dに固定されているが、杭12には固定されず、例えばキャップ(不図示)などを介して半固定されている。このため、基礎フーチング13と杭12との間に圧縮力が印加された場合は、その圧縮力が伝達されるが、引っ張り力が印加された場合は、その引張力は伝達されない。
基礎フーチング13は、例えば、ベース筋31(主筋の一例)を有する。しかし、基礎フーチング13は、はかま筋を有していない。基礎フーチング13は、はかま筋を有していないので、基礎フーチング13とはかま筋とを連結する配筋も有していない。すなわち、基礎フーチング13の配筋は、籠状ではなく、平面状である。
なお、柱14や基礎梁15a~15dの主筋から連続した配筋など、柱14や基礎梁15a~15dと基礎フーチング13とを固定するための配筋は、図示していないが、通常通り、基礎フーチング13のなかに存在している。
(【0011】以降は省略されています)
この特許をJ-PlatPat(特許庁公式サイト)で参照する
関連特許
戸田建設株式会社
天井構造
1か月前
戸田建設株式会社
設計方法
1か月前
戸田建設株式会社
柱設置方法
1か月前
戸田建設株式会社
凍結破砕管
1か月前
戸田建設株式会社
照明制御システム
1か月前
戸田建設株式会社
コンクリート構造
22日前
戸田建設株式会社
議事録作成システム
1か月前
戸田建設株式会社
鋼製ブラケットの取付装置
22日前
戸田建設株式会社
鋼製ブラケットの取付装置
22日前
戸田建設株式会社
身体冷却装置及び身体冷却服
1か月前
戸田建設株式会社
杭基礎形成方法及びアタッチメント
1か月前
戸田建設株式会社
高炉スラグ微粉末を主材とした充填材
1か月前
戸田建設株式会社
バイブロハンマ及びこれを用いた杭の引抜方法
1か月前
戸田建設株式会社
超高強度吹付けコンクリート及びその吹付け方法
1か月前
戸田建設株式会社
形鋼と鉄筋からなる主鋼材の建込み構造及び建込み方法
22日前
戸田建設株式会社
排水窓付型枠及びそれを用いたコンクリートの打設方法
1か月前
戸田建設株式会社
仮想輸送経路の提案方法及び仮想輸送経路の提案システム
1か月前
戸田建設株式会社
仮想輸送経路の提案方法及び仮想輸送経路の提案システム
1か月前
戸田建設株式会社
杭と柱梁仕口組立体の接合方法及び杭と柱梁仕口組立体の接合構造
1か月前
戸田建設株式会社
学習済みモデル、情報処理装置、情報処理方法、情報処理プログラム
1か月前
戸田建設株式会社
報知送受信装置、報知システム、消火器スタンド、報知送信装置、及び報知受信装置
1か月前
個人
バケット
19日前
個人
建物の不同沈下の修正方法
26日前
株式会社大林組
操縦装置
22日前
千代田工営株式会社
回転貫入杭
1か月前
株式会社富田製作所
継手部構造
19日前
株式会社熊谷組
山留壁用親杭
1か月前
日立建機株式会社
作業車両
1か月前
日本車輌製造株式会社
建設機械
1か月前
ヤンマーホールディングス株式会社
作業機械
1か月前
ヤンマーホールディングス株式会社
作業機械
1か月前
日立建機株式会社
作業機械
1か月前
日立建機株式会社
作業機械
11日前
日立建機株式会社
建設機械
12日前
日立建機株式会社
作業機械
1か月前
FKS株式会社
擁壁及び擁壁の築造方法
21日前
続きを見る
他の特許を見る