TOP
|
特許
|
意匠
|
商標
特許ウォッチ
Twitter
他の特許を見る
公開番号
2025140132
公報種別
公開特許公報(A)
公開日
2025-09-29
出願番号
2024039318
出願日
2024-03-13
発明の名称
操作検出装置
出願人
株式会社ユーシン
代理人
個人
主分類
G01L
1/22 20060101AFI20250919BHJP(測定;試験)
要約
【課題】検出性能を向上する。
【解決手段】操作検出装置10では、パネル側連結部50によって操作パネル部材30と基板40とが連結されている。パネル側連結部50は、基板40に設けられた連結軸51と、操作パネル部材30に設けられた連結筒部52と、連結軸51及び連結筒部52を結合する結合部53と、を有している。結合部53は、接着剤又はポッティング材によって構成されており、硬化後の結合部53によって連結軸51及び連結筒部52が相対移動不能に結合される。このため、組立時の組付誤差や各部品の公差から生じる、前後方向における操作パネル部材30と基板40との相対位置のばらつきを結合部53によって吸収することができる。よって、操作部31への操作を良好に検出することができる。したがって、操作検出装置10の検出性能を向上することができる。
【選択図】図3
特許請求の範囲
【請求項1】
第1方向の一方側へタッチ操作可能に構成された操作パネル部材と、
前記操作パネル部材の前記第1方向の一方側に設けられ、歪センサが設けられた歪検出部材と、
前記歪検出部材の前記第1方向の一方側に設けられたベース部材と、
前記操作パネル部材と前記歪検出部材とを連結するパネル側連結部と、
前記歪検出部材と前記ベース部材とを連結するベース側連結部と、
を備え、
前記パネル側連結部及び前記ベース側連結部の少なくとも一方は、
連結される一方の部材に設けられた第1連結部と、
連結される他方の部材に設けられた第2連結部と、
接着剤又はポッティング材により構成され、前記第1連結部及び前記第2連結部を結合する結合部と、
を含んで構成されており、
硬化後の前記結合部によって、前記第1連結部及び前記第2連結部が相対移動不能に結合される操作検出装置。
続きを表示(約 660 文字)
【請求項2】
前記第1連結部及び前記第2連結部の一方は、前記第1連結部及び前記第2連結部の他方側へ開放された凹部を有する凹状に形成されており、
前記結合部が、前記凹部内に充填されており、前記第1連結部及び前記第2連結部の他方の一部が前記結合部に埋設されている請求項1に記載の操作検出装置。
【請求項3】
前記凹部が前記第1方向の他方側へ開放されている請求項2に記載の操作検出装置。
【請求項4】
前記歪検出部材は、電子部品が搭載可能な絶縁基板である請求項1~請求項3の何れか1項に記載の操作検出装置。
【請求項5】
前記歪センサが、前記第1方向から見て、前記パネル側連結部及び前記ベース側連結部と重ならない位置に配置されている請求項1~請求項3の何れか1項に記載の操作検出装置。
【請求項6】
前記第1方向と直交する方向を第2方向とし、前記第1方向及び前記第2方向に直交する方向を第3方向とし、
前記第2方向から見て、前記ベース側連結部が、前記歪検出部材の前記第3方向の両端部と前記ベース部材とを連結しており、前記パネル側連結部が、一対の前記ベース側連結部の間に位置している請求項5に記載の操作検出装置。
【請求項7】
前記操作パネル部材が車両の内装パネルである請求項1に記載の操作検出装置。
【請求項8】
前記操作パネル部材が、前記ベース部材に固定されている請求項1又は請求項7に記載の操作検出装置。
発明の詳細な説明
【技術分野】
【0001】
本発明は、操作検出装置に関する。
続きを表示(約 2,000 文字)
【背景技術】
【0002】
下記特許文献1に記載の荷重検出装置(操作検出装置)では、荷重センサがケース内に収容され、荷重センサの受圧部の上側には、プレートが隣接配置されて、プレートが荷重センサの受圧部に当接している。また、プレートの上側には、操作部として機能する弾性体が隣接配置されている。荷重センサは、センサ基板及び歪検出素子を含んで構成されている。そして、弾性体が下方側へ押圧されると、プレートが受圧部を下側へ押圧して、歪検出素子によって、弾性体が押圧操作されたことを検出することができる。
【先行技術文献】
【特許文献】
【0003】
特開2015-161531号公報
【発明の概要】
【発明が解決しようとする課題】
【0004】
ここで、上記荷重検出装置では、各部品の寸法交差や組付誤差等によって、プレートの受圧部への当接状態がばらつく可能性がある。詳しくは、上下方向におけるプレートと受圧部とのラップ量が変化して、非操作時における歪検出素子の初期検出値がばらつく可能性がある。この場合、例えば、弾性体が押圧操作されたか否かを判定するための歪検出素子の検出値に対する閾値を、歪検出素子の初期検出値のばらつきを考慮して設定すると、荷重検出装置における検出性能が低下する虞がある。また、検出性能を向上させようとすると、製品を組み立てた後に製品ごとに閾値をキャリブレーションする必要があり、生産性が低下するという問題がある。
【0005】
本発明は、上記事実を考慮して、検出性能を向上することができる操作検出装置を提供することを目的とする。
【課題を解決するための手段】
【0006】
本発明の1又はそれ以上の実施形態は、第1方向の一方側へタッチ操作可能に構成された操作パネル部材と、前記操作パネル部材の前記第1方向の一方側に設けられ、歪センサが設けられた歪検出部材と、前記歪検出部材の前記第1方向の一方側に設けられたベース部材と、前記操作パネル部材と前記歪検出部材とを連結するパネル側連結部と、前記歪検出部材と前記ベース部材とを連結するベース側連結部と、を備え、前記パネル側連結部及び前記ベース側連結部の少なくとも一方は、連結される一方の部材に設けられた第1連結部と、連結される他方の部材に設けられた第2連結部と、接着剤又はポッティング材により構成され、前記第1連結部及び前記第2連結部を結合する結合部と、を含んで構成されており、硬化後の前記結合部によって、前記第1連結部及び前記第2連結部が相対移動不能に結合される操作検出装置である。
【発明の効果】
【0007】
本発明の1又はそれ以上の実施形態によれば、検出性能を向上することができる。
【図面の簡単な説明】
【0008】
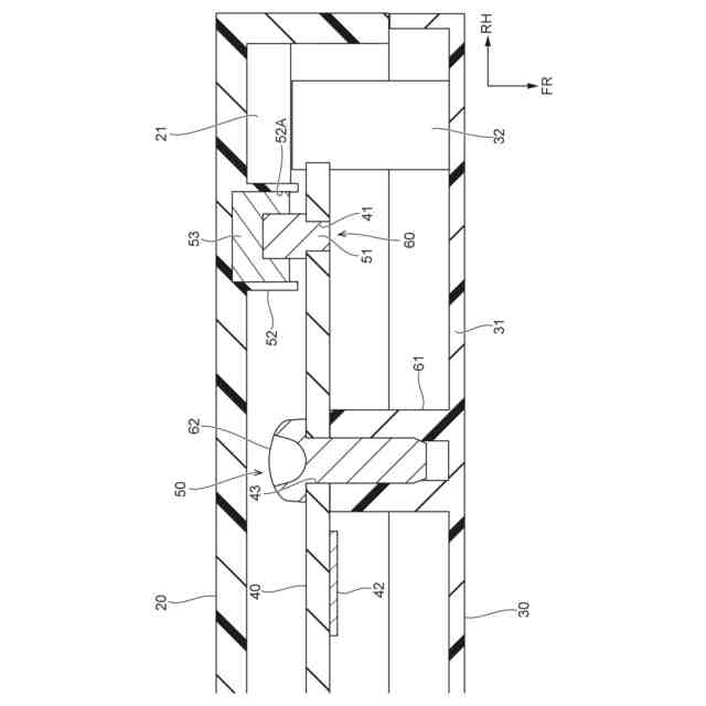
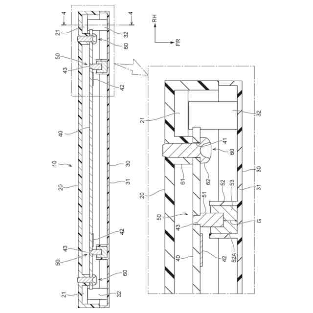
本実施形態に係る操作検出装置を示す前側から見た正面図である。
図1に示される操作検出装置の分解斜視図である。
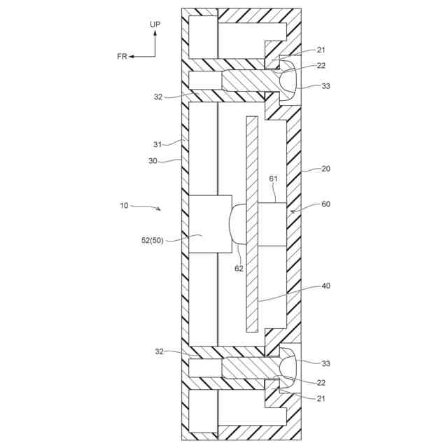
図1に示される操作検出装置の内部を示す上側から見た断面図(図1の3-3線断面図)である。
図3に示される操作検出装置の右端部内を示す右側から見た断面図(図3の4-4線断面図)である。
図3に示されるパネル側連結部の構造をベース側連結部に適用した例を示す上側から見た断面図である。
【発明を実施するための形態】
【0009】
以下、図面を用いて、本実施形態に係る操作検出装置10について説明する。なお、図面に適宜示される矢印UP、矢印FR、矢印RHは、それぞれ操作検出装置10の上側、前側、右側を示している。以下の説明において、上下、前後、左右の方向を用いて説明するときには、特に断りのない限り、操作検出装置10の上下方向、前後方向、左右方向を示すものとする。そして、前後方向が本発明の第1方向に対応し、上下方向が本発明の第2方向に対応し、左右方向が本発明の第3方向に対応する。
【0010】
図1~図4に示されるように、操作検出装置10は、全体として前後方向を厚み方向とし且つ左右方向を長手方向とする略矩形扁平状に形成されている。操作検出装置10は、車両(自動車)に搭載されており、車両のキャビンの内装パネルの一部を構成して、キャビンへ操作可能に露出されている。操作検出装置10は、ベース部材20と、操作パネル部材30と、歪検出部材としての絶縁基板40(以下、基板40という)と、を含んで構成されている。また、操作検出装置10は、基板40及び操作パネル部材30を連結する左右一対のパネル側連結部50と、基板40及びベース部材20を連結する左右一対のベース側連結部60と、を有している。
(【0011】以降は省略されています)
この特許をJ-PlatPat(特許庁公式サイト)で参照する
関連特許
株式会社ユーシン
操作検出装置
10日前
株式会社ユーシン
表示・照明装置
2日前
株式会社ユーシン
開閉体制御システム並びにその検査システム及び検査方法
6日前
ミネベアアクセスソリューションズ株式会社
ドアハンドル装置
13日前
個人
メジャー文具
2日前
個人
計量スプーン
1か月前
日本精機株式会社
位置検出装置
8日前
ユニパルス株式会社
ロードセル
1日前
日本精機株式会社
位置検出装置
8日前
日本精機株式会社
位置検出装置
8日前
大和製衡株式会社
組合せ秤
13日前
大和製衡株式会社
組合せ秤
13日前
アズビル株式会社
圧力センサ
7日前
ダイハツ工業株式会社
測定用具
1か月前
株式会社東芝
センサ
13日前
株式会社ユーシン
操作検出装置
10日前
アンリツ株式会社
分光器
1か月前
アンリツ株式会社
分光器
1か月前
株式会社ヨコオ
ソケット
1日前
株式会社東芝
センサ
13日前
株式会社チノー
放射光測温装置
1日前
トヨタ自動車株式会社
表示装置
22日前
トヨタ自動車株式会社
検査装置
10日前
エイブリック株式会社
磁気センサ回路
7日前
TDK株式会社
磁気センサ
1か月前
TDK株式会社
ガスセンサ
7日前
TDK株式会社
ガスセンサ
1日前
株式会社東芝
重量測定装置
6日前
TDK株式会社
磁気センサ
1か月前
株式会社ナリス化粧品
角層細胞採取用具
20日前
東レエンジニアリング株式会社
計量装置
10日前
個人
粘塑性を用いた有限要素法の定式化
22日前
TDK株式会社
ガスセンサ
6日前
株式会社ヨコオ
コンタクタ
1か月前
個人
材料特性パラメータの算定方法
1か月前
大陽日酸株式会社
液面センサ
1か月前
続きを見る
他の特許を見る