TOP
|
特許
|
意匠
|
商標
特許ウォッチ
Twitter
他の特許を見る
公開番号
2025135399
公報種別
公開特許公報(A)
公開日
2025-09-18
出願番号
2024033226
出願日
2024-03-05
発明の名称
温度センサ
出願人
TDK株式会社
代理人
個人
,
個人
,
個人
主分類
G01K
1/14 20210101AFI20250910BHJP(測定;試験)
要約
【課題】一対の導線の間で短絡が発生することを防止する温度センサを提供する。
【解決手段】温度センサ1は、感温部と、感温部に接続されている一対の導線23,24とを含む素子2と、感温部と一対の導線23,24とを収容しているケースと、を備える。ケースは、ケースの外表面に含まれる面R1bを含むと共に樹脂からなるケース部分51を含む。ケース部分51は、ベース領域R1と、壁領域R2とを含む。ベース領域R1は、面R1bと、面R1bに対向していると共に一対の導線23,24が配置されている面R1aと、を含む。壁領域R2は、一対の導線23,24の間に位置すると共に、ベース領域R1に連続して配置されている。
【選択図】図7
特許請求の範囲
【請求項1】
感温部と、前記感温部に接続されている一対の導線とを含む素子と、
前記感温部と前記一対の導線とを収容しているケースと、を備え、
前記ケースは、前記ケースの外表面に含まれる第一面を含むと共に樹脂からなるケース部分を含み、
前記ケース部分は、
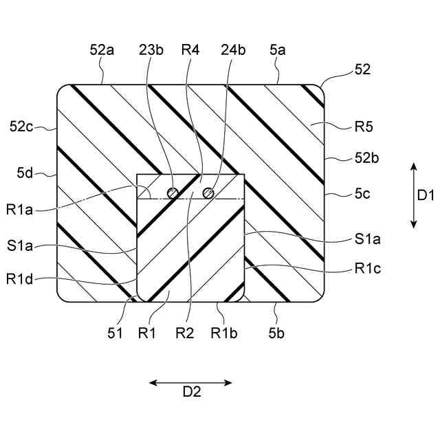
前記第一面と、前記第一面に対向していると共に前記一対の導線が配置されている第二面と、を含むベース領域と、
前記一対の導線の間に位置すると共に、前記ベース領域に連続して配置されている壁領域と、を含む、温度センサ。
続きを表示(約 1,200 文字)
【請求項2】
前記ベース領域には、前記第二面に開口する、有底状の窪みが形成されており、
前記感温部の少なくとも一部は、前記窪み内に位置している、請求項1に記載の温度センサ。
【請求項3】
前記ケースは、前記外表面に含まれると共に前記第一面に対向している第三面を含む別のケース部分を更に含み、
前記別のケース部分は、前記感温部と、前記一対の導線とを覆っている、請求項1に記載の温度センサ。
【請求項4】
前記ケースは、前記外表面に含まれると共に前記第一面に対向している第三面を含む別のケース部分を更に含み、
前記感温部と、前記窪みの内面とは、互いに離間しており、
前記別のケース部分は、前記感温部と、前記窪みの前記内面との間に位置する領域を含む、請求項2に記載の温度センサ。
【請求項5】
前記別のケース部分は、前記ケース部分と同じ樹脂からなる、請求項3に記載の温度センサ。
【請求項6】
前記ケース部分は、互いに対向していると共に前記第一面と前記第二面とを連結している一対の側面を含み、
前記一対の側面のそれぞれは、第一面部分と、前記第一面部分とは別の第二面部分と、を含み、
前記一対の側面が互いに対向している方向における前記第一面部分同士の間隔は、前記一対の側面が互いに対向している前記方向における前記第二面部分同士の間隔より小さく、
前記別のケース部分は、前記第一面部分のそれぞれを覆っている領域を含む、請求項3に記載の温度センサ。
【請求項7】
前記ベース領域は、前記第一面部分のそれぞれを含む領域部分と、前記第二面部分のそれぞれを含む領域部分と、を含み、
前記壁領域は、前記第一面部分のそれぞれを含む前記領域部分に連続して配置されている、請求項6に記載の温度センサ。
【請求項8】
前記ケースの前記外表面は、互いに対向していると共に前記第一面により互いに連結されている第一端面及び第二端面を含み、
前記壁領域は、前記第一面と前記第二面とが互いに対向している方向から見て、前記感温部と前記第一端面との間に位置し、
前記ケース部分は、前記第一面と前記第二面とが互いに対向している前記方向から見て、前記第二端面と前記感温部との間に位置すると共に前記ベース領域に連続して配置されている別の壁領域を含む、請求項1~7のいずれか一項に記載の温度センサ。
【請求項9】
前記別の壁領域は、前記第一面と前記第二面とが互いに対向している前記方向から見て、前記第二端面に向かって凸となるように湾曲している、請求項8に記載の温度センサ。
【請求項10】
前記ケース部分は、前記一対の導線を覆っていると共に前記壁領域に連続して配置されている領域を含む、請求項1~7のいずれか一項に記載の温度センサ。
(【請求項11】以降は省略されています)
発明の詳細な説明
【技術分野】
【0001】
本発明は、温度センサに関する。
続きを表示(約 1,400 文字)
【背景技術】
【0002】
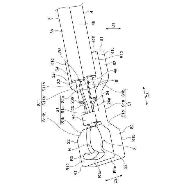
知られている素子は、感温部と、感温部に電気的に接続されている一対の導線と、を備える(たとえば、特許文献1参照)。
【先行技術文献】
【特許文献】
【0003】
特開2021-106178号公報
【発明の概要】
【発明が解決しようとする課題】
【0004】
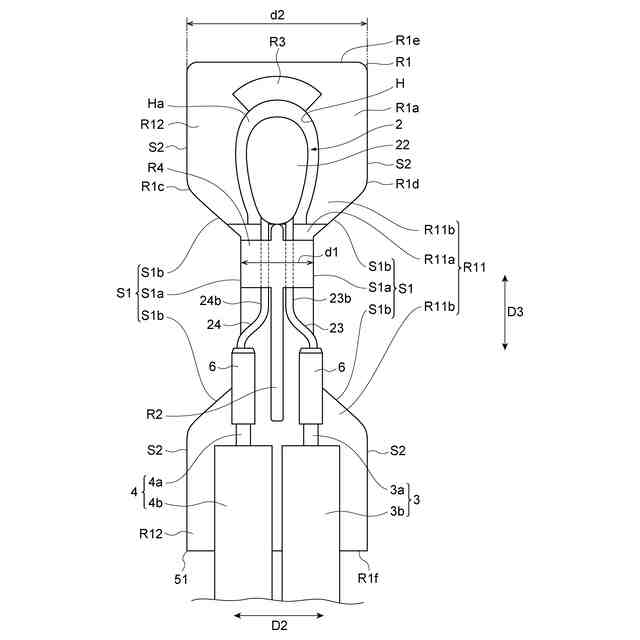
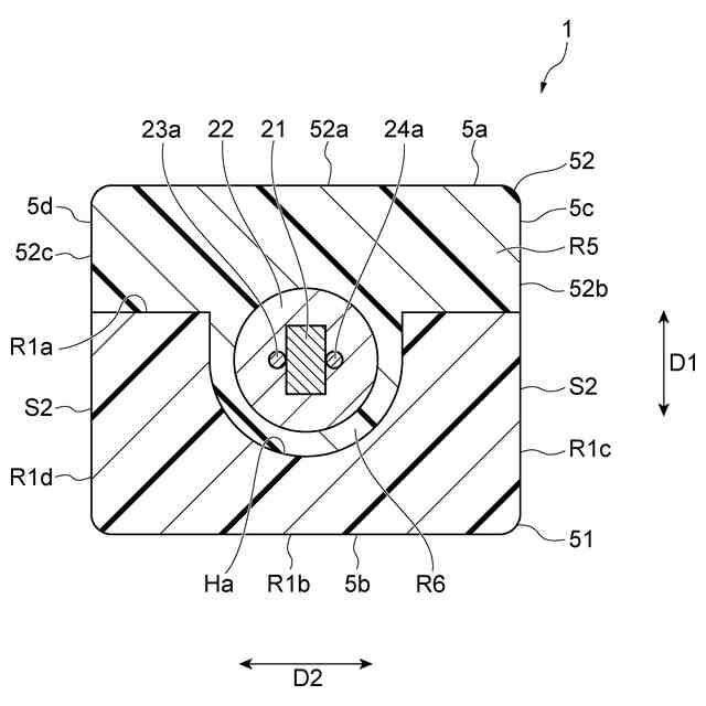
上述した素子は、例えば温度センサとして用いられる。上述した素子が温度センサとして用いられる場合、当該素子には、外力が作用することがある。素子に外力が作用した場合、一対の導線が変形し、一対の導線の位置がずれることがある。一対の導線の位置がずれた場合、一対の導線が互いに接触するおそれがある。一対の導線が互いに接触した場合、一対の導線の間で短絡が発生する。一対の導線の間で短絡が発生した場合、温度検出の精度が低下する。
【0005】
本発明の一つの態様は、一対の導線の間で短絡が発生することを防止する温度センサを提供することを目的とする。
【課題を解決するための手段】
【0006】
本発明の一つの態様に係る温度センサは、感温部と、感温部に接続されている一対の導線とを含む素子と、感温部と一対の導線とを収容しているケースと、を備える。ケースは、ケースの外表面に含まれる第一面を含むと共に樹脂からなるケース部分を含む。ケース部分は、ベース領域と、壁領域とを含む。ベース領域は、第一面と、第一面に対向していると共に一対の導線が配置されている第二面と、を含む。壁領域は、一対の導線の間に位置すると共に、ベース領域に連続して配置されている。
【0007】
上記一つの態様では、感温部と一対の導線とはケースに収容されている。したがって、温度センサに外力が作用した場合であっても、当該外力は素子に対して影響を及ぼしがたく、一対の導線の位置がずれがたい。
上記一つの態様では、ケース部分は、一対の導線の間に位置すると共に、一対の導線が配置されている第二面を含むベース領域に連続して配置されている壁領域を含む。したがって、例えば温度センサに作用する外力によって、ケース内における一対の導線の位置がずれた場合であっても、一対の導線が互いに接触しがたい。
この結果、上記一つの態様は、一対の導線の間で短絡が発生することを防止する。
【発明の効果】
【0008】
本発明の一つの態様は、一対の導線の間で短絡が発生することを防止する温度センサを提供する。
【図面の簡単な説明】
【0009】
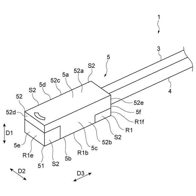
図1は、一実施形態に係る温度センサを示す斜視図である。
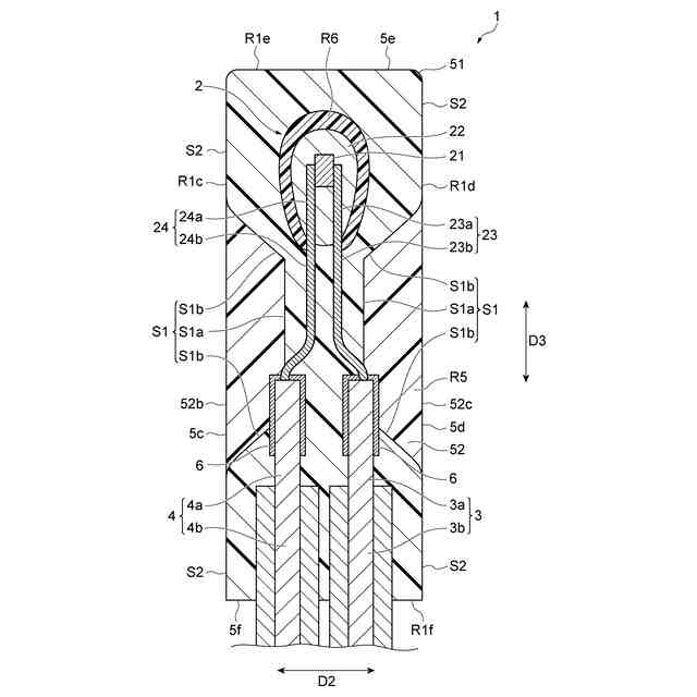
図2は、本実施形態に係る温度センサの断面構成を示す図である。
図3は、本実施形態に係る温度センサの断面構成を示す図である。
図4は、本実施形態に係る温度センサの断面構成を示す図である。
図5は、本実施形態に係る温度センサの断面構成を示す図である。
図6は、ケース部分及び素子の構成を示す平面図である。
図7は、ケース部分及び素子の構成を示す斜視図である。
【発明を実施するための形態】
【0010】
以下、添付図面を参照して、本発明の実施形態について詳細に説明する。なお、説明において、同一要素又は同一機能を有する要素には、同一符号を用いることとし、重複する説明は省略する。
(【0011】以降は省略されています)
この特許をJ-PlatPat(特許庁公式サイト)で参照する
関連特許
TDK株式会社
電子部品
1か月前
TDK株式会社
電子部品
1か月前
TDK株式会社
電子部品
3日前
TDK株式会社
熱処理容器
1か月前
TDK株式会社
コイル部品
1か月前
TDK株式会社
コイル装置
1か月前
TDK株式会社
コイル装置
1か月前
TDK株式会社
コイル装置
1か月前
TDK株式会社
コイル部品
1か月前
TDK株式会社
電子デバイス
1か月前
TDK株式会社
電力変換装置
3日前
TDK株式会社
積層コイル部品
1か月前
TDK株式会社
アンテナモジュール
24日前
TDK株式会社
配線体、及び表示装置
1か月前
TDK株式会社
圧力センサ用金属部材
1か月前
TDK株式会社
メタサーフェスレンズ
1か月前
TDK株式会社
配線体、及び表示装置
1か月前
TDK株式会社
積層セラミック電子部品
1か月前
TDK株式会社
積層セラミック電子部品
1か月前
TDK株式会社
磁気センサおよびその製造方法
3日前
TDK株式会社
電子部品及び電子部品の製造方法
1か月前
TDK株式会社
入力装置及び入力装置の制御方法
1か月前
TDK株式会社
入力装置及び入力装置の制御方法
9日前
TDK株式会社
物理レザバー素子及び物理レザバー
26日前
TDK株式会社
非可逆回路素子及び量子コンピュータ
1か月前
TDK株式会社
DC-DCコンバータおよび電源回路
1か月前
TDK株式会社
インダクタおよびDC-DCコンバータ
1か月前
TDK株式会社
軟磁性粉末、磁性体コア、および磁性部品
16日前
TDK株式会社
磁性シート及びこれを備えるコイルモジュール
16日前
TDK株式会社
誘電体組成物、積層電子部品およびその製造方法
1か月前
TDK株式会社
圧電薄膜、圧電薄膜素子、及び圧電トランスデューサ
1か月前
TDK株式会社
圧電薄膜、圧電薄膜素子、及び圧電トランスデューサ
1か月前
TDK株式会社
軟磁性合金粒子、軟磁性粉末、圧粉磁芯および電子部品
16日前
TDK株式会社
固体電解コンデンサ及び固体電解コンデンサの製造方法
25日前
TDK株式会社
電子部品、電子部品の製造方法および電子部品の製造装置
1か月前
TDK株式会社
コイル部品
9日前
続きを見る
他の特許を見る