TOP
|
特許
|
意匠
|
商標
特許ウォッチ
Twitter
他の特許を見る
公開番号
2025163729
公報種別
公開特許公報(A)
公開日
2025-10-30
出願番号
2024067208
出願日
2024-04-18
発明の名称
アンテナモジュール
出願人
TDK株式会社
代理人
個人
,
個人
主分類
H01Q
23/00 20060101AFI20251023BHJP(基本的電気素子)
要約
【課題】電子部品とアンテナパターンがパッケージングされたアンテナモジュールにおいて、電子部品とアンテナパターンとの間における伝送線路を短縮する。
【解決手段】アンテナモジュール100は、アンテナ部10Aと、アンテナ部10Aに積層され、絶縁層22に埋め込まれた電子部品40を有する電子部品内蔵部10Bとを備える。アンテナ部10Aは、アンテナパターンANT1を有するアンテナ層と、接続パターン13S,13V,13Gを有する接続層とを含む。電子部品内蔵部10Bは、パッド電極42S,42V,42Gを有する電子部品40の主面41が接続層と向かい合うよう、アンテナ部10Aに積層される。接続パターン13S,13V,13Gと、パッド電極42S,42V,42Gとは、異方性導電材料50を介して互いに電気的に接続される。
【選択図】図2
特許請求の範囲
【請求項1】
複数の導体層が積層されたアンテナ部と、
前記アンテナ部に積層され、第1の絶縁層及び前記第1の絶縁層に埋め込まれた電子部品を有する電子部品内蔵部と、
を備え、
前記複数の導体層は、積層方向における一方の端部に位置し、アンテナパターンを有するアンテナ層と、前記積層方向における他方の端部に位置し、複数の第1の接続パターンを有する接続層と、を含み、
前記電子部品内蔵部は、複数のパッド電極を有する前記電子部品の主面が前記接続層と向かい合うよう、前記アンテナ部に積層され、
前記複数の第1の接続パターンと、前記複数のパッド電極又はこれらに接続された複数の第2の接続パターンとは、異方性導電材料を介して互いに電気的に接続されている、
アンテナモジュール。
続きを表示(約 1,300 文字)
【請求項2】
前記電子部品の前記主面の外周部は、前記異方性導電材料で覆われることなく、前記第1の絶縁層で覆われている、
請求項1に記載のアンテナモジュール。
【請求項3】
前記電子部品の前記主面に形成された回路素子は、ガードリングに囲まれており、
前記ガードリングの外側領域は、前記異方性導電材料で覆われることなく、前記第1の絶縁層で覆われている、
請求項2に記載のアンテナモジュール。
【請求項4】
前記複数のパッド電極は、互いに隣接する第1及び第2のパッド電極を含み、
前記複数の第1の接続パターンは、互いに隣接する第1及び第2のパターンを含み、
前記第1のパッド電極は、前記異方性導電材料を介して前記第1のパターンに接続され、
前記第2のパッド電極は、前記異方性導電材料を介して前記第2のパターンに接続され、
前記第1のパッド電極の平面サイズは、前記第2のパッド電極の平面サイズよりも大きく、
前記第1のパターンの平面サイズは、前記第2のパターンの平面サイズよりも小さい、
請求項1に記載のアンテナモジュール。
【請求項5】
前記複数のパッド電極は、グランドパッド及び信号パッドを含み、
前記複数の第1の接続パターンは、グランドパターン及び信号パターンを含み、
前記グランドパッドは、前記異方性導電材料を介して前記グランドパターンに接続され、
前記信号パッドは、前記異方性導電材料を介して前記信号パターンに接続され、
前記グランドパターンの平面サイズは、前記信号パターンの平面サイズよりも大きい、
請求項1に記載のアンテナモジュール。
【請求項6】
前記複数のパッド電極は、互いに隣接する第1及び第2のグランドパッドを含み、
前記複数の第1の接続パターンは、前記異方性導電材料を介して前記第1及び第2のグランドパッドに共通に接続されたグランドパターンを含む、
請求項1に記載のアンテナモジュール。
【請求項7】
前記アンテナ部は、表面から前記複数の第1の接続パターンが露出する第2の絶縁層を含み、
前記電子部品内蔵部は、表面から前記複数の第2の接続パターンが露出する第3の絶縁層を含み、
前記異方性導電材料は、前記第2の絶縁層と前記第3の絶縁層の間に配置される、
請求項1に記載のアンテナモジュール。
【請求項8】
前記異方性導電材料は、前記積層方向と平行なモジュール側面から露出する、
請求項7に記載のアンテナモジュール。
【請求項9】
前記複数の第1の接続パターン間の少なくとも一部に絶縁部材が埋め込まれている、
請求項1から請求項8のいずれか一項に記載のアンテナモジュール。
【請求項10】
前記絶縁部材の厚みが、前記複数の第1の接続パターンの厚みよりも薄い、
請求項9に記載のアンテナモジュール。
発明の詳細な説明
【技術分野】
【0001】
本開示は、アンテナモジュールに関する。
続きを表示(約 1,300 文字)
【背景技術】
【0002】
特許文献1には、RFICなどの電子部品とアンテナパターンがパッケージングされたアンテナモジュールが開示されている。
【先行技術文献】
【特許文献】
【0003】
特表2022-533763号公報
【発明の概要】
【発明が解決しようとする課題】
【0004】
この種のアンテナモジュールにおいては、電子部品とアンテナパターンとの間の伝送線路の短縮が求められる。
【0005】
本開示においては、電子部品とアンテナパターンがパッケージングされたアンテナモジュールにおいて、電子部品とアンテナパターンとの間における伝送線路を短縮する技術が説明される。
【課題を解決するための手段】
【0006】
本開示の一側面によるアンテナモジュールは、複数の導体層が積層されたアンテナ部と、アンテナ部に積層され、第1の絶縁層及び第1の絶縁層に埋め込まれた電子部品を有する電子部品内蔵部と、を備え、複数の導体層は、積層方向における一方の端部に位置し、アンテナパターンを有するアンテナ層と、積層方向における他方の端部に位置し、複数の第1の接続パターンを有する接続層と、を含み、電子部品内蔵部は、複数のパッド電極を有する電子部品の主面が接続層と向かい合うよう、アンテナ部に積層され、複数の第1の接続パターンと、複数のパッド電極又はこれらに接続された複数の第2の接続パターンとは、異方性導電材料を介して互いに電気的に接続されている。
【発明の効果】
【0007】
本開示によれば、電子部品とアンテナパターンがパッケージングされたアンテナモジュールにおいて、電子部品とアンテナパターンとの間における伝送線路を短縮する技術が提供される。
【図面の簡単な説明】
【0008】
図1は、本開示の第1の実施形態によるアンテナモジュール100の外観を示す略斜視図である。
図2は、アンテナモジュール100の部分的な略断面図である。
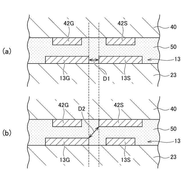
図3は、電子部品40の近傍を拡大して示す略断面図である。
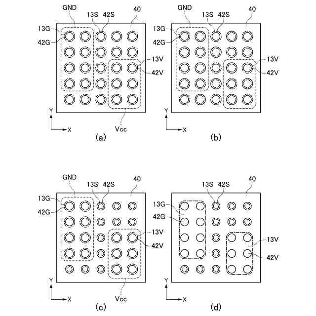
図4(a)~図4(d)は、パッド電極42S,42V,42Gと接続パターン13S,13V,13Gの関係のいくつかの例を示す模式図である。
図5(a)は、図4(a)に示すパッド電極及び接続パターンの部分的な断面図であり、図5(b)は、図4(b)に示すパッド電極及び接続パターンの部分的な断面図である。
図6は、本開示の第2の実施形態によるアンテナモジュール200の部分的な略断面図である。
【発明を実施するための形態】
【0009】
以下、添付図面を参照しながら、本開示に係る技術の実施形態について詳細に説明する。
【0010】
図1は、本開示の第1の実施形態によるアンテナモジュール100の外観を示す略斜視図である。アンテナモジュール100は平板状であり、その表面には4つのアンテナパターンANT1~ANT4が配置されている。アンテナモジュール100の裏面には、複数の端子電極が配置されている。
(【0011】以降は省略されています)
この特許をJ-PlatPat(特許庁公式サイト)で参照する
関連特許
他の特許を見る