TOP
|
特許
|
意匠
|
商標
特許ウォッチ
Twitter
他の特許を見る
10個以上の画像は省略されています。
公開番号
2025160956
公報種別
公開特許公報(A)
公開日
2025-10-24
出願番号
2024063720
出願日
2024-04-11
発明の名称
非可逆回路素子及び量子コンピュータ
出願人
TDK株式会社
代理人
個人
,
個人
,
個人
主分類
H01P
1/36 20060101AFI20251017BHJP(基本的電気素子)
要約
【課題】アイソレーション特性を設計できる非可逆回路素子及び量子コンピュータを提供することを目的とする。
【解決手段】非可逆回路素子は、導体と、磁性体と、吸収体と、共振器と、を有する。前記吸収体と前記磁性体は、厚み方向から見て異なる位置にある。前記導体は、第1端子と第2端子とを備える。前記導体は、前記第1端子と前記第2端子に亘る第1領域と、前記第1領域と異なる第2領域と、を有する。前記第1領域は、前記厚み方向から見て前記磁性体と重なる。前記第2領域は、前記厚み方向から見て前記吸収体と重なる。前記共振器は、前記厚み方向から見て前記吸収体と重なる。
【選択図】図2
特許請求の範囲
【請求項1】
導体と、磁性体と、吸収体と、共振器と、を有し、
前記吸収体と前記磁性体は、厚み方向から見て異なる位置にあり、
前記導体は、第1端子と第2端子とを備え、
前記導体は、前記第1端子と前記第2端子に亘る第1領域と、前記第1領域と異なる第2領域と、を有し、
前記第1領域は、前記厚み方向から見て前記磁性体と重なり、
前記第2領域は、前記厚み方向から見て前記吸収体と重なり、
前記共振器は、前記厚み方向から見て前記吸収体と重なる、非可逆回路素子。
続きを表示(約 550 文字)
【請求項2】
前記共振器は、前記導体と接続している、請求項1に記載の非可逆回路素子。
【請求項3】
前記共振器は、前記導体と接続していない、請求項1に記載の非可逆回路素子。
【請求項4】
前記共振器は、前記第1端子と前記第2端子とを繋ぐ直線の中心を通り前記直線と直交する中心線を基準に、対称である、請求項1に記載の非可逆回路素子。
【請求項5】
前記共振器は、前記第1端子と前記第2端子とを繋ぐ直線の中心を通り前記直線と直交する中心線を基準に、非対称である、請求項1に記載の非可逆回路素子。
【請求項6】
前記共振器は、1/4波長共振器である、請求項1に記載の非可逆回路素子。
【請求項7】
前記共振器は、半波長共振器である、請求項1に記載の非可逆回路素子。
【請求項8】
前記共振器は、リング共振器である、請求項1に記載の非可逆回路素子。
【請求項9】
前記共振器は、スパイラル共振器である、請求項1に記載の非可逆回路素子。
【請求項10】
前記共振器は、ミアンダライン共振器である、請求項1に記載の非可逆回路素子。
(【請求項11】以降は省略されています)
発明の詳細な説明
【技術分野】
【0001】
本開示は、非可逆回路素子及び量子コンピュータに関する。
続きを表示(約 1,600 文字)
【背景技術】
【0002】
非可逆回路素子は、高周波信号の伝送方向を規定する素子である。アイソレータ、サーキュレータは、非可逆回路素子の一例である。非可逆回路素子は、高周波信号が伝送される回路で広く用いられている。
【0003】
非可逆回路素子は、高周波信号が用いられる様々な場所で用いられている。例えば、特許文献1には、マイクロ波通信用のアイソレータが開示されている。また例えば、特許文献2には、量子コンピュータにアイソレータが用いられることが記載されている。
【先行技術文献】
【特許文献】
【0004】
特開平4-287403号公報
特許第6998459号公報
【発明の概要】
【発明が解決しようとする課題】
【0005】
非可逆回路素子は、量子コンピュータを制御する量子プロセッサに繋がる信号ラインに配置される。量子プロセッサは冷凍チャンバー内に配置され、冷凍チャンバーの容積には限りがある。そのため、小型の非可逆回路素子が求められている。また非可逆回路素子に求められる特性の一つとしてアイソレーション特性がある。使用帯域の高周波信号に対するアイソレーション特性に優れた非可逆回路素子が求められている。
【0006】
本開示は上記事情に鑑みてなされたものであり、アイソレーション特性を設計できる、非可逆回路素子を提供することを目的とする。
【課題を解決するための手段】
【0007】
本開示は、上記課題を解決するため、以下の手段を提供する。
【0008】
本実施形態にかかる非可逆回路素子は、導体と、磁性体と、吸収体と、共振器と、を有する。前記吸収体と前記磁性体は、厚み方向から見て異なる位置にある。前記導体は、第1端子と第2端子とを備える。前記導体は、前記第1端子と前記第2端子に亘る第1領域と、前記第1領域と異なる第2領域と、を有する。前記第1領域は、前記厚み方向から見て前記磁性体と重なる。前記第2領域は、前記厚み方向から見て前記吸収体と重なる。前記共振器は、前記厚み方向から見て前記吸収体と重なる。
【発明の効果】
【0009】
本開示にかかる非可逆回路素子は、アイソレーション特性を設計できる。
【図面の簡単な説明】
【0010】
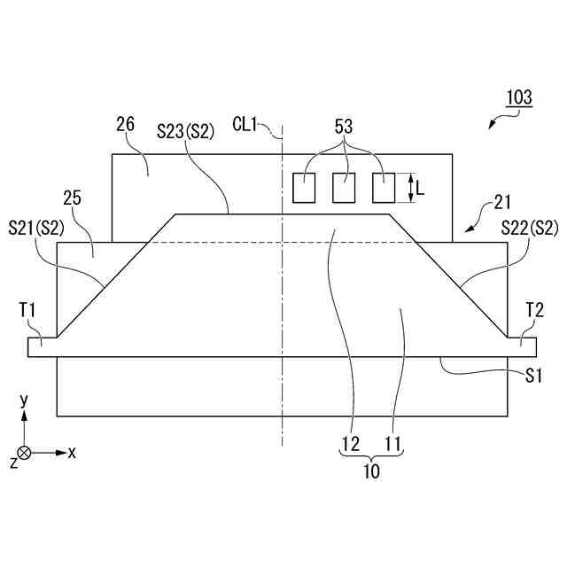
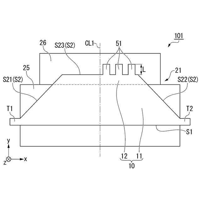
第1実施形態にかかる非可逆回路素子の断面図である。
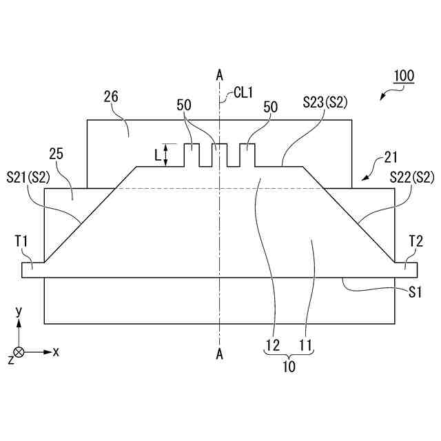
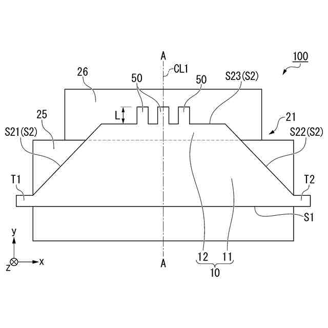
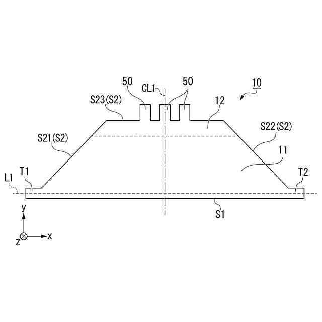
第1実施形態にかかる非可逆回路素子の展開平面図である。
第1実施形態にかかる非可逆回路板の導体及び共振器の平面図である。
第1実施形態にかかる非可逆回路板の損失層の平面図である。
第1実施形態にかかる非可逆回路板の接地体と磁石の平面図である。
第1実施形態に係る量子コンピュータの模式図である。
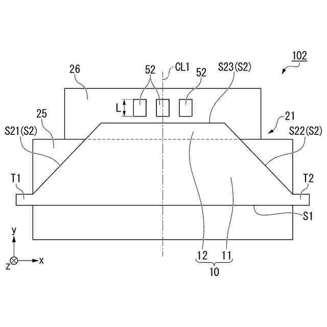
第2実施形態にかかる非可逆回路素子の展開平面図である。
第3実施形態にかかる非可逆回路素子の展開平面図である。
第4実施形態にかかる非可逆回路素子の展開平面図である。
第5実施形態にかかる非可逆回路素子の展開平面図である。
第6実施形態にかかる非可逆回路素子の展開平面図である。
第7実施形態にかかる非可逆回路素子の展開平面図である。
第8実施形態にかかる非可逆回路素子の展開平面図である。
第1変形例にかかる非可逆回路素子の断面図である。
実施例1、実施例2及び比較例1にかかる非可逆回路素子のアイソレーション特性の測定結果である。
実施例1、実施例2及び比較例1にかかる非可逆回路素子の反射損特性の測定結果である。
実施例1、実施例2及び比較例1にかかる非可逆回路素子の挿入損特性の測定結果である。
【発明を実施するための形態】
(【0011】以降は省略されています)
この特許をJ-PlatPat(特許庁公式サイト)で参照する
関連特許
TDK株式会社
圧電素子
2か月前
TDK株式会社
電子部品
2か月前
TDK株式会社
接合構造
12日前
TDK株式会社
電子部品
7日前
TDK株式会社
電子部品
20日前
TDK株式会社
電子部品
1か月前
TDK株式会社
電子部品
2か月前
TDK株式会社
フィルタ
2か月前
TDK株式会社
電子部品
2か月前
TDK株式会社
電子部品
2か月前
TDK株式会社
磁気センサ
2か月前
TDK株式会社
コイル部品
2か月前
TDK株式会社
熱処理容器
1か月前
TDK株式会社
コイル装置
2か月前
TDK株式会社
コイル部品
2か月前
TDK株式会社
コイル部品
2か月前
TDK株式会社
コイル装置
2か月前
TDK株式会社
ガスセンサ
2か月前
TDK株式会社
コイル装置
2か月前
TDK株式会社
コイル装置
2か月前
TDK株式会社
電子デバイス
2か月前
TDK株式会社
積層型分波器
2か月前
TDK株式会社
電磁波センサ
2か月前
TDK株式会社
電力変換装置
20日前
TDK株式会社
電子デバイス
2か月前
TDK株式会社
積層コイル部品
2か月前
TDK株式会社
積層コイル部品
2か月前
TDK株式会社
積層型電子部品
2か月前
TDK株式会社
アンテナモジュール
1か月前
TDK株式会社
積層型フィルタ装置
2か月前
TDK株式会社
フェライト焼結磁石
2か月前
TDK株式会社
圧力センサ用金属部材
2か月前
TDK株式会社
メタサーフェスレンズ
2か月前
TDK株式会社
配線体、及び表示装置
2か月前
TDK株式会社
配線体、及び表示装置
2か月前
TDK株式会社
配線体、及び表示装置
2か月前
続きを見る
他の特許を見る