TOP
|
特許
|
意匠
|
商標
特許ウォッチ
Twitter
他の特許を見る
10個以上の画像は省略されています。
公開番号
2025152438
公報種別
公開特許公報(A)
公開日
2025-10-09
出願番号
2024054334
出願日
2024-03-28
発明の名称
積層型電子部品
出願人
TDK株式会社
代理人
インフォート弁理士法人
,
弁理士法人イトーシン国際特許事務所
主分類
H01F
27/00 20060101AFI20251002BHJP(基本的電気素子)
要約
【課題】シールド導体に起因する問題の発生を抑制しながら、所望の特性を実現する。
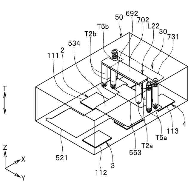
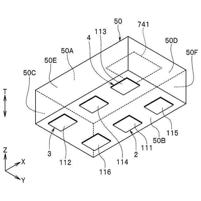
【解決手段】電子部品1は、積層体50と、積層体50に対して一体化されたシールド導体80と、第2のインダクタL22と、グランドに接続された2つの柱状導体T5aとを備えている。第2のインダクタL22は、2つの柱状導体T2aと、2つの柱状導体T2bと、2つの柱状導体T2aと2つの柱状導体T2bとを接続するインダクタ用の導体層692とを含んでいる。シールド導体80は、積層体50の側面50E上に設けられた第1の導体部分80Eと積層体50の側面50F上に設けられた第2の導体部分80Fとを含んでいる。2つの柱状導体T5aは、第2のインダクタL22と第1の導体部分80Eとの間に配置されている。
【選択図】図15
特許請求の範囲
【請求項1】
積層された複数の誘電体層を含む積層体と、
前記積層体に対して一体化されたシールド導体と、
それぞれ前記複数の誘電体層の積層方向に延在する少なくとも1つの第1の柱状導体および少なくとも1つの第2の柱状導体と、前記少なくとも1つの第1の柱状導体と前記少なくとも1つの第2の柱状導体とを接続するインダクタ用導体層とを含むインダクタと、
前記積層方向に延在し且つグランドに接続される少なくとも1つの第3の柱状導体とを備え、
前記積層体は、前記積層方向の両端に位置する第1の面および第2の面と、前記第1の面と前記第2の面を接続する第1の側面、第2の側面、第3の側面および第4の側面とを有し、
前記第1の側面と前記第2の側面は、互いに反対側を向き、
前記第3の側面と前記第4の側面は、互いに反対側を向き、
前記シールド導体は、前記第1の側面上に設けられた第1の導体部分と前記第2の側面上に設けられた第2の導体部分とを含み、
前記インダクタ用導体層は、前記第1の側面から前記第2の側面に向かって延在し且つその長手方向の両端に位置する第1端および第2端を有し、
前記少なくとも1つの第1の柱状導体は、前記インダクタ用導体層の前記第1端の近傍部分に接続され、
前記少なくとも1つの第2の柱状導体は、前記インダクタ用導体層の前記第2端の近傍部分に接続され、
前記少なくとも1つの第3の柱状導体は、前記インダクタと前記第1の導体部分との間に配置されていることを特徴とする積層型電子部品。
続きを表示(約 1,200 文字)
【請求項2】
更に、前記積層体内に配置され、前記少なくとも1つの第3の柱状導体に接続されるグランド用導体層を備えたことを特徴とする請求項1記載の積層型電子部品。
【請求項3】
前記グランド用導体層は、前記インダクタと前記第1の面との間に配置されていることを特徴とする請求項2記載の積層型電子部品。
【請求項4】
前記グランド用導体層の一部は、前記積層方向に平行な一方向から見たときに、前記インダクタの少なくとも一部と重なることを特徴とする請求項3記載の積層型電子部品。
【請求項5】
前記シールド導体は、更に、前記第1の面上に設けられた第3の導体部分を含むことを特徴とする請求項3記載の積層型電子部品。
【請求項6】
更に、それぞれ前記積層方向に延在する2つの柱状導体と、前記2つの柱状導体を接続する導体層とを含む他のインダクタを備え、
前記グランド用導体層は、前記積層方向に平行な一方向から見たときに、前記他のインダクタと重ならないことを特徴とする請求項3記載の積層型電子部品。
【請求項7】
更に、それぞれ前記積層方向に延在する2つの柱状導体と、前記2つの柱状導体を接続する導体層とを含む他のインダクタを備え、
前記少なくとも1つの第3の柱状導体は、前記第1の側面に垂直な方向から見たときに、前記他のインダクタと重ならないことを特徴とする請求項1記載の積層型電子部品。
【請求項8】
前記少なくとも1つの第1の柱状導体は、前記第1の側面と前記少なくとも1つの第2の柱状導体との間に配置され、
前記少なくとも1つの第3の柱状導体の数は、前記少なくとも1つの第1の柱状導体の数以上であることを特徴とする請求項1記載の積層型電子部品。
【請求項9】
前記インダクタ用導体層の前記第1端は、前記第2の導体部分よりも前記第1の導体部分により近い位置にあり、
前記インダクタ用導体層の前記第2端は、前記第1の導体部分よりも前記第2の導体部分により近い位置にあり、
前記インダクタ用導体層の前記第1端と前記第1の導体部分との間隔は、前記インダクタ用導体層の前記第2端と前記第2の導体部分との間隔よりも大きいことを特徴とする請求項1記載の積層型電子部品。
【請求項10】
前記少なくとも1つの第1の柱状導体は、前記第2の側面よりも前記第1の側面により近い位置に配置され、
前記少なくとも1つの第2の柱状導体は、前記第1の側面よりも前記第2の側面により近い位置に配置され、
前記少なくとも1つの第2の柱状導体は、前記第2の導体部分に接続されていることを特徴とする請求項1記載の積層型電子部品。
(【請求項11】以降は省略されています)
発明の詳細な説明
【技術分野】
【0001】
本発明は、積層体に対して一体化されたシールド導体を備えた積層型電子部品に関する。
続きを表示(約 1,700 文字)
【背景技術】
【0002】
小型移動体通信機器では、システムおよび使用周波数帯域が異なる複数のアプリケーションで共通に使用されるアンテナを設け、このアンテナが送受信する複数の信号を、分波器を用いて分離する構成が広く用いられている。
【0003】
一般的に、第1の周波数帯域内の周波数の第1の信号と、第1の周波数帯域よりも高い第2の周波数帯域内の周波数の第2の信号を分離する分波器は、共通ポートと、第1の信号ポートと、第2の信号ポートと、共通ポートから第1の信号ポートに至る第1の信号経路に設けられた第1のフィルタと、共通ポートから第2の信号ポートに至る第2の信号経路に設けられた第2のフィルタとを備えている。第1および第2のフィルタとしては、例えば、インダクタとキャパシタを用いて構成されたLC共振器が用いられる。
【0004】
近年、小型移動体通信機器の小型化、省スペース化が市場から要求されており、その通信機器に用いられる分波器の小型化も要求されている。小型化に適した分波器としては、積層された複数の誘電体層と複数の導体層とを含む積層体を用いた積層型分波器が知られている。積層型分波器に用いられるインダクタとしては、導体層と、複数の誘電体層の積層方向に延在する柱状導体とによって構成されたインダクタが知られている。このようなインダクタは、例えば特許文献1に開示されている。
【0005】
また、小型移動体通信機器の小型化、省スペース化に伴い、通信機器に用いられる電子部品の実装の高密度化が進んでいる。その結果、実装基板に実装される複数の電子部品の間隔が小さくなってきている。複数の電子部品の間隔が小さくなると、複数の電子部品間における電磁干渉が生じやすくなる。電磁干渉を抑制するために、電子部品の本体にシールドを設けることが考えられる。特許文献2には、積層型電子部品の積層体の底面に外部電極を設け、積層型電子部品の積層体の底面以外の面にシールド電極を設けた電子部品が開示されている。
【先行技術文献】
【特許文献】
【0006】
特開2021-121110号公報
特開2017-076796号公報
【発明の概要】
【発明が解決しようとする課題】
【0007】
特許文献2に開示されたようなシールドを備えた電子部品に、特許文献1に開示されたような導体層と柱状導体とによって構成されたインダクタを適用した場合、積層体が小型化すると、柱状導体とシールドとの間の結合が強くなり、その結果、所望の特性を実現することができない場合がある。
【0008】
上記の問題は、積層型分波器に限らず、シールドと、導体層と柱状導体とによって構成されたインダクタとを備えた積層型電子部品全般に当てはまる。
【0009】
本発明はかかる問題点に鑑みてなされたもので、その目的は、積層体に対して一体化されたシールド導体と、導体層と柱状導体とによって構成されたインダクタとを備えた積層型電子部品であって、シールド導体に起因する問題の発生を抑制しながら、所望の特性を実現できるようにした積層型電子部品を提供することにある。
【課題を解決するための手段】
【0010】
本発明の第1の観点の積層型電子部品は、積層された複数の誘電体層を含む積層体と、積層体に対して一体化されたシールド導体と、それぞれ複数の誘電体層の積層方向に延在する少なくとも1つの第1の柱状導体および少なくとも1つの第2の柱状導体と、少なくとも1つの第1の柱状導体と少なくとも1つの第2の柱状導体とを接続するインダクタ用導体層とを含むインダクタと、積層方向に延在し且つグランドに接続される少なくとも1つの第3の柱状導体とを備えている。積層体は、積層方向の両端に位置する第1の面および第2の面と、第1の面と第2の面を接続する第1の側面、第2の側面、第3の側面および第4の側面とを有している。第1の側面と第2の側面は、互いに反対側を向いている。第3の側面と第4の側面は、互いに反対側を向いている。
(【0011】以降は省略されています)
この特許をJ-PlatPat(特許庁公式サイト)で参照する
関連特許
TDK株式会社
センサ
1か月前
TDK株式会社
電子部品
26日前
TDK株式会社
フィルタ
1か月前
TDK株式会社
電子部品
1か月前
TDK株式会社
電子部品
25日前
TDK株式会社
電子部品
21日前
TDK株式会社
圧電素子
26日前
TDK株式会社
電子部品
1か月前
TDK株式会社
電子部品
1か月前
TDK株式会社
フィルタ
26日前
TDK株式会社
電子部品
26日前
TDK株式会社
電子部品
1か月前
TDK株式会社
電子部品
25日前
TDK株式会社
磁気センサ
26日前
TDK株式会社
圧力センサ
28日前
TDK株式会社
ガスセンサ
1か月前
TDK株式会社
コイル装置
25日前
TDK株式会社
コイル部品
26日前
TDK株式会社
コイル部品
1か月前
TDK株式会社
コイル部品
28日前
TDK株式会社
コイル装置
25日前
TDK株式会社
コイル装置
25日前
TDK株式会社
コイル部品
25日前
TDK株式会社
コイル部品
25日前
TDK株式会社
コイル装置
25日前
TDK株式会社
コイル部品
1か月前
TDK株式会社
コイル部品
1か月前
TDK株式会社
ガスセンサ
27日前
TDK株式会社
ガスセンサ
1か月前
TDK株式会社
コイル部品
1か月前
TDK株式会社
コイル部品
1か月前
TDK株式会社
コイル部品
1か月前
TDK株式会社
センサ装置
1か月前
TDK株式会社
熱処理容器
14日前
TDK株式会社
ガスセンサ
1か月前
TDK株式会社
光検知装置
1か月前
続きを見る
他の特許を見る