TOP
|
特許
|
意匠
|
商標
特許ウォッチ
Twitter
他の特許を見る
10個以上の画像は省略されています。
公開番号
2025141473
公報種別
公開特許公報(A)
公開日
2025-09-29
出願番号
2024041422
出願日
2024-03-15
発明の名称
フィルタ
出願人
TDK株式会社
代理人
インフォート弁理士法人
,
弁理士法人イトーシン国際特許事務所
主分類
H03H
7/01 20060101AFI20250919BHJP(基本電子回路)
要約
【課題】遮断周波数に近い周波数領域において急峻に変化する通過減衰特性を実現しながら、十分な帯域幅を実現する。
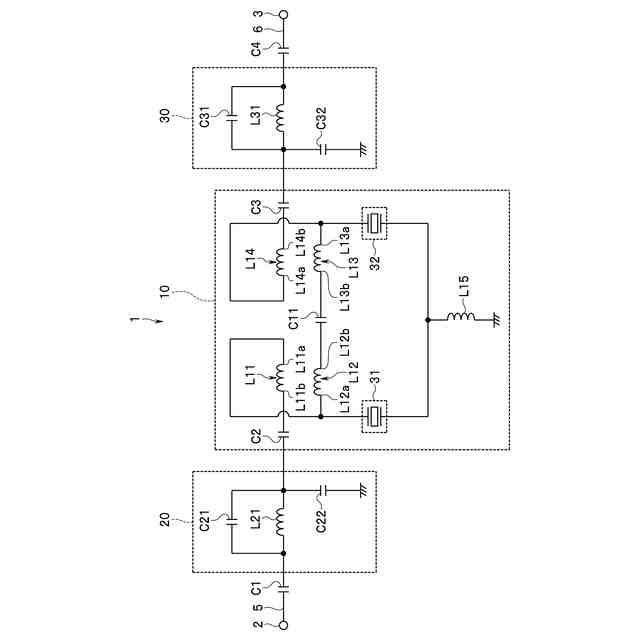
【解決手段】インダクタL11の第1端L11aとインダクタL12の第1端L12aは、互いに接続されると共に、弾性波素子31に接続されている。インダクタL11の第1のインダクタ導体110は、第1の部分110Aを含んでいる。インダクタL12の第2のインダクタ導体120は、第1の部分110Aに対して所定の間隔を開けて隣接するように配置された第2の部分120Aを含んでいる。インダクタL11の第1端L11aから第2端L11bに向かうときの第1の部分110Aにおける方向と、インダクタL12の第1端L12aから第2端L12bに向かうときの第2の部分120Aにおける方向は、互いに反対方向である。
【選択図】図11
特許請求の範囲
【請求項1】
第1のインダクタと、
第2のインダクタと、
第1の弾性波素子とを備え、
前記第1のインダクタと前記第2のインダクタの各々は、互いに反対側に位置する第1端および第2端を有し、
前記第1のインダクタの前記第1端と前記第2のインダクタの前記第1端は、互いに接続されると共に、前記第1の弾性波素子に接続され、
前記第1のインダクタは、第1のインダクタ導体を含み、
前記第2のインダクタは、第2のインダクタ導体を含み、
前記第1のインダクタ導体は、一方向に長い形状を有する第1の部分を含み、
前記第2のインダクタ導体は、一方向に長い形状を有し、前記第1の部分に対して所定の間隔を開けて隣接するように配置された第2の部分を含み、
前記第1のインダクタ導体に沿って前記第1のインダクタの前記第1端から前記第2端に向かうときの、前記第1の部分における方向と、前記第2のインダクタ導体に沿って前記第2のインダクタの前記第1端から前記第2端に向かうときの、前記第2の部分における方向は、互いに反対方向であることを特徴とするフィルタ。
続きを表示(約 1,200 文字)
【請求項2】
前記第1のインダクタ、前記第2のインダクタおよび前記第1の弾性波素子は、ハイパスフィルタを構成することを特徴とする請求項1記載のフィルタ。
【請求項3】
前記第1の弾性波素子は、グランドに接続されることを特徴とする請求項1記載のフィルタ。
【請求項4】
更に、第1の入出力ポートと、
第2の入出力ポートとを備え、
前記第1のインダクタは、回路構成上、前記第1の入出力ポートと前記第1の弾性波素子との間に配置され、
前記第2のインダクタは、回路構成上、前記第2の入出力ポートと前記第1の弾性波素子との間に配置されていることを特徴とする請求項1記載のフィルタ。
【請求項5】
更に、回路構成上、前記第1のインダクタと前記第1の入出力ポートの間に設けられたローパスフィルタを備えたことを特徴とする請求項4記載のフィルタ。
【請求項6】
更に、第3のインダクタと、
第4のインダクタと、
第2の弾性波素子とを備え、
前記第3のインダクタと前記第4のインダクタの各々は、互いに反対側に位置する第3端および第4端を有し、
前記第3のインダクタの前記第3端と前記第4のインダクタの前記第3端は、互いに接続されると共に、前記第2の弾性波素子に接続されていることを特徴とする請求項1記載のフィルタ。
【請求項7】
前記第3のインダクタは、第3のインダクタ導体を含み、
前記第4のインダクタは、第4のインダクタ導体を含み、
前記第3のインダクタ導体は、一方向に長い形状を有する第3の部分を含み、
前記第4のインダクタ導体は、一方向に長い形状を有し、前記第3の部分に対して所定の間隔を開けて隣接するように配置された第4の部分を含み、
前記第3のインダクタ導体に沿って前記第3のインダクタの前記第3端から前記第4端に向かうときの、前記第3の部分における方向と、前記第4のインダクタ導体に沿って前記第4のインダクタの前記第3端から前記第4端に向かうときの、前記第4の部分における方向は、互いに反対方向であることを特徴とする請求項6記載のフィルタ。
【請求項8】
更に、回路構成上前記第2のインダクタと前記第3のインダクタとの間に設けられたキャパシタを備えていることを特徴とする請求項6記載のフィルタ。
【請求項9】
更に、積層された複数の誘電体層を含む積層体を備え、
前記第1のインダクタと前記第2のインダクタは、前記積層体の内部に設けられていることを特徴とする請求項1記載のフィルタ。
【請求項10】
前記第1のインダクタと前記第2のインダクタは、前記誘電体層の積層方向に直交する方向に並んでいることを特徴とする請求項9記載のフィルタ。
(【請求項11】以降は省略されています)
発明の詳細な説明
【技術分野】
【0001】
本発明は、インダクタと弾性波素子を含むフィルタに関する。
続きを表示(約 2,400 文字)
【背景技術】
【0002】
無線通信システムに用いられる電子部品の一つに、ローパスフィルタ、ハイパスフィルタおよびバンドパスフィルタ等のフィルタがある。これらのフィルタは、複数の共振器を用いて構成されている。これらのフィルタに用いられる共振器としては、例えば、インダクタとキャパシタとを用いて構成されたLC共振器や、弾性波素子を用いて構成された弾性波共振器が知られている。弾性波素子とは、弾性波を利用した素子である。弾性波素子には、弾性表面波を利用する弾性表面波素子や、バルク弾性波を利用するバルク弾性波素子がある。
【0003】
弾性波共振器を用いて構成されたフィルタ装置としては、例えば、特許文献1に開示されているように、積層基板の上面に実装された弾性波フィルタチップと、積層基板内に形成されたインダクタンス素子とを備えた弾性波フィルタ装置が知られている。
【先行技術文献】
【特許文献】
【0004】
国際公開第2009/136472号
【発明の概要】
【発明が解決しようとする課題】
【0005】
無線通信システムでは、新たに割当てが可能な周波数を増加させることにより、電波の有効利用が進められている。近年、新しい規格の策定が進み、比較的狭い周波数帯域に、既存の規格と新しい規格が複数存在するようになっている。そのため、無線通信システムに用いられるフィルタには、隣接する規格の信号を確実に遮断しながら対応する規格の信号を取り出すことが求められる。そのためには、通過帯域に近い周波数領域において、挿入損失が急峻に変化することが求められる。
【0006】
一般的に、特許文献1に開示されたような弾性波フィルタ装置は、通過帯域に近い周波数領域において急峻に変化する通過減衰特性を実現するのに適している。しかし、弾性波フィルタ装置は、十分な帯域幅を実現することが難しいという問題点がある。
【0007】
本発明はかかる問題点に鑑みてなされたもので、その目的は、遮断周波数に近い周波数領域において急峻に変化する通過減衰特性を実現しながら、十分な帯域幅を実現することが可能なフィルタを提供することにある。
【課題を解決するための手段】
【0008】
本発明のフィルタは、第1のインダクタと、第2のインダクタと、第1の弾性波素子とを備えている。第1のインダクタと第2のインダクタの各々は、互いに反対側に位置する第1端および第2端を有している。第1のインダクタの第1端と第2のインダクタの第1端は、互いに接続されると共に、第1の弾性波素子に接続されている。第1のインダクタは、第1のインダクタ導体を含んでいる。第2のインダクタは、第2のインダクタ導体を含んでいる。第1のインダクタ導体は、一方向に長い形状を有する第1の部分を含んでいる。第2のインダクタ導体は、一方向に長い形状を有し、第1の部分に対して所定の間隔を開けて隣接するように配置された第2の部分を含んでいる。第1のインダクタ導体に沿って第1のインダクタの第1端から第2端に向かうときの、第1の部分における方向と、第2のインダクタ導体に沿って第2のインダクタの第1端から第2端に向かうときの、第2の部分における方向は、互いに反対方向である。
【発明の効果】
【0009】
本発明のフィルタでは、第1のインダクタ導体に沿って第1のインダクタの第1端から第2端に向かうときの、第1の部分における方向と、第2のインダクタ導体に沿って第2のインダクタの第1端から第2端に向かうときの、第2の部分における方向は、互いに反対方向である。これにより、本発明によれば、遮断周波数に近い周波数領域において急峻に変化する通過減衰特性を実現しながら、十分な帯域幅を実現することが可能になるという効果を奏する。
【図面の簡単な説明】
【0010】
本発明の一実施の形態に係るフィルタの回路構成を示す回路図である。
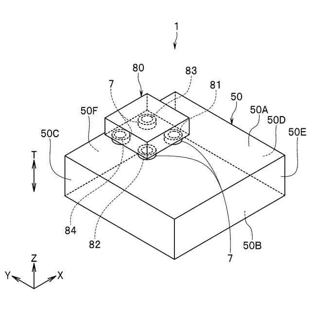
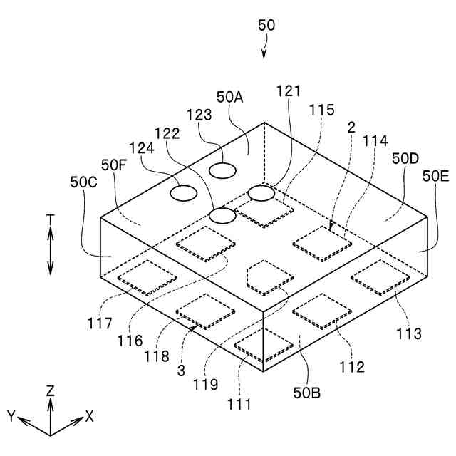
本発明の一実施の形態に係るフィルタを示す斜視図である。
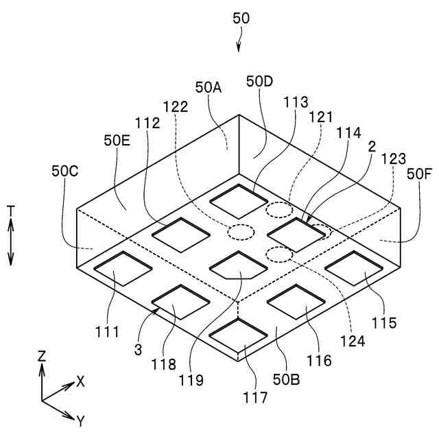
本発明の一実施の形態に係るフィルタの第1の本体を示す斜視図である。
本発明の一実施の形態に係るフィルタの第1の本体を示す斜視図である。
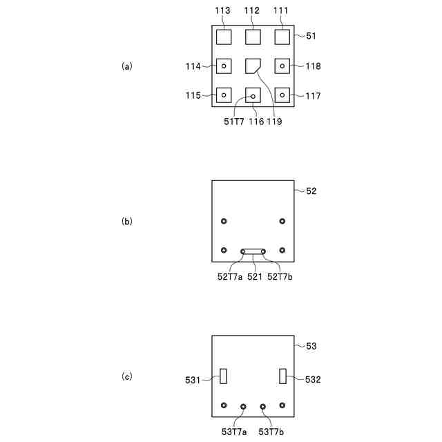
図2ないし図4に示した第1の本体における1層目ないし3層目の誘電体層のパターン形成面を示す説明図である。
図2ないし図4に示した第1の本体における4層目ないし6層目の誘電体層のパターン形成面を示す説明図である。
図2ないし図4に示した第1の本体における7層目ないし15層目の誘電体層のパターン形成面を示す説明図である。
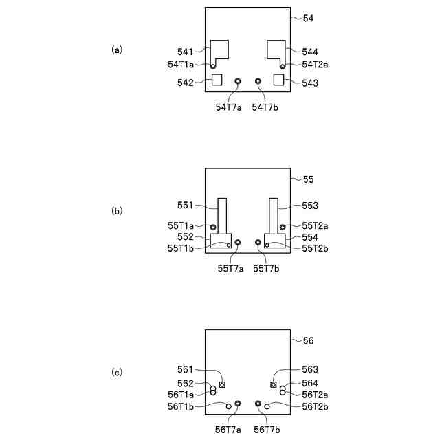
図2ないし図4に示した第1の本体における16層目ないし18層目の誘電体層のパターン形成面を示す説明図である。
図2ないし図4に示した第1の本体における18層目の誘電体層の電極形成面を示す説明図である。
本発明の一実施の形態における第1の本体の内部を示す斜視図である。
本発明の一実施の形態における第1の本体の内部の一部を示す平面図である。
第1ないし第3のモデルの通過減衰特性を示す特性図である。
図12に示した通過減衰特性の一部を拡大して示す特性図である。
図12に示した通過減衰特性の一部を拡大して示す特性図である。
本発明の一実施の形態における第1および第2のインダクタ導体の第1の変形例を示す斜視図である。
本発明の一実施の形態における第1および第2のインダクタ導体の第2の変形例を示す斜視図である。
本発明の一実施の形態における第1および第2のインダクタ導体の第3の変形例を示す斜視図である。
【発明を実施するための形態】
(【0011】以降は省略されています)
この特許をJ-PlatPat(特許庁公式サイト)で参照する
関連特許
TDK株式会社
電子部品
5日前
TDK株式会社
接合構造
10日前
TDK株式会社
電子部品
18日前
TDK株式会社
電力変換装置
18日前
TDK株式会社
アンテナモジュール
1か月前
TDK株式会社
コモンモードフィルタ
11日前
TDK株式会社
磁気センサおよびその製造方法
18日前
TDK株式会社
入力装置及び入力装置の制御方法
24日前
TDK株式会社
磁気センサおよび磁気センサの製造方法
10日前
TDK株式会社
軟磁性粉末、磁性体コア、および磁性部品
1か月前
TDK株式会社
磁性シート及びこれを備えるコイルモジュール
1か月前
TDK株式会社
軟磁性合金粒子、軟磁性粉末、圧粉磁芯および電子部品
1か月前
TDK株式会社
接合構造
3日前
TDK株式会社
コイル部品
24日前
株式会社蜂鳥
増幅器
12日前
エイブリック株式会社
増幅器
2か月前
エイブリック株式会社
増幅器
2か月前
エイブリック株式会社
増幅回路
2か月前
エイブリック株式会社
電圧検出器
3か月前
日本電波工業株式会社
圧電振動片
1か月前
日本電波工業株式会社
水晶振動子
1か月前
株式会社トーキン
ノイズフィルタ
3か月前
京セラ株式会社
差動信号フィルタデバイス
18日前
台灣晶技股ふん有限公司
水晶発振器
1か月前
株式会社村田製作所
増幅回路
3か月前
京セラ株式会社
差動信号フィルタデバイス
18日前
株式会社半導体エネルギー研究所
駆動回路
2か月前
富士電機株式会社
半導体装置
11日前
TDK株式会社
電子部品
1か月前
TDK株式会社
電子部品
2か月前
株式会社村田製作所
高周波回路
3か月前
台灣晶技股ふん有限公司
水晶発振素子
1か月前
株式会社村田製作所
弾性波装置
11日前
住友電気工業株式会社
歪補償装置
5日前
ローム株式会社
自己診断システム
1か月前
国立大学法人東北大学
弾性表面波デバイス
1か月前
続きを見る
他の特許を見る