TOP
|
特許
|
意匠
|
商標
特許ウォッチ
Twitter
他の特許を見る
公開番号
2025140442
公報種別
公開特許公報(A)
公開日
2025-09-29
出願番号
2024039852
出願日
2024-03-14
発明の名称
コイル部品
出願人
TDK株式会社
代理人
個人
,
個人
,
個人
主分類
H01F
27/29 20060101AFI20250919BHJP(基本的電気素子)
要約
【課題】外部電極の剥離を抑制可能なコイル部品を提供する。
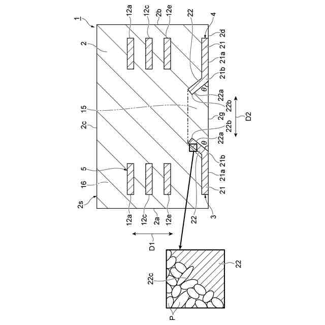
【解決手段】コイル部品1は、軟磁性金属粒子Pを含む素体2と、素体2内に配置されたコイル5と、素体2の主面2dのみから露出するように素体2に埋設され、コイル5に接続された外部電極3と、を備える。外部電極3は、主面2dから露出した露出面21aを有する第一電極部分21と、第一電極部分21から素体2の内部に突出し、コイル5から離隔した第二電極部分22と、を含む。第二電極部分22の全体が素体2の内部に設けられている。
【選択図】図4
特許請求の範囲
【請求項1】
軟磁性金属粒子を含む素体と、
前記素体内に配置されたコイルと、
前記素体の実装面のみから露出するように前記素体に埋設され、前記コイルに接続された第一外部電極と、を備え、
前記第一外部電極は、前記実装面から露出した露出面を有する第一電極部分と、前記第一電極部分から前記素体の内部に突出し、前記コイルから離隔した第二電極部分と、を含み、
前記第二電極部分の全体が前記素体の内部に設けられている、
コイル部品。
続きを表示(約 530 文字)
【請求項2】
前記素体の実装面のみから露出するように前記素体に埋設され、前記コイルに接続された第二外部電極を更に備え、
前記第一外部電極及び前記第二外部電極は、互いに離隔しており、
前記第一電極部分は、前記第二外部電極寄りの縁部を有し、
前記実装面に直交する第一方向から見て、前記第二電極部分は、前記縁部から前記第二外部電極に向かって突出している、
請求項1に記載のコイル部品。
【請求項3】
前記第二電極部分と前記実装面とがなす角度は、0度よりも大きく、90度よりも小さい、
請求項2に記載のコイル部品。
【請求項4】
前記素体は、前記実装面の一部を含み、前記第二電極部分を覆っている素体部分を有し、
前記素体部分は、ガラス成分を含んでいる、
請求項1~3のいずれか一項に記載のコイル部品。
【請求項5】
前記素体部分は、前記軟磁性金属粒子を更に含んでいる、
請求項4に記載のコイル部品。
【請求項6】
前記第二電極部分は、前記軟磁性金属粒子間に入り込む突起を有している、
請求項1~3のいずれか一項に記載のコイル部品。
発明の詳細な説明
【技術分野】
【0001】
本開示は、コイル部品に関する。
続きを表示(約 1,200 文字)
【背景技術】
【0002】
素体と、素体内に配置されたコイルと、素体の実装面のみに設けられた外部電極と、を備えるコイル部品が知られている(たとえば、特許文献1参照)。
【先行技術文献】
【特許文献】
【0003】
国際公開第2011/135936号
【発明の概要】
【発明が解決しようとする課題】
【0004】
上記コイル部品では、外部電極が素体の実装面のみに設けられているので、外部電極が素体の複数の面にわたって設けられた構成に比べて、外部電極が素体から剥離し易い。
【0005】
本開示は、外部電極の剥離を抑制可能なコイル部品を提供することを目的とする。
【課題を解決するための手段】
【0006】
(1)本開示の一態様に係るコイル部品は、軟磁性金属粒子を含む素体と、前記素体内に配置されたコイルと、前記素体の実装面のみから露出するように前記素体に埋設され、前記コイルに接続された第一外部電極と、を備え、前記第一外部電極は、前記実装面から露出した露出面を有する第一電極部分と、前記第一電極部分から前記素体の内部に突出し、前記コイルから離隔した第二電極部分と、を含み、前記第二電極部分の全体が前記素体の内部に設けられている。
【0007】
上記コイル部品では、第一外部電極は、第一電極部分から素体の内部に突出し、全体が素体の内部に設けられた第二電極部分を有しているので、第一外部電極が第二電極部分を有さない構成に比べて、第一外部電極と素体との接触面積が増す。これにより、第一外部電極が素体から剥離することが抑制される。
【0008】
(2)上記(1)のコイル部品は、前記素体の実装面のみから露出するように前記素体に埋設され、前記コイルに接続された第二外部電極を更に備え、前記第一外部電極及び前記第二外部電極は、互いに離隔しており、前記第一電極部分は、前記第二外部電極寄りの縁部を有し、前記実装面に直交する第一方向から見て、前記第二電極部分は、前記縁部から前記第二外部電極に向かって突出していてもよい。この場合、コイル部品を回路基板にはんだ実装したときの撓み応力により、第一電極部分の縁部と素体との間の部分を起点としたクラックが進展することを、第二電極部分により抑制することができる。
【0009】
(3)上記(2)のコイル部品において、前記第二電極部分と前記実装面とがなす角度は、0度よりも大きく、90度よりも小さくてもよい。この場合、上記クラックの進展を第二電極部分により効果的に抑制することができる。
【0010】
(4)上記(1)~(3)のいずれか一つのコイル部品において、前記素体は、前記実装面の一部を含み、前記第二電極部分を覆っている素体部分を有し、前記素体部分は、ガラス成分を含んでいてもよい。この場合、めっき延びを抑制することができる。
(【0011】以降は省略されています)
この特許をJ-PlatPat(特許庁公式サイト)で参照する
関連特許
TDK株式会社
センサ
2か月前
TDK株式会社
フィルタ
2か月前
TDK株式会社
電子部品
2か月前
TDK株式会社
電子部品
2か月前
TDK株式会社
圧電素子
2か月前
TDK株式会社
電子部品
2か月前
TDK株式会社
電子部品
7日前
TDK株式会社
電子部品
2か月前
TDK株式会社
電子部品
1か月前
TDK株式会社
電子部品
20日前
TDK株式会社
接合構造
12日前
TDK株式会社
電子部品
2か月前
TDK株式会社
熱処理容器
1か月前
TDK株式会社
コイル装置
2か月前
TDK株式会社
コイル部品
2か月前
TDK株式会社
コイル装置
2か月前
TDK株式会社
コイル装置
2か月前
TDK株式会社
コイル装置
2か月前
TDK株式会社
磁気センサ
2か月前
TDK株式会社
コイル部品
2か月前
TDK株式会社
ガスセンサ
2か月前
TDK株式会社
コイル部品
2か月前
TDK株式会社
圧力センサ
2か月前
TDK株式会社
ガスセンサ
2か月前
TDK株式会社
コイル部品
2か月前
TDK株式会社
コイル部品
2か月前
TDK株式会社
積層型分波器
2か月前
TDK株式会社
電子デバイス
2か月前
TDK株式会社
電磁波センサ
2か月前
TDK株式会社
熱間加工磁石
2か月前
TDK株式会社
電子デバイス
2か月前
TDK株式会社
電力変換装置
20日前
TDK株式会社
積層コイル部品
2か月前
TDK株式会社
積層コイル部品
2か月前
TDK株式会社
積層型電子部品
2か月前
TDK株式会社
積層コイル部品
2か月前
続きを見る
他の特許を見る