TOP
|
特許
|
意匠
|
商標
特許ウォッチ
Twitter
他の特許を見る
10個以上の画像は省略されています。
公開番号
2025152861
公報種別
公開特許公報(A)
公開日
2025-10-10
出願番号
2024055021
出願日
2024-03-28
発明の名称
電子デバイス
出願人
TDK株式会社
代理人
前田・鈴木国際特許弁理士法人
主分類
H10N
35/00 20230101AFI20251002BHJP()
要約
【課題】積層体にクラックが生じにくい電子デバイスを提供する。
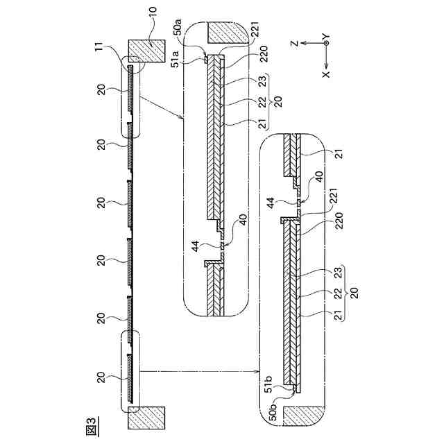
【解決手段】電子デバイスは、少なくとも1つの開口部11を有するフレーム10と、電極膜と電極膜に積層された少なくとも1つの機能性膜とを有する積層体20と、積層体20に電気的に接続された導電パターン30と、を有する。積層体20は、積層体20の積層方向から見てフレーム10と重なっていない第1積層体を有し、第1積層体は、少なくとも導電パターン30を介してフレーム10に接続されている。
【選択図】図2A
特許請求の範囲
【請求項1】
少なくとも1つの開口部を有するフレームと、
電極膜と前記電極膜に積層された少なくとも1つの機能性膜とを有する積層体と、
前記積層体に電気的に接続された導電パターンと、を有し、
前記積層体は、前記積層体の積層方向から見て前記フレームと重なっていない第1積層体を有し、
前記第1積層体は、少なくとも前記導電パターンを介して前記フレームに接続されている電子デバイス。
続きを表示(約 1,100 文字)
【請求項2】
前記積層体は、少なくとも1つの前記機能性膜として、圧電膜と磁歪膜の少なくとも一方を有する請求項1に記載の電子デバイス。
【請求項3】
前記積層体は、少なくとも1つの前記機能性膜として、前記圧電膜と前記磁歪膜とを有し、
前記電極膜と前記圧電膜と前記磁歪膜とは、この順番で積層されている請求項2に記載の電子デバイス。
【請求項4】
前記積層体は、複数の前記積層体からなり、
複数の前記積層体は、前記積層方向に垂直な第1方向に配列され、
前記導電パターンは、前記第1方向において、複数の前記積層体の間を橋渡しする請求項1~3のいずれかに記載の電子デバイス。
【請求項5】
前記第1方向において、複数の前記積層体の間には、空隙が形成されており、
前記空隙は、前記積層方向から見て、前記導電パターンと重ならない位置に位置する請求項4に記載の電子デバイス。
【請求項6】
前記第1方向において、複数の前記積層体の間には、前記フレームが配置されていない請求項5に記載の電子デバイス。
【請求項7】
前記フレームは、前記第1方向において、前記積層方向から見て複数の前記積層体の間に位置する内枠部を有し、
前記導電パターンの少なくとも一部は、前記積層方向から見て、前記内枠部と重なっており、
複数の前記積層体と前記内枠部との間には、空隙が形成されており、
前記空隙は、前記積層方向から見て、前記導電パターンと重ならない位置に位置する請求項4に記載の電子デバイス。
【請求項8】
前記導電パターンは、複数の前記導電パターンからなり、
前記積層体は、複数の積層体からなり、
複数の前記積層体は、前記積層方向に垂直な第1方向と、前記積層方向および前記第1方向に垂直な第2方向とに配列され、
複数の前記積層体が複数の直列回路を形成するように、少なくとも一つの前記導電パターンによって、前記第1方向に配列された複数の前記積層体は直列に電気的に接続され、
複数の前記直列回路は、並列に電気的に接続されている請求項1~3のいずれかに記載の電子デバイス。
【請求項9】
前記第1方向において、複数の前記積層体の間には、空隙が形成されており、
前記空隙は、前記積層方向から見て、複数の前記導電パターンと重ならない位置に位置する請求項8に記載の電子デバイス。
【請求項10】
前記第1方向において、複数の前記積層体の間には、前記フレームが配置されていない請求項9に記載の電子デバイス。
(【請求項11】以降は省略されています)
発明の詳細な説明
【技術分野】
【0001】
本開示は、アンテナ等としての利用が可能な電子デバイスに関する。
続きを表示(約 1,100 文字)
【背景技術】
【0002】
機械的エネルギーと電気的(磁気的)エネルギーを相互変換する機能を備えた機能性材料として、例えば圧電材料あるいは磁歪材料が知られている。圧電材料は、外力の印加に応じて、外力を電力に変換する圧電効果を奏する材料である。磁歪材料は、外部磁場の印加に応じて、外部磁場を歪に変換する磁歪効果を奏する材料である。このような機能性材料は、薄膜化されて、圧力センサ、磁気センサ、アンテナ、エネルギー変換デバイス等の電子デバイスに組み込まれる。
【0003】
例えば特許文献1の電子デバイスにおいて、機能性材料で構成された薄膜(以下、機能性膜)は、導電性を有する電極膜に積層され、電極膜とともに積層体を構成する。積層体は、開口部を有するフレームに配置され、圧電効果および磁歪効果に基づいて振動可能な振動体を構成する。
【先行技術文献】
【特許文献】
【0004】
特開2021―64733号公報
【発明の概要】
【発明が解決しようとする課題】
【0005】
ところで、歪あるいは残留応力に起因して積層体に引張応力が生じると、積層体にクラックが生じるおそれがあり、これを防止する技術が求められている。
【0006】
本開示は、積層体にクラックが生じにくい電子デバイスを提供する。
【課題を解決するための手段】
【0007】
本開示の一実施形態に係る電子デバイスは、
少なくとも1つの開口部を有するフレームと、
電極膜と前記電極膜に積層された少なくとも1つの機能性膜とを有する積層体と、
前記積層体に電気的に接続された導電パターンと、を有し、
前記積層体は、前記積層体の積層方向から見て前記フレームと重なっていない第1積層体を有し、
前記第1積層体は、少なくとも前記導電パターンを介して前記フレームに接続されている。
【0008】
前記積層体は、少なくとも1つの前記機能性膜として、圧電膜と磁歪膜の少なくとも一方を有していてもよい。
【0009】
前記積層体は、少なくとも1つの前記機能性膜として、前記圧電膜と前記磁歪膜とを有し、前記電極膜と前記圧電膜と前記磁歪膜とは、この順番で積層されていてもよい。
【0010】
前記積層体は、複数の前記積層体からなり、複数の前記積層体は、前記積層方向に垂直な第1方向に配列され、前記導電パターンは、前記第1方向において、複数の前記積層体の間を橋渡ししてもよい。
(【0011】以降は省略されています)
この特許をJ-PlatPat(特許庁公式サイト)で参照する
関連特許
TDK株式会社
センサ
1か月前
TDK株式会社
電子部品
29日前
TDK株式会社
圧電素子
1か月前
TDK株式会社
電子部品
1か月前
TDK株式会社
電子部品
1か月前
TDK株式会社
フィルタ
1か月前
TDK株式会社
電子部品
29日前
TDK株式会社
電子部品
25日前
TDK株式会社
電子部品
1か月前
TDK株式会社
電子部品
1か月前
TDK株式会社
フィルタ
1か月前
TDK株式会社
電子部品
1か月前
TDK株式会社
電子部品
1か月前
TDK株式会社
ガスセンサ
1か月前
TDK株式会社
コイル装置
29日前
TDK株式会社
センサ装置
1か月前
TDK株式会社
磁気センサ
1か月前
TDK株式会社
光検知装置
1か月前
TDK株式会社
ガスセンサ
1か月前
TDK株式会社
コイル部品
1か月前
TDK株式会社
コイル部品
1か月前
TDK株式会社
圧力センサ
1か月前
TDK株式会社
ガスセンサ
1か月前
TDK株式会社
コイル部品
1か月前
TDK株式会社
コイル装置
29日前
TDK株式会社
コイル部品
29日前
TDK株式会社
コイル部品
1か月前
TDK株式会社
コイル装置
1か月前
TDK株式会社
コイル装置
29日前
TDK株式会社
コイル部品
1か月前
TDK株式会社
コイル装置
29日前
TDK株式会社
コイル部品
1か月前
TDK株式会社
コイル部品
1か月前
TDK株式会社
熱処理容器
18日前
TDK株式会社
コイル部品
1か月前
TDK株式会社
コイル部品
29日前
続きを見る
他の特許を見る