TOP
|
特許
|
意匠
|
商標
特許ウォッチ
Twitter
他の特許を見る
10個以上の画像は省略されています。
公開番号
2025142897
公報種別
公開特許公報(A)
公開日
2025-10-01
出願番号
2024042502
出願日
2024-03-18
発明の名称
コイル部品
出願人
TDK株式会社
代理人
個人
,
個人
主分類
H01F
17/00 20060101AFI20250924BHJP(基本的電気素子)
要約
【課題】ダミーパターンを用いることなく、上層のコイルパターンの形成時におけるプロセス条件を改善する。
【解決手段】コイル部品1は、最内周ターン112及びこれに隣接するターン113bを有するコイルパターン110と、最内周ターン212及びこれに隣接するターン213bを有するコイルパターン210を備える。最内周ターン212は、最内周ターン112の区間112Aと重なるよう、これに沿って延在する区間212Aと、最内周ターン112の区間112Bと重なるよう、これに沿って延在し、外周端から内周端に向かう周回方向に進むに連れて、ターン213bとの間のスペースが拡大する区間212Bと、最内周ターン112と重なることなく、外周端から内周端に向かう周回方向に進むに連れて、ターン213bとの間のスペースが縮小する区間212Cとを含む。
【選択図】図9
特許請求の範囲
【請求項1】
スパイラル状に複数ターンに亘って周回する第1のコイルパターンと、
絶縁層を介して前記第1のコイルパターンに積層され、スパイラル状に複数ターンに亘って周回する第2のコイルパターンと、
を備え、
前記第1のコイルパターンは、最内周に位置する第1のターンと、前記第1のターンに隣接する第2のターンを含み、
前記第2のコイルパターンは、最内周に位置する第3のターンと、前記第3のターンに隣接する第4のターンを含み、
前記第1のターンは、
前記第2のターンとの間のスペースが第1の距離である第1の区間と、
前記第1の区間よりも内周端側に位置し、前記第2のターンとの間のスペースが前記第1の距離よりも大きく、且つ、前記第1のコイルパターンの外周端から前記内周端に向かう周回方向に進むに連れて、前記第2のターンとの間のスペースが拡大する第2の区間と、
を含み、
前記第3のターンは、
前記第4のターンとの間のスペースが前記第1の距離であり、積層方向から見て前記第1のターンの前記第1の区間と重なるよう、前記第1のターンの前記第1の区間に沿って延在する第3の区間と、
前記第3の区間よりも内周端側に位置し、前記積層方向から見て前記第1のターンの前記第2の区間と重なるよう、前記第1のターンの前記第2の区間に沿って延在するとともに、前記第4のターンとの間のスペースが前記第1の距離よりも大きく、且つ、前記第2のコイルパターンの外周端から前記内周端に向かう周回方向に進むに連れて、前記第4のターンとの間のスペースが拡大する第4の区間と、
前記第4の区間よりも前記内周端側に位置し、前記積層方向から見て前記第1のターンと重なることなく、前記第2のコイルパターンの前記外周端から前記内周端に向かう周回方向に進むに連れて、前記第4のターンとの間のスペースが縮小する第5の区間と、
を含む、
コイル部品。
続きを表示(約 1,200 文字)
【請求項2】
前記第3のターンは、前記第5の区間よりも前記内周端側に位置し、前記第4のターンとの間のスペースが前記第1の距離である第6の区間をさらに含む、
請求項1に記載のコイル部品。
【請求項3】
スパイラル状に複数ターンに亘って周回する第1のコイルパターンと、
絶縁層を介して前記第1のコイルパターンに積層され、スパイラル状に複数ターンに亘って周回する第2のコイルパターンと、
を備え、
前記第1のコイルパターンは、最外周に位置する第1のターンと、前記第1のターンに隣接する第2のターンを含み、
前記第2のコイルパターンは、最外周に位置する第3のターンと、前記第3のターンに隣接する第4のターンを含み、
前記第1のターンは、
前記第2のターンとの間のスペースが第1の距離である第1の区間と、
前記第1の区間よりも外周端側に位置し、前記第2のターンとの間のスペースが前記第1の距離よりも大きく、且つ、前記第1のコイルパターンの内周端から前記外周端に向かう周回方向に進むに連れて、前記第2のターンとの間のスペースが拡大する第2の区間と、
を含み、
前記第3のターンは、
前記第4のターンとの間のスペースが前記第1の距離であり、積層方向から見て前記第1のターンの前記第1の区間と重なるよう、前記第1のターンの前記第1の区間に沿って延在する第3の区間と、
前記第3の区間よりも外周端側に位置し、前記積層方向から見て前記第1のターンの前記第2の区間と重なるよう、前記第1のターンの前記第2の区間に沿って延在するとともに、前記第4のターンとの間のスペースが前記第1の距離よりも大きく、且つ、前記第2のコイルパターンの内周端から前記外周端に向かう周回方向に進むに連れて、前記第4のターンとの間のスペースが拡大する第4の区間と、
前記第4の区間よりも前記外周端側に位置し、前記積層方向から見て前記第1のターンと重なることなく、前記第2のコイルパターンの前記内周端から前記外周端に向かう周回方向に進むに連れて、前記第4のターンとの間のスペースが縮小する第5の区間と、
を含む、
コイル部品。
【請求項4】
前記第3のターンは、前記第5の区間よりも前記外周端側に位置し、前記第4のターンとの間のスペースが前記第1の距離である第6の区間をさらに含む、
請求項3に記載のコイル部品。
【請求項5】
前記第1のコイルパターンの前記第1のターンは、前記第2の区間の延在方向に延長した第7の区間をさらに含み、
前記第7の区間は、前記積層方向から見て前記第2のコイルパターンと重ならない、
請求項1から請求項4のいずれか一項に記載のコイル部品。
【請求項6】
前記第2のコイルパターンは、前記第4の区間と前記第5の区間の間において略直角に折れ曲がる、
請求項5に記載のコイル部品。
発明の詳細な説明
【技術分野】
【0001】
本開示はコイル部品に関し、特に、絶縁層を介して積層された複数のコイルパターンを有するコイル部品に関する。
続きを表示(約 2,600 文字)
【背景技術】
【0002】
特許文献1には、絶縁層を介して積層された2つのコイルパターンを有するチップ型のコイル部品が開示されている。特許文献1に記載されたコイル部品は、下層のコイルパターンによって生じる絶縁層の凹凸が、上層のコイルパターンの形成時におけるプロセス条件を悪化させないよう、下層のコイルパターンにダミーパターンを付加している。
【先行技術文献】
【特許文献】
【0003】
特開2020-202392号公報
【発明の概要】
【発明が解決しようとする課題】
【0004】
しかしながら、コイルパターンにダミーパターンを付加すると、ダミーパターンによって信号が反射するなど、高周波特性に影響するという問題があった。
【0005】
本開示においては、絶縁層を介して積層された複数のコイルパターンを有するコイル部品において、ダミーパターンを用いることなく、上層のコイルパターンの形成時におけるプロセス条件を改善する技術が説明される。
【課題を解決するための手段】
【0006】
本開示の一側面によるコイル部品は、スパイラル状に複数ターンに亘って周回する第1のコイルパターンと、絶縁層を介して第1のコイルパターンに積層され、スパイラル状に複数ターンに亘って周回する第2のコイルパターンと、を備え、第1のコイルパターンは、最内周に位置する第1のターンと、第1のターンに隣接する第2のターンを含み、第2のコイルパターンは、最内周に位置する第3のターンと、第3のターンに隣接する第4のターンを含み、第1のターンは、第2のターンとの間のスペースが第1の距離である第1の区間と、第1の区間よりも内周端側に位置し、第2のターンとの間のスペースが第1の距離よりも大きく、且つ、第1のコイルパターンの外周端から内周端に向かう周回方向に進むに連れて、第2のターンとの間のスペースが拡大する第2の区間と、を含み、第3のターンは、第4のターンとの間のスペースが第1の距離であり、積層方向から見て第1のターンの第1の区間と重なるよう、第1のターンの第1の区間に沿って延在する第3の区間と、第3の区間よりも内周端側に位置し、積層方向から見て第1のターンの第2の区間と重なるよう、第1のターンの第2の区間に沿って延在するとともに、第4のターンとの間のスペースが第1の距離よりも大きく、且つ、第2のコイルパターンの外周端から内周端に向かう周回方向に進むに連れて、第4のターンとの間のスペースが拡大する第4の区間と、第4の区間よりも内周端側に位置し、積層方向から見て第1のターンと重なることなく、第2のコイルパターンの外周端から内周端に向かう周回方向に進むに連れて、第4のターンとの間のスペースが縮小する第5の区間と、を含む。
【0007】
本開示の他の側面によるコイル部品は、スパイラル状に複数ターンに亘って周回する第1のコイルパターンと、絶縁層を介して第1のコイルパターンに積層され、スパイラル状に複数ターンに亘って周回する第2のコイルパターンと、を備え、第1のコイルパターンは、最外周に位置する第1のターンと、第1のターンに隣接する第2のターンを含み、第2のコイルパターンは、最外周に位置する第3のターンと、第3のターンに隣接する第4のターンを含み、第1のターンは、第2のターンとの間のスペースが第1の距離である第1の区間と、第1の区間よりも外周端側に位置し、第2のターンとの間のスペースが第1の距離よりも大きく、且つ、第1のコイルパターンの内周端から外周端に向かう周回方向に進むに連れて、第2のターンとの間のスペースが拡大する第2の区間と、を含み、第3のターンは、第4のターンとの間のスペースが第1の距離であり、積層方向から見て第1のターンの第1の区間と重なるよう、第1のターンの第1の区間に沿って延在する第3の区間と、第3の区間よりも外周端側に位置し、積層方向から見て第1のターンの第2の区間と重なるよう、第1のターンの第2の区間に沿って延在するとともに、第4のターンとの間のスペースが第1の距離よりも大きく、且つ、第2のコイルパターンの内周端から外周端に向かう周回方向に進むに連れて、第4のターンとの間のスペースが拡大する第4の区間と、第4の区間よりも外周端側に位置し、積層方向から見て第1のターンと重なることなく、第2のコイルパターンの内周端から外周端に向かう周回方向に進むに連れて、第4のターンとの間のスペースが縮小する第5の区間と、を含む。
【発明の効果】
【0008】
本開示によれば、絶縁層を介して積層された複数のコイルパターンを有するコイル部品において、ダミーパターンを用いることなく、上層のコイルパターンの形成時におけるプロセス条件を改善する技術が提供される。
【図面の簡単な説明】
【0009】
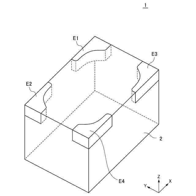
図1は、本開示に係る技術の一実施形態によるコイル部品1の外観を示す略斜視図である。
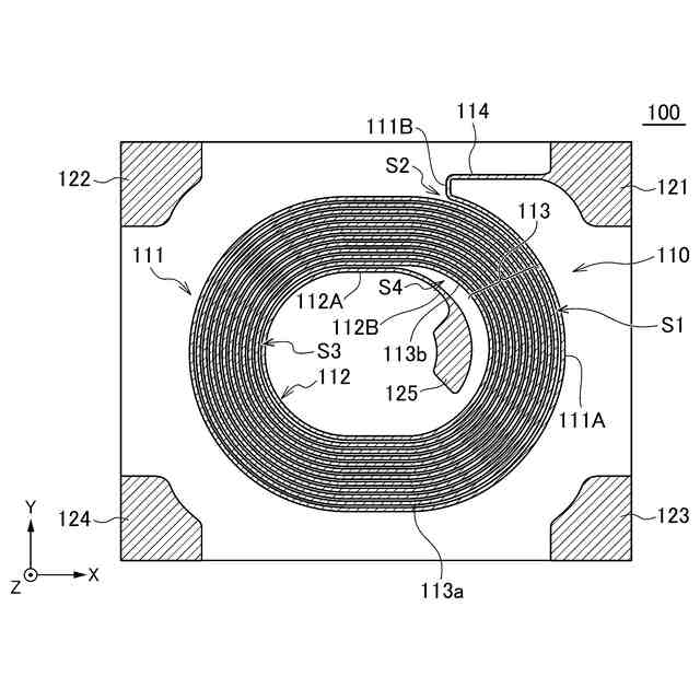
図2は、導体層100のパターン形状を説明するための略平面図である。
図3は、絶縁層10の略平面図である。
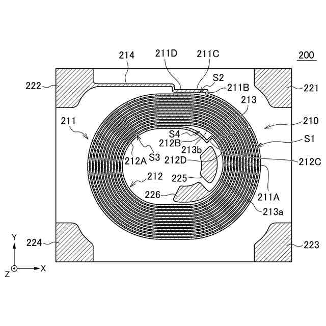
図4は、導体層200のパターン形状を説明するための略平面図である。
図5は、絶縁層20の略平面図である。
図6は、導体層300のパターン形状を説明するための略平面図である。
図7は、絶縁層30の略平面図である。
図8は、コイル部品1の等価回路図である。
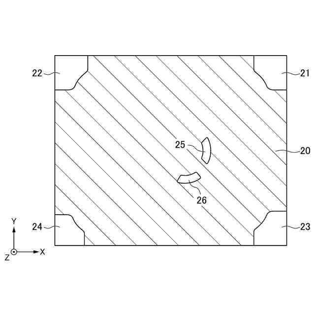
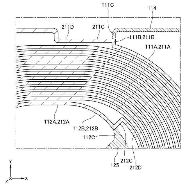
図9は、コイルパターン110とコイルパターン210を重ねた状態を示す模式的な拡大図である。
図10は、比較例によるパターン形状を説明するための図である。
図11は、図10に示す比較例の問題点を説明するための模式的な断面図である。
図12は、図10に示す比較例の問題点を説明するための模式的な断面図である。
図13は、変形例による導体層200Aのパターン形状を説明するための略平面図である。
【発明を実施するための形態】
【0010】
以下、添付図面を参照しながら、本開示に係る技術の実施形態について詳細に説明する。
(【0011】以降は省略されています)
この特許をJ-PlatPat(特許庁公式サイト)で参照する
関連特許
TDK株式会社
電子部品
24日前
TDK株式会社
電子部品
28日前
TDK株式会社
コイル部品
28日前
TDK株式会社
熱処理容器
17日前
TDK株式会社
アンテナモジュール
8日前
TDK株式会社
配線体、及び表示装置
28日前
TDK株式会社
入力装置及び入力装置の制御方法
14日前
TDK株式会社
電子部品及び電子部品の製造方法
28日前
TDK株式会社
物理レザバー素子及び物理レザバー
10日前
TDK株式会社
非可逆回路素子及び量子コンピュータ
14日前
TDK株式会社
インダクタおよびDC-DCコンバータ
28日前
TDK株式会社
軟磁性粉末、磁性体コア、および磁性部品
今日
TDK株式会社
磁性シート及びこれを備えるコイルモジュール
今日
TDK株式会社
圧電薄膜、圧電薄膜素子、及び圧電トランスデューサ
28日前
TDK株式会社
圧電薄膜、圧電薄膜素子、及び圧電トランスデューサ
28日前
TDK株式会社
軟磁性合金粒子、軟磁性粉末、圧粉磁芯および電子部品
今日
TDK株式会社
固体電解コンデンサ及び固体電解コンデンサの製造方法
9日前
TDK株式会社
電子部品、電子部品の製造方法および電子部品の製造装置
28日前
TDK株式会社
振動デバイス
24日前
TDK株式会社
MEMSデバイス
21日前
TDK株式会社
磁気センサ、磁場検出装置、位置検出装置、レンズモジュール、および撮像装置
14日前
TDK株式会社
物理レザバー素子及び物理レザバー
10日前
TDK株式会社
磁気センサ、磁場検出装置、位置検出装置、レンズモジュール、撮像装置、および磁気センサの製造方法
14日前
TDK株式会社
光合波器、光合波部材、光変調機能付き光合波部材、可視光光源モジュール、光学エンジン及びXRグラス
14日前
TDK株式会社
光変調器、光源モジュール、光学エンジン、XRグラス、光通信用送信装置で、光通信システム、光変調器の制御方法
14日前
TDK株式会社
光変調器、光源モジュール、光学エンジン、画像表示装置、XRグラス、光通信用送信装置、光通信システム、光変調器の制御方法
14日前
株式会社プロテリアル
フェライト磁心、並びにそれを用いたコイル部品及び電子部品
10日前
東ソー株式会社
絶縁電線
16日前
APB株式会社
蓄電セル
14日前
個人
フレキシブル電気化学素子
28日前
株式会社東芝
端子台
8日前
株式会社ユーシン
操作装置
28日前
ローム株式会社
半導体装置
15日前
マクセル株式会社
電源装置
8日前
日新イオン機器株式会社
イオン源
24日前
オムロン株式会社
電磁継電器
29日前
続きを見る
他の特許を見る