TOP
|
特許
|
意匠
|
商標
特許ウォッチ
Twitter
他の特許を見る
10個以上の画像は省略されています。
公開番号
2025161231
公報種別
公開特許公報(A)
公開日
2025-10-24
出願番号
2024064250
出願日
2024-04-11
発明の名称
磁気センサ、磁場検出装置、位置検出装置、レンズモジュール、および撮像装置
出願人
TDK株式会社
代理人
弁理士法人つばさ国際特許事務所
主分類
G01R
33/02 20060101AFI20251017BHJP(測定;試験)
要約
【課題】小型でありながら所定の方向の磁場を精度よく検出することのできる磁場検出装置に適用される磁気センサを提供する。
【解決手段】磁気センサは、磁気ヨークを含む第1の階層と、磁場検出素子および磁場検出素子に対し磁場をそれぞれ付与すると共に第1軸方向に沿って離散的に配置された複数の磁場発生体を含む第2の階層とが、第2軸方向に順に積層された積層構造を有する。磁場検出素子は、第1軸方向において複数の磁場発生体から選択される2つの磁場発生体に挟まれており、磁気ヨークは、第1軸方向に延在すると共に、第2軸方向に眺めた平面視において第3軸方向に磁場検出素子と隣り合っている。第1軸方向に並ぶ複数の磁場発生体は、第1軸方向の第1端に配置された第1の磁場発生体と、第1軸方向の第2端に配置された第2の磁場発生体とを含み、第1の磁場発生体の第1端縁と第2の磁場発生体の第2端縁との距離は、磁気ヨークの第2軸方向の長さよりも短い。
【選択図】図1B
特許請求の範囲
【請求項1】
磁気ヨークを含む第1の階層と、磁場検出素子および前記磁場検出素子に対し磁場をそれぞれ付与すると共に第1軸方向に沿って離散的に配置された複数の磁場発生体を含む第2の階層とが、前記第1軸方向と交差する第2軸方向に順に積層された積層構造を有し、
前記磁場検出素子は、前記第1軸方向において前記複数の磁場発生体から選択される2つの前記磁場発生体に挟まれており、
前記磁気ヨークは、前記第1軸方向に延在すると共に、前記第2軸方向に眺めた平面視において前記第1軸方向および前記第2軸方向の双方と交差する第3軸方向に前記磁場検出素子と隣り合っており、
前記第1軸方向に並ぶ前記複数の磁場発生体は、前記第1軸方向の第1端に配置された第1の磁場発生体と、前記第1軸方向の前記第1端と反対側の第2端に配置された第2の磁場発生体とを含み、
前記第1の磁場発生体のうちの前記第2の磁場発生体から見て最も遠くに位置する第1端縁と、前記第2の磁場発生体のうちの前記第1の磁場発生体から見て最も遠くに位置する第2端縁との距離は、前記磁気ヨークの前記第2軸方向の長さよりも短い
磁気センサ。
続きを表示(約 1,100 文字)
【請求項2】
前記複数の磁場発生体は、強磁性体と、前記強磁性体に接して前記強磁性体と交換結合する反強磁性体とを含む交換結合バイアス構造体である
請求項1記載の磁気センサ。
【請求項3】
前記磁場検出素子の前記第2軸方向の長さは、前記複数の磁場発生体の前記第2軸方向の長さよりも短い
請求項1記載の磁気センサ。
【請求項4】
前記磁場検出素子の前記第3軸方向の幅は、前記複数の磁場発生体のそれぞれの前記第3軸方向の幅よりも狭い
請求項1記載の磁気センサ。
【請求項5】
前記積層構造を支持する支持体をさらに有する
請求項1記載の磁気センサ。
【請求項6】
前記支持体は、磁気シールドである
請求項1記載の磁気センサ。
【請求項7】
前記磁場検出素子は、磁化固定層とギャップ層と磁化自由層とが順に積層された積層体を含む磁気抵抗効果素子である
請求項1記載の磁気センサ。
【請求項8】
磁場検出素子と、
前記磁場検出素子に対し磁場をそれぞれ付与すると共に第1軸方向に沿って離散的に配置された複数の磁場発生体と
を有し、
前記複数の磁場発生体は、強磁性体と、前記強磁性体に接しつつ前記強磁性体と交換結合する反強磁性体とを含む交換結合バイアス構造体であり、
前記磁場検出素子は、前記第1軸方向において前記複数の磁場発生体から選択される2つの前記磁場発生体に挟まれており、
前記磁気ヨークは、前記第1軸方向に延在すると共に、前記第2軸方向に眺めた平面視において前記第1軸方向および前記第2軸方向の双方と交差する第3軸方向に前記磁場検出素子と隣り合っており、
前記第1軸方向に並ぶ前記複数の磁場発生体は、前記第1軸方向の第1端に配置された第1の磁場発生体と、前記第1軸方向の前記第1端と反対側の第2端に配置された第2の磁場発生体とを含み、
前記第1の磁場発生体のうちの前記第2の磁場発生体から見て最も遠くに位置する第1端縁と、前記第2の磁場発生体のうちの前記第1の磁場発生体から見て最も遠くに位置する第2端縁との距離は、前記磁気ヨークの前記第2軸方向の長さよりも短い
磁気センサ。
【請求項9】
請求項1から請求項8のいずれか1項に記載の磁気センサを備えた磁場検出装置。
【請求項10】
請求項1から請求項8のいずれか1項に記載の磁気センサを備えた位置検出装置。
(【請求項11】以降は省略されています)
発明の詳細な説明
【技術分野】
【0001】
本開示は、磁気センサ、ならびに磁気センサを備えた磁場検出装置、位置検出装置、レンズモジュールおよび撮像装置に関する。
続きを表示(約 2,900 文字)
【背景技術】
【0002】
近年、種々の用途で、磁気抵抗効果素子を用いた磁気センサが利用されている。磁気抵抗効果素子としては、例えばスピンバルブ型の磁気抵抗効果素子が用いられる。磁気センサでは、種々の目的のために、磁気抵抗効果素子に対しバイアス磁場が印加される場合がある。例えば特許文献1には、巨大磁気抵抗効果素子のフリー磁性層の抵抗に生じるオフセットを低減するために、1つのフリー磁性層のうちの第1部分および第2部分に対して、互いに逆向きのバイアス磁界をそれぞれ印加する複数のバイアス磁界印加部を備えた磁気センサが開示されている。複数のバイアス磁界印加部の各々は、磁性層が2つの反強磁性層に挟まれた構造を有している。
【先行技術文献】
【特許文献】
【0003】
特開2022-77691号公報
【発明の概要】
【発明が解決しようとする課題】
【0004】
ところで、磁気センサを含む磁場検出装置では、基板上に設けられた磁気抵抗効果素子によって、基板の面に垂直な方向の成分を含む磁場を検出したい場合がある。また、そのような磁場検出装置に対しては、小型化と共に検出精度の向上が求められている。
【0005】
したがって、小型でありながら所定の方向の磁場を精度よく検出することのできる磁場検出装置、およびその磁場検出装置に適用される磁気センサの提供が望まれる。
【課題を解決するための手段】
【0006】
本開示の第1の実施態様としての磁気センサは、積層構造を有する。積層構造は、磁気ヨークを含む第1の階層と、磁場検出素子およびその磁場検出素子に対し磁場をそれぞれ付与すると共に第1軸方向に沿って離散的に配置された複数の磁場発生体を含む第2の階層とが、第1軸方向と交差する第2軸方向に順に積層されたものである。磁場検出素子は、第1軸方向において複数の磁場発生体から選択される2つの磁場発生体に挟まれている。磁気ヨークは、第1軸方向に延在すると共に、第2軸方向に眺めた平面視において第1軸方向および第2軸方向の双方と交差する第3軸方向に磁場検出素子と隣り合っている。第1軸方向に並ぶ複数の磁場発生体は、第1軸方向の第1端に配置された第1の磁場発生体と、第1軸方向の第1端と反対側の第2端に配置された第2の磁場発生体とを含む。第1の磁場発生体のうちの第2の磁場発生体から見て最も遠くに位置する第1端縁と、第2の磁場発生体のうちの第1の磁場発生体から見て最も遠くに位置する第2端縁との距離は、磁気ヨークの第2軸方向の長さよりも短い。
本開示の第1の実施態様としての磁場検出装置、位置検出装置、レンズモジュール、および撮像装置は、上記本開示の第1の実施態様としての磁気センサを備える。
【0007】
本開示の第2の実施態様としての磁気センサは、磁場検出素子と、その磁場検出素子に対し磁場をそれぞれ付与すると共に第1軸方向に沿って離散的に配置された複数の磁場発生体とを有する。複数の磁場発生体は、強磁性体と、その強磁性体に接しつつ強磁性体と交換結合する反強磁性体とを含む交換結合バイアス構造体である。磁場検出素子は、第1軸方向において複数の磁場発生体から選択される2つの磁場発生体に挟まれている。磁気ヨークは、第1軸方向に延在すると共に、第2軸方向に眺めた平面視において第1軸方向および第2軸方向の双方と交差する第3軸方向に磁場検出素子と隣り合っている。第1軸方向に並ぶ複数の磁場発生体は、第1軸方向の第1端に配置された第1の磁場発生体と、第1軸方向の第1端と反対側の第2端に配置された第2の磁場発生体とを含む。第1の磁場発生体のうちの第2の磁場発生体から見て最も遠くに位置する第1端縁と、第2の磁場発生体のうちの第1の磁場発生体から見て最も遠くに位置する第2端縁との距離は、磁気ヨークの第2軸方向の長さよりも短い。
本開示の第2の実施態様としての磁場検出装置、位置検出装置、レンズモジュール、および撮像装置は、上記本開示の第1の実施態様としての磁気センサを備える。
【発明の効果】
【0008】
本開示の第1の実施態様としての磁気センサおよび磁場検出装置、ならびに本開示の第2の実施態様としての磁気センサおよび磁場検出装置位置によれば、小型でありながら所定の方向の磁場を精度よく検出することができる。
【図面の簡単な説明】
【0009】
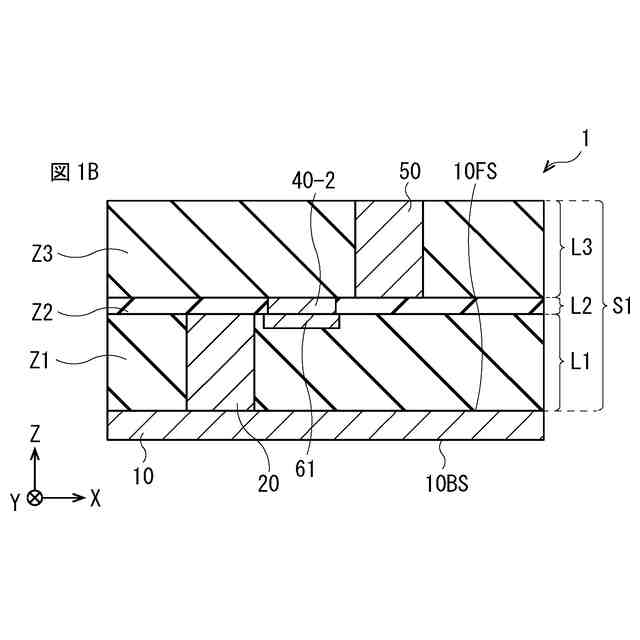
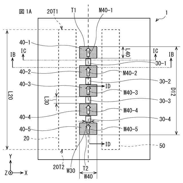
図1Aは、本開示の第1の実施の形態に係る磁気センサの平面構成例を表す平面図である。
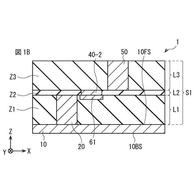
図1Bは、図1Aに示した磁気センサの断面構成例を表す第1の断面図である。
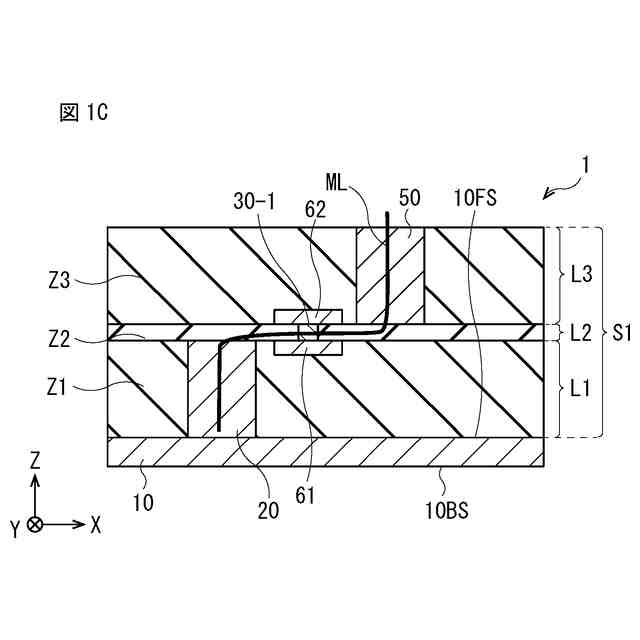
図1Cは、図1Aに示した磁気センサの断面構成例を表す第2の断面図である。
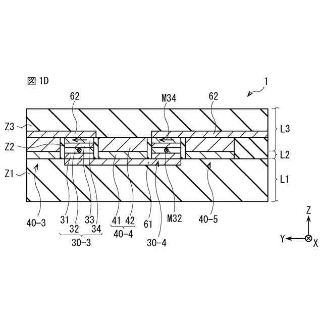
図1Dは、図1Aに示した磁気センサの断面構成例を表す第3の断面図である。
図2Aは、図1Aに示した磁気センサの製造方法の一工程を模式的に表す平面図である。
図2Bは、図2Aに続く一工程を模式的に表す平面図である。
図2Cは、図2Bに続く一工程を模式的に表す平面図である。
図2Dは、図2Cに続く一工程を模式的に表す平面図である。
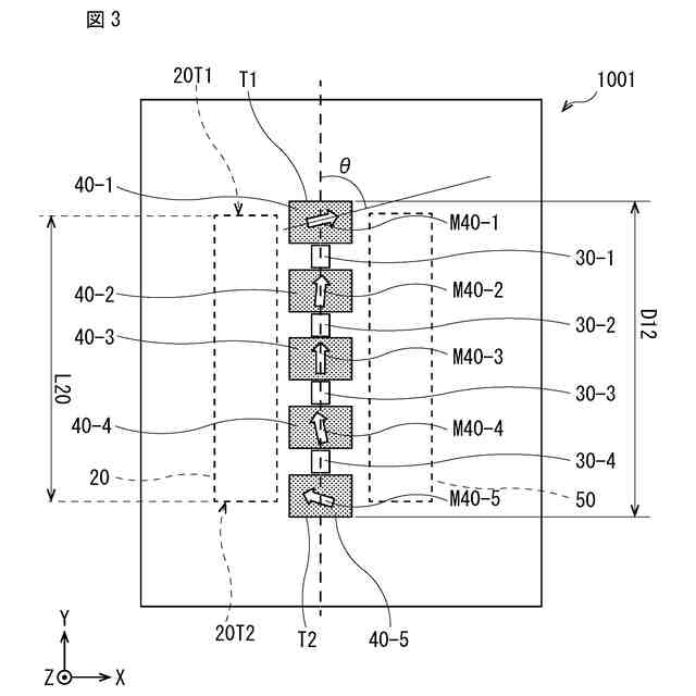
図3は、参考例としての磁気センサの平面構成例を表す平面図である。
図4は、本開示の第2の実施の形態に係る磁場検出装置の全体構成例を表す平面模式図である。
図5は、図4に示した磁場検出装置に含まれる磁場検出回路の回路構成例を表す回路図である。
図6は、図4に示した磁場検出装置の出力特性を表す特性図である。
図7は、本開示の第3の実施の形態に係る磁気コンパスの全体構成例を表す斜視図である。
図8Aは、図7に示した磁気コンパスに搭載される磁気センサの平面構成例を表す平面図である。
図8Bは、図8Aに示した磁気センサの断面構成例を表す第1の断面図である。
図8Cは、図8Aに示した磁気センサの断面構成例を表す第2の断面図である。
図9は、本開示の第4の実施の形態に係る撮像装置の全体構成例を表す概略斜視図である。
【発明を実施するための形態】
【0010】
以下、本発明の実施の形態について、図面を参照して詳細に説明する。なお、説明は以下の順序で行う。
1.第1の実施の形態
1対のヨークと、複数の磁気抵抗効果素子と、複数の磁場発生体とを備えた磁気センサの例。
2.第2の実施の形態
複数の磁気センサを備えた磁場検出装置の例。
3.第3の実施の形態
複数の磁気センサを備えた磁気コンパスの例
4.第4の実施の形態およびその変形例
複数の磁気センサを有するレンズモジュールを備えた撮像装置の例
5.その他の変形例
(【0011】以降は省略されています)
この特許をJ-PlatPat(特許庁公式サイト)で参照する
関連特許
TDK株式会社
センサ
22日前
TDK株式会社
フィルタ
16日前
TDK株式会社
電子部品
16日前
TDK株式会社
電子部品
1か月前
TDK株式会社
電子部品
22日前
TDK株式会社
電子部品
2か月前
TDK株式会社
電子部品
22日前
TDK株式会社
電子部品
2か月前
TDK株式会社
電子部品
26日前
TDK株式会社
電子部品
15日前
TDK株式会社
電子部品
11日前
TDK株式会社
圧電素子
16日前
TDK株式会社
電子部品
26日前
TDK株式会社
電子部品
1か月前
TDK株式会社
電子部品
1か月前
TDK株式会社
電子部品
15日前
TDK株式会社
電子部品
16日前
TDK株式会社
フィルタ
26日前
TDK株式会社
コイル部品
1か月前
TDK株式会社
磁気センサ
16日前
TDK株式会社
ガスセンサ
2か月前
TDK株式会社
ガスセンサ
17日前
TDK株式会社
温度センサ
1か月前
TDK株式会社
コイル装置
2か月前
TDK株式会社
磁気センサ
1か月前
TDK株式会社
コイル部品
18日前
TDK株式会社
コイル装置
1か月前
TDK株式会社
圧力センサ
18日前
TDK株式会社
コイル装置
2か月前
TDK株式会社
ガスセンサ
22日前
TDK株式会社
コイル部品
16日前
TDK株式会社
コイル部品
22日前
TDK株式会社
コイル部品
26日前
TDK株式会社
コイル部品
26日前
TDK株式会社
コイル部品
26日前
TDK株式会社
磁気センサ
1か月前
続きを見る
他の特許を見る