TOP
|
特許
|
意匠
|
商標
特許ウォッチ
Twitter
他の特許を見る
10個以上の画像は省略されています。
公開番号
2025169608
公報種別
公開特許公報(A)
公開日
2025-11-14
出願番号
2024074464
出願日
2024-05-01
発明の名称
入力装置及び入力装置の制御方法
出願人
TDK株式会社
代理人
個人
,
個人
,
個人
主分類
G01L
1/16 20060101AFI20251107BHJP(測定;試験)
要約
【課題】操作体から受ける力に関する情報の精度を向上する入力装置を提供する。
【解決手段】入力装置IDは、操作ユニットOUと、制御ユニットCUとを含む。操作ユニットOUは、操作体から力を受ける圧電素子10を含む。圧電素子10は、電圧の印加により変位する第一部分と変位により電荷を生じさせる第二部分とを含む一つの圧電体を含む。操作ユニットOUは、第二部分に生じる電荷に応じた信号を出力する。制御ユニットCUは、操作ユニットOUから出力される信号に基づいて、操作体から受ける力に関する情報を取得する。
【選択図】図1
特許請求の範囲
【請求項1】
操作体から力を受ける圧電素子であって、電圧の印加により変位する第一部分と変位により電荷を生じさせる第二部分とを含む一つの圧電体を含む圧電素子を含み、前記第二部分に生じる電荷に応じた信号を出力する操作ユニットと、
前記操作ユニットから出力される前記信号に基づいて、前記操作体から受ける力に関する情報を取得する制御ユニットと、を備える、入力装置。
続きを表示(約 890 文字)
【請求項2】
前記制御ユニットは、前記操作ユニットから出力される前記信号に基づく値と基準値との比較を行い、当該比較の結果に基づいて、前記操作体から受ける力に関する前記情報を取得する、請求項1に記載の入力装置。
【請求項3】
前記基準値は、前記操作体から力を受けていない初期状態での、前記操作ユニットから出力される前記信号に基づく値である、請求項2に記載の入力装置。
【請求項4】
前記制御ユニットは、前記操作ユニットから出力される前記信号に基づく値と前記基準値との差に基づいて、前記操作体から受ける力に関する前記情報を取得する、請求項2又は3に記載の入力装置。
【請求項5】
前記操作ユニットは、前記第二部分に生じる電圧を増幅する増幅器を含み、前記増幅器で増幅された電圧を、前記第二部分に生じる電荷に応じた信号として出力する、請求項1~3のいずれか一項に記載の入力装置。
【請求項6】
前記制御ユニットは、前記操作ユニットから出力される前記信号をデジタル信号に変換する変換器を含み、前記変換器にて変換された前記デジタル信号に基づいて、前記操作体から受ける力に関する情報を取得する、請求項1~3のいずれか一項に記載の入力装置。
【請求項7】
前記圧電素子は、前記第一部分に含まれると共に互いに対向する第一内部電極及び第二内部電極と、前記第二部分に含まれると共に互いに対向する第三内部電極及び第四内部電極と、を含む、請求項1~3のいずれか一項に記載の入力装置。
【請求項8】
前記第二内部電極と前記第四内部電極とは、同じ層に位置すると共に一体である、請求項7に記載の入力装置。
【請求項9】
前記第一内部電極と前記第三内部電極とは、同じ層に位置している、請求項7に記載の入力装置。
【請求項10】
前記制御ユニットは、前記第一部分に印加する前記電圧を出力する、請求項1~3のいずれか一項に記載の入力装置。
(【請求項11】以降は省略されています)
発明の詳細な説明
【技術分野】
【0001】
本発明は、入力装置及び入力装置の制御方法に関する。
続きを表示(約 2,600 文字)
【背景技術】
【0002】
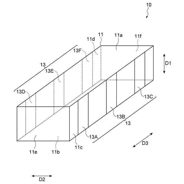
知られている入力装置は、操作ユニットを備える。操作ユニットは、操作体から力を受ける筐体と、筐体内に互いに離間して配置されている複数の圧電体とを含む。この入力装置では、複数の圧電体のうちいずれかの圧電体に電圧が印可される。操作ユニットは、電圧が印可されていない圧電体に生じる電荷に応じた信号を出力する。
【先行技術文献】
【特許文献】
【0003】
特開2021-57297号公報
【発明の概要】
【発明が解決しようとする課題】
【0004】
上述した入力装置では、複数の圧電体のうちいずれかの圧電体に電圧が印可されることによって、当該圧電体が変位する。電圧が印可された圧電体の変位は、筐体を介して、電圧が印可されていない圧電体に伝わる。以下、電圧が印可された圧電体は「第一圧電体」と称されることがあり、電圧が印可されていない圧電体は「第二圧電体」と称されることがある。筐体が操作体から力を受ける場合、当該力に応じた拘束力が、筐体に作用する。したがって、筐体が操作体から受ける力に応じて、筐体を介した、第一圧電体と第二圧電体との間における変位の伝わりやすさが変化する。これによって、操作体から受ける力に応じて、第二圧電体の変位が変化する。第二圧電体の変位が変化すると、第二圧電体に生じる電荷も変化する。上述した入力装置では、操作体から受ける力に応じて、筐体を介した第一圧電体と第二圧電体との間における変位の伝わりやすさが変化することを利用して、操作体から受ける力に関する情報が取得される。一方で、上述した入力装置では、第一圧電体の変位が、筐体を介して、第二圧電体に伝わるので、操作体から受ける力に関する情報の精度の点で改善の余地を有する。
【0005】
本発明の一つの態様は、操作体から受ける力に関する情報の精度を向上する入力装置を提供することを目的とする。
本発明の別の一つの態様は、操作体から受ける力に関する情報の精度を向上する入力装置を提供することを目的とする。
【課題を解決するための手段】
【0006】
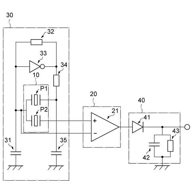
一つの態様に係る入力装置は、操作ユニットと、制御ユニットとを備える。操作ユニットは、操作体から力を受ける圧電素子であって、電圧の印加により変位する第一部分と変位により電荷を生じさせる第二部分とを含む一つの圧電体を含む圧電素子を含み、第二部分に生じる電荷に応じた信号を出力する。制御ユニットは、操作ユニットから出力される信号に基づいて、操作体から受ける力に関する情報を取得する。
【0007】
上記一つの態様では、操作ユニットが、操作体から力を受ける圧電素子であって、電圧の印加により変位する第一部分と変位により電荷を生じさせる第二部分とを含む一つの圧電体を含む圧電素子を含む。上記一つの圧電体において第一部分が変位した場合、第一部分の変位が第二部分に伝わり、第二部分が変位する。圧電素子が操作体から力を受ける場合、当該力に応じた拘束力が、第一部分及び第二部分を含む一つの圧電体に作用する。したがって、圧電素子が操作体から受ける力に応じて、第二部分の変位のしやすさが変化する。すなわち、圧電素子が操作体から力を受ける場合、当該力に応じて、第二部分の変位が変化する。第二部分の変位が変化することによって、第二部分に生じる電荷も変化する。
このように、上記一つの態様では、第一部分の変位が伝わることによって第二部分が変位し、第二部分の変位が操作体から受ける力に応じて変化する。ここで、第一部分の変位が第二部分に適切に伝わらない場合には、第二部分の変位が操作体から受ける力に応じて、変化しないおそれがある。すなわち、第一部分と第二部分との間における変位の伝わりやすさは、操作体から受ける力に関する情報の精度に影響を与える。上記一つの態様では、第一部分と第二部分とが一つの圧電体に含まれるので、第一部分と第二部分とが別々の圧電体に含まれる場合と比較して、第一部分の変位が第二部分に伝わりやすい。
以上のことから、上記一つの態様は、操作体から受ける力に関する情報の精度を向上する。
【0008】
別の態様に係る入力装置の制御方法であって、入力装置は、操作体から力を受ける圧電素子であって、電圧の印加により変位する第一部分と変位により電荷を生じさせる第二部分とを含む一つの圧電体を含む圧電素子を含み、第二部分に生じる電荷に応じた信号を出力する操作ユニットを含む。上記別の態様に係る入力装置の制御方法は、電圧を第一部分に印加することと、操作ユニットから出力される信号を取得することと、取得した信号に基づいて、操作体から受ける力に関する情報を取得することと、を含む。
【0009】
上記別の態様では、電圧が第一部分に印加される。電圧が第一部分に印加されることによって、第一部分が変位する。これによって、第一部分の変位が第二部分に伝わり、第二部分が変化する。圧電素子が操作体から力を受ける場合、当該力に応じた拘束力が、第一部分及び第二部分を含む一つの圧電体に作用する。したがって、圧電素子が操作体から受ける力に応じて、第二部分の変位のしやすさが変化する。すなわち、圧電素子が操作体から力を受ける場合、当該力に応じて、第二部分の変位が変化する。第二部分の変位が変化することによって、第二部分に生じる電荷も変化する。
上記別の一つの態様では、第二部分と共に一つの圧電体に含まれる第一部分に電圧が印可されるので、第一部分と第二部分とが別々の圧電体に含まれる場合と比較して、電圧の印可による第一部分の変位が第二部分に伝わりやすい。
以上のことから、上記一つの態様は、操作体から受ける力に関する情報の精度を向上する。
【発明の効果】
【0010】
本発明の一つの態様によれば、操作体から受ける力に関する情報の精度を向上する入力装置が提供される。
本発明の別の態様によれば、操作体から受ける力に関する情報の精度を向上する入力装置の制御方法が提供される。
【図面の簡単な説明】
(【0011】以降は省略されています)
この特許をJ-PlatPat(特許庁公式サイト)で参照する
関連特許
TDK株式会社
センサ
1か月前
TDK株式会社
電子部品
1か月前
TDK株式会社
フィルタ
1か月前
TDK株式会社
電子部品
1か月前
TDK株式会社
電子部品
1か月前
TDK株式会社
フィルタ
1か月前
TDK株式会社
電子部品
1か月前
TDK株式会社
電子部品
1か月前
TDK株式会社
電子部品
1か月前
TDK株式会社
電子部品
1か月前
TDK株式会社
電子部品
1か月前
TDK株式会社
電子部品
1か月前
TDK株式会社
圧電素子
1か月前
TDK株式会社
コイル装置
1か月前
TDK株式会社
センサ装置
1か月前
TDK株式会社
ガスセンサ
1か月前
TDK株式会社
コイル部品
1か月前
TDK株式会社
ガスセンサ
1か月前
TDK株式会社
磁気センサ
1か月前
TDK株式会社
コイル装置
1か月前
TDK株式会社
ガスセンサ
1か月前
TDK株式会社
コイル部品
1か月前
TDK株式会社
コイル部品
1か月前
TDK株式会社
圧力センサ
1か月前
TDK株式会社
ガスセンサ
1か月前
TDK株式会社
コイル部品
1か月前
TDK株式会社
コイル部品
1か月前
TDK株式会社
光検知装置
1か月前
TDK株式会社
コイル装置
1か月前
TDK株式会社
コイル部品
1か月前
TDK株式会社
コイル装置
1か月前
TDK株式会社
コイル部品
1か月前
TDK株式会社
コイル部品
1か月前
TDK株式会社
コイル部品
1か月前
TDK株式会社
熱処理容器
25日前
TDK株式会社
コイル部品
1か月前
続きを見る
他の特許を見る