TOP
|
特許
|
意匠
|
商標
特許ウォッチ
Twitter
他の特許を見る
10個以上の画像は省略されています。
公開番号
2025147985
公報種別
公開特許公報(A)
公開日
2025-10-07
出願番号
2024048534
出願日
2024-03-25
発明の名称
圧力センサ
出願人
TDK株式会社
代理人
前田・鈴木国際特許弁理士法人
主分類
G01L
19/04 20060101AFI20250930BHJP(測定;試験)
要約
【課題】外底面のひずみによる影響を受け難く高精度な温度検出が可能である抵抗膜パターンを有する圧力センサ
【解決手段】底壁と、前記底壁に対して交差する第1方向に延びる側壁とを有するステムと、前記底壁の外底面のうち、前記第1方向からの平面視において前記側壁と重なる外側領域に形成される第1抵抗膜パターンと、前記外底面のうち、前記第1方向からの平面視において前記側壁と重ならない内側領域に少なくとも一部が形成される第2抵抗膜パターンと、を有し、前記第1抵抗膜パターンは、周方向に沿って延びるとともに前記外底面の中心からの距離が異なる複数の周方向パターン部分が折り返し接続されて構成されている圧力センサ。
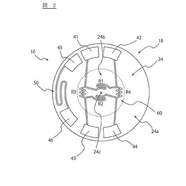
【選択図】図2
特許請求の範囲
【請求項1】
底壁と、前記底壁に対して交差する第1方向に延びる側壁とを有するステムと、
前記底壁の外底面のうち、前記第1方向からの平面視において前記側壁と重なる外側領域に形成される第1抵抗膜パターンと、
前記外底面のうち、前記第1方向からの平面視において前記側壁と重ならない内側領域に少なくとも一部が形成される第2抵抗膜パターンと、を有し、
前記第1抵抗膜パターンは、周方向に沿って延びるとともに前記外底面の中心からの距離が異なる複数の周方向パターン部分が折り返し接続されて構成されている圧力センサ。
続きを表示(約 540 文字)
【請求項2】
複数の前記周方向パターン部分のうち最外周に位置する第1周方向パターン部分の前記中心から見た一端から他端までの角度は、複数の前記周方向パターン部分のうち前記第1周方向パターン部分を除く他の前記周方向パターン部分の前記中心から見た一端から他端までの角度より大きい請求項1に記載の圧力センサ。
【請求項3】
前記側壁は、前記側壁の内側面が前記第1方向に延びる第1側壁部分と、前記側壁の内側面が前記第1側壁部分と前記底壁の内底面との中間の方向を向いており前記第1側壁部分の内側面と前記内底面とを接続する第2側壁部分と、を有し、
前記第1抵抗膜パターンの少なくとも一部は、前記第1方向からの平面視において前記第2側壁部分の内側面と重なる請求項1に記載の圧力センサ。
【請求項4】
前記側壁は、前記側壁の内側面が前記第1方向に延びる第1側壁部分と、前記側壁の内側面が前記第1側壁部分と前記底壁の内底面との中間の方向を向いており前記第1側壁部分の内側面と前記内底面とを接続する第2側壁部分と、を有し、
前記第1抵抗膜パターンの全体は、前記第1方向からの平面視において前記第1側壁部分と重なる請求項1に記載の圧力センサ。
発明の詳細な説明
【技術分野】
【0001】
本発明は、ステムを用いる圧力センサに関する。
続きを表示(約 1,400 文字)
【背景技術】
【0002】
圧力センサなどのセンサとして、金属ステムの外底面に、抵抗膜のパターンを形成する技術が提案されている(特許文献1等参照)。
【0003】
金属ステムの外底面に抵抗膜のパターンを形成する技術として、外底面の外側領域に温度検出のための抵抗膜を形成し、外底面の内側領域に圧力検出のための抵抗膜を形成するものが提案されている。圧力検出のための抵抗膜の抵抗値も温度の影響を受けるが、温度検出のための抵抗膜を別途形成した圧力センサは、出力値から温度の影響を除外して、圧力の値を求めることができる。
【先行技術文献】
【特許文献】
【0004】
欧州特許出願公開第2554964号明細書
【発明の概要】
【発明が解決しようとする課題】
【0005】
しかしながら、従来の圧力センサでは、外底面の外側領域に形成される抵抗膜のパターンが、径方向に沿って延びる複数の径方向パターンが折り返し接続された形状を有している。そのため、従来の圧力センサでは、温度検出のための抵抗膜の出力が外底面のひずみによる影響を受けやすく、温度検出精度の観点で課題がある。
【0006】
本開示では、外底面のひずみによる影響を受け難く高精度な温度検出が可能である抵抗膜パターンを有する圧力センサを提供する。
【課題を解決するための手段】
【0007】
本開示に係る圧力センサは、
底壁と、前記底壁に対して交差する第1方向に延びる側壁とを有するステムと、
前記底壁の外底面のうち、前記第1方向からの平面視において前記側壁と重なる外側領域に形成される第1抵抗膜パターンと、
前記外底面のうち、前記第1方向からの平面視において前記側壁と重ならない内側領域に形成される第2抵抗膜パターンと、を有し、
前記第1抵抗膜パターンは、周方向に沿って延びるとともに前記外底面の中心からの距離が異なる複数の周方向パターン部分が折り返し接続されて構成されている。
【0008】
本開示に係る圧力センサは、周方向に沿って延びる周方向パターン部分が折り返し接続されて構成される第1抵抗膜パターンを有しており、このような第1抵抗膜パターンの抵抗値は、外底面のひずみによる影響を受け難く、高精度な温度検出が可能である。外底面の外側領域における測定対象による圧力に伴うひずみについては、径方向のひずみが周方向のひずみより大きくなる傾向にある。
【0009】
また、本開示に係る圧力センサは、複数の周方向パターン部分が折り返し接続されて構成されるため、限られた周方向の角度領域に、導電方向の長さが長い第1抵抗膜パターンを形成することができる。このような圧力センサでは、電極パッドなどを、第1抵抗膜パターンとは位置をずらして外側領域などに配置しやすくなり小型化に資するとともに、限られた範囲あっても第1抵抗膜パターンの長さを確保して精度のよい温度検出を行うことができる。
【0010】
また、たとえば複数の前記周方向パターン部分のうち最外周に位置する第1周方向パターン部分の前記中心から見た一端から他端までの角度は、複数の前記周方向パターン部分のうち前記第1周方向パターン部分を除く他の前記周方向パターン部分の前記中心から見た一端から他端までの角度より大きくてもよい。
(【0011】以降は省略されています)
この特許をJ-PlatPat(特許庁公式サイト)で参照する
関連特許
TDK株式会社
センサ
2か月前
TDK株式会社
電子部品
2か月前
TDK株式会社
電子部品
2か月前
TDK株式会社
フィルタ
2か月前
TDK株式会社
電子部品
7日前
TDK株式会社
電子部品
2か月前
TDK株式会社
電子部品
2か月前
TDK株式会社
電子部品
2か月前
TDK株式会社
圧電素子
2か月前
TDK株式会社
電子部品
20日前
TDK株式会社
電子部品
2か月前
TDK株式会社
接合構造
12日前
TDK株式会社
電子部品
1か月前
TDK株式会社
熱処理容器
1か月前
TDK株式会社
磁気センサ
2か月前
TDK株式会社
コイル部品
2か月前
TDK株式会社
ガスセンサ
2か月前
TDK株式会社
コイル部品
2か月前
TDK株式会社
光検知装置
2か月前
TDK株式会社
コイル部品
2か月前
TDK株式会社
圧力センサ
2か月前
TDK株式会社
コイル装置
2か月前
TDK株式会社
ガスセンサ
2か月前
TDK株式会社
コイル装置
2か月前
TDK株式会社
コイル装置
2か月前
TDK株式会社
コイル部品
2か月前
TDK株式会社
コイル部品
2か月前
TDK株式会社
コイル部品
2か月前
TDK株式会社
コイル装置
2か月前
TDK株式会社
電子デバイス
2か月前
TDK株式会社
積層型分波器
2か月前
TDK株式会社
電磁波センサ
2か月前
TDK株式会社
熱間加工磁石
2か月前
TDK株式会社
電力変換装置
20日前
TDK株式会社
電力変換装置
2か月前
TDK株式会社
電子デバイス
2か月前
続きを見る
他の特許を見る