TOP
|
特許
|
意匠
|
商標
特許ウォッチ
Twitter
他の特許を見る
公開番号
2025154663
公報種別
公開特許公報(A)
公開日
2025-10-10
出願番号
2024057781
出願日
2024-03-29
発明の名称
コイル装置
出願人
TDK株式会社
代理人
前田・鈴木国際特許弁理士法人
主分類
H01F
17/04 20060101AFI20251002BHJP(基本的電気素子)
要約
【課題】ワイヤの被覆部の損傷を防止できるコイル装置
【解決手段】板状部と前記板状部から突出する突出部と、を有する第1磁性材料部分と、前記突出部を巻回する巻層を形成する巻回部を有するワイヤと、磁性体と樹脂とを含有しており少なくとも前記巻回部および前記突出部を覆う第2磁性材料部分と、を有し、巻回軸を含む所定の断面において、前記突出部に直接巻かれる第1層の平均隙間幅である第1の平均隙間幅は、前記巻回部において前記第1層に重ねて前記突出部へ巻かれる第2層の第2の平均隙間幅より広く、第1層最上段ワイヤ断面の突出部との間の第2方向に沿う隙間である第1層突出部隙間幅は、前記第1の平均隙間幅より狭いコイル装置。
【選択図】図3
特許請求の範囲
【請求項1】
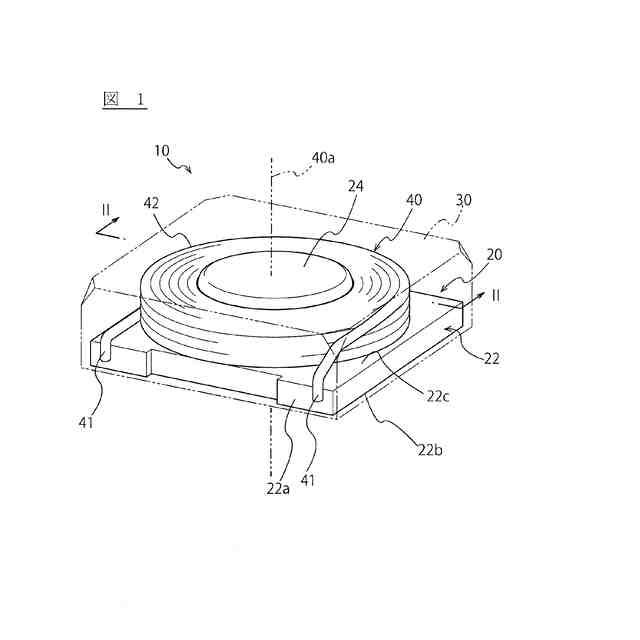
磁性体を含有しており、板状部と、前記板状部から突出する突出部と、を有する第1磁性材料部分と、
導体部と前記導体部を被覆する絶縁性の被覆部とを有し、前記突出部を巻回する巻層を形成する巻回部を有するワイヤと、
磁性体と樹脂とを含有しており、少なくとも前記巻回部および前記突出部を覆う第2磁性材料部分と、を有し、
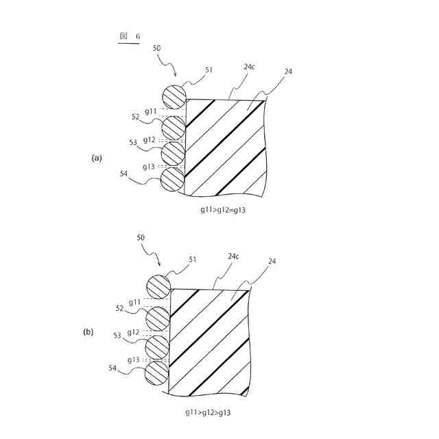
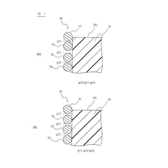
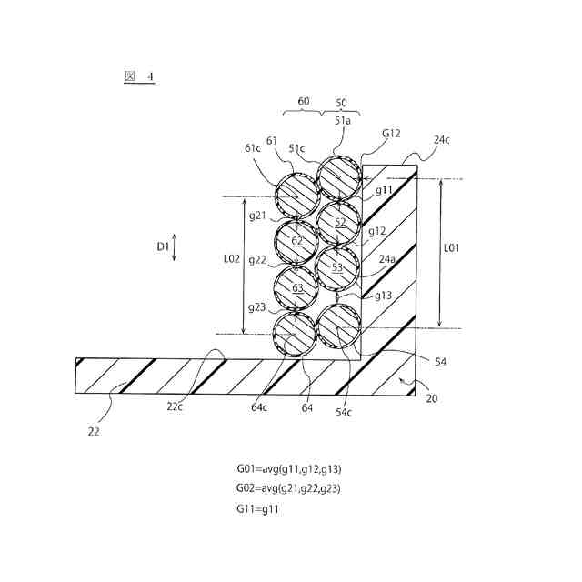
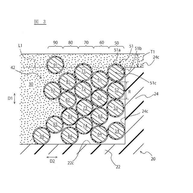
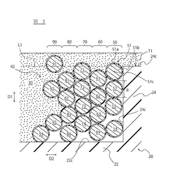
前記ワイヤの断面であるワイヤ断面が観察される前記巻回部の巻回軸を含む所定の断面において、前記巻回部において前記突出部に直接巻かれる第1層に含まれる前記ワイヤ断面間における前記板状部から離間する第1方向に沿う平均隙間幅である第1の平均隙間幅は、前記巻回部において前記第1層に重ねて前記突出部へ巻かれる第2層に含まれる前記ワイヤ断面間の前記第1方向に沿う平均隙間幅である第2の平均隙間幅より広く、
前記第1層に含まれる前記ワイヤ断面のうち最も前記板状部から離間する第1層最上段ワイヤ断面と前記突出部との間の前記巻回軸に垂直な第2方向に沿う隙間幅である第1層突出部隙間幅は、前記第1の平均隙間幅より狭いコイル装置。
続きを表示(約 640 文字)
【請求項2】
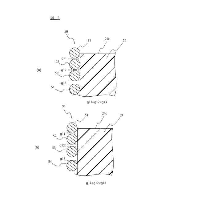
前記第1層最上段ワイヤ断面と、前記第1層最上段ワイヤ断面に対して前記第1方向に隣接する第1層第2段ワイヤ断面との前記第1方向に沿う隙間幅である第1層上部隙間幅は、前記第1の平均隙間幅より狭い請求項1に記載のコイル装置。
【請求項3】
前記第1層最上段ワイヤ断面と、前記第1層最上段ワイヤ断面に対して前記第1方向に隣接する第1層第2段ワイヤ断面との前記第1方向に沿う第1層上部隙間幅は、前記第1の平均隙間幅より広い請求項1に記載のコイル装置。
【請求項4】
前記第1層最上段ワイヤ断面は、前記突出部のうち前記板状部から最も離間する突出部先端に比べて、前記板状部から離間している部分を含む請求項1に記載のコイル装置。
【請求項5】
前記第2層に含まれる前記ワイヤ断面のうち最も前記板状部から離間する第2層最上段ワイヤ断面は、前記第1層最上段ワイヤ断面に比べて、前記板状部に近い請求項1に記載のコイル装置。
【請求項6】
前記第1層に含まれる前記ワイヤ断面のうち最も前記板状部に近い第1層最下段ワイヤ断面と前記第1層最上段ワイヤ断面との前記第1方向に沿う距離は、前記第2層に含まれる前記ワイヤ断面のうち最も前記板状部に近い第2層最下段ワイヤ断面と前記第2層に含まれる前記ワイヤ断面のうち最も前記板状部から離間する第2層最上段ワイヤ断面との前記第1方向に沿う距離より長い請求項1に記載のコイル装置。
発明の詳細な説明
【技術分野】
【0001】
本発明は、インダクタ素子などとして用いられるコイル装置に関する。
続きを表示(約 1,600 文字)
【背景技術】
【0002】
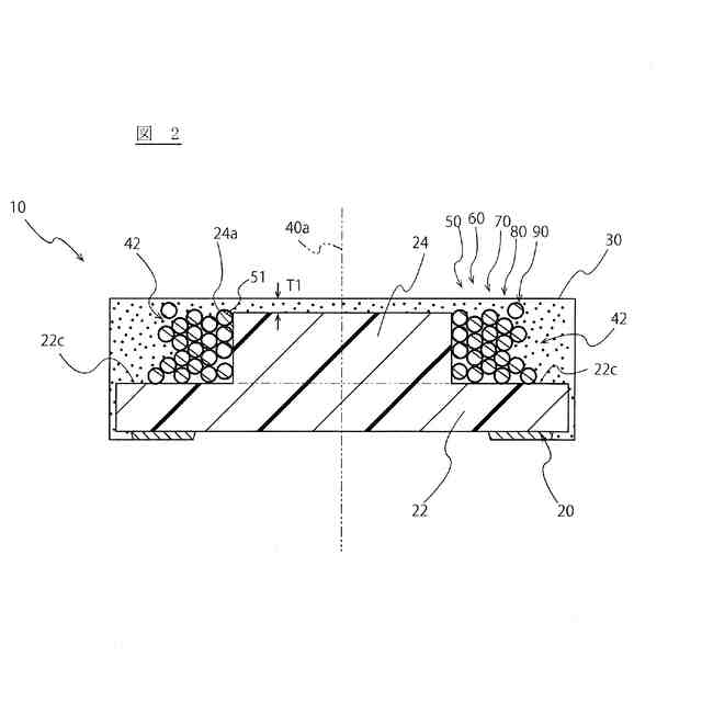
コイル装置として、樹脂および磁性体の含有比率が異なる2種類のコア部と巻回部とを組み合わせたものが提案されている。このようなコイル装置は、樹脂および磁性体の含有比率が異なる2種類のコア部を用いることにより、応力を緩和し、クラックの発生を防止することが可能である。
【0003】
このようなコイル装置では、巻回部を被覆するように磁性体が配置されており、インダクタンス向上の観点から有利である。しかしながら、このようなコイル装置では、2種類のコア部のうち樹脂の含有割合が多く流動性のあるコア部を構成する粒子が、製造工程における圧縮時等において巻回部の内部に移動する場合がある。このような粒子の移動時には、巻回部を構成するワイヤの絶縁被覆との摩擦が生じて、ワイヤの絶縁被覆に損傷を与える懸念がある。
【先行技術文献】
【特許文献】
【0004】
特開2017-199734号公報
特開2020-113742号公報
【発明の概要】
【発明が解決しようとする課題】
【0005】
本開示は、このような実状に鑑みてなされ、ワイヤの被覆部の損傷を防止するコイル装置を提供する。
【課題を解決するための手段】
【0006】
本開示に係るコイル装置は、
磁性体を含有しており、板状部と、前記板状部から突出する突出部と、を有する第1磁性材料部分と、
導体部と前記導体部を被覆する絶縁性の被覆部とを有し、前記突出部を巻回する巻層を形成する巻回部を有するワイヤと、
磁性体と樹脂とを含有しており、少なくとも前記巻回部および前記突出部を覆う第2磁性材料部分と、を有し、
前記ワイヤの断面であるワイヤ断面が観察される前記巻回部の巻回軸を含む所定の断面において、前記巻回部において前記突出部に直接巻かれる第1層に含まれる前記ワイヤ断面間における前記板状部から離間する第1方向に沿う平均隙間幅である第1の平均隙間幅は、前記巻回部において前記第1層に重ねて前記突出部へ巻かれる第2層に含まれる前記ワイヤ断面間の前記第1方向に沿う平均隙間幅である第2の平均隙間幅より広く、
前記第1層に含まれる前記ワイヤ断面のうち最も前記板状部から離間する第1層最上段ワイヤ断面と前記突出部との間の前記巻回軸に垂直な第2方向に沿う隙間幅である第1層突出部隙間幅は、前記第1の平均隙間幅より狭い。
【0007】
本開示に係るコイル装置では、第1の平均隙間幅が第2の平均隙間幅より広いため、第1層が第2層によって突出部に対して好適に押し付けられる。このようなコイル装置は巻回部の内部へ第2磁性材料部分の粒子が入ることを防止し、ワイヤの損傷およびそれに伴うショート不良を好適に防止できる。また、第1層突出部隙間幅を狭くすることにより、巻回部の内部へ第2磁性材料部分の粒子が入ることを防止できる。さらに、第2の平均隙間幅を狭くすることで巻回部をコンパクトに配置し、コイル装置の磁気特性を向上させることができる。
【0008】
また、たとえば、前記第1層最上段ワイヤ断面と、前記第1層最上段ワイヤ断面に対して前記第1方向に隣接する第1層第2段ワイヤ断面との前記第1方向に沿う隙間幅である第1層上部隙間幅は、前記第1の平均隙間幅より狭くてもよい。
【0009】
第1層上部隙間幅を狭くすることで、第1層最上段ワイヤ断面が圧縮成型時に位置ずれすることを抑制し、第1層最上段ワイヤ断面自体の被覆層が傷つく問題を防止できる。
【0010】
また、たとえば、前記第1層最上段ワイヤ断面と、前記第1層最上段ワイヤ断面に対して前記第1方向に隣接する第1層第2段ワイヤ断面との前記第1方向に沿う第1層上部隙間幅は、前記第1の平均隙間幅より広くてもよい。
(【0011】以降は省略されています)
この特許をJ-PlatPat(特許庁公式サイト)で参照する
関連特許
TDK株式会社
電子部品
1か月前
TDK株式会社
電子部品
1か月前
TDK株式会社
電子部品
27日前
TDK株式会社
コイル部品
1か月前
TDK株式会社
コイル装置
1か月前
TDK株式会社
コイル装置
1か月前
TDK株式会社
コイル部品
1か月前
TDK株式会社
熱処理容器
20日前
TDK株式会社
コイル装置
1か月前
TDK株式会社
コイル装置
1か月前
TDK株式会社
電子デバイス
1か月前
TDK株式会社
電子デバイス
1か月前
TDK株式会社
積層コイル部品
1か月前
TDK株式会社
フェライト焼結磁石
1か月前
TDK株式会社
アンテナモジュール
11日前
TDK株式会社
配線体、及び表示装置
1か月前
TDK株式会社
配線体、及び表示装置
1か月前
TDK株式会社
圧力センサ用金属部材
1か月前
TDK株式会社
配線体、及び表示装置
1か月前
TDK株式会社
メタサーフェスレンズ
1か月前
TDK株式会社
積層セラミック電子部品
1か月前
TDK株式会社
積層セラミック電子部品
1か月前
TDK株式会社
電子部品及び電子部品の製造方法
1か月前
TDK株式会社
入力装置及び入力装置の制御方法
17日前
TDK株式会社
物理レザバー素子及び物理レザバー
13日前
TDK株式会社
DC-DCコンバータおよび電源回路
1か月前
TDK株式会社
非可逆回路素子及び量子コンピュータ
17日前
TDK株式会社
コイル構造体およびコイル構造用部品
1か月前
TDK株式会社
インダクタおよびDC-DCコンバータ
1か月前
TDK株式会社
軟磁性粉末、磁性体コア、および磁性部品
3日前
TDK株式会社
磁性シート及びこれを備えるコイルモジュール
3日前
TDK株式会社
誘電体組成物、積層電子部品およびその製造方法
1か月前
TDK株式会社
圧電薄膜、圧電薄膜素子、及び圧電トランスデューサ
1か月前
TDK株式会社
圧電薄膜、圧電薄膜素子、及び圧電トランスデューサ
1か月前
TDK株式会社
軟磁性合金粒子、軟磁性粉末、圧粉磁芯および電子部品
3日前
TDK株式会社
固体電解コンデンサ及び固体電解コンデンサの製造方法
12日前
続きを見る
他の特許を見る