TOP
|
特許
|
意匠
|
商標
特許ウォッチ
Twitter
他の特許を見る
10個以上の画像は省略されています。
公開番号
2025154685
公報種別
公開特許公報(A)
公開日
2025-10-10
出願番号
2024057822
出願日
2024-03-29
発明の名称
コイル部品
出願人
TDK株式会社
代理人
前田・鈴木国際特許弁理士法人
主分類
H01F
17/04 20060101AFI20251002BHJP(基本的電気素子)
要約
【課題】コアと外装体との間の固定強度を高めることが可能なコイル部品を提供する。
【解決手段】コイル部品1は、芯部21と芯部21の軸方向の一端に形成された鍔部22とを有するコア20と、芯部21に設けられた巻回部11を有するワイヤ10と、異なる平均粒径を有する磁性粒子と樹脂とを含む外装体30と、を有する。外装体30は、少なくとも芯部21と巻回部11とを覆う本体部31と、鍔部22の外端面22aに対して隆起し、上記軸方向から見て外端面22aと重なる被覆部32を有する。外装体30の断面において、被覆部32では、本体部31に比べて、小さい平均粒径を有する磁性粒子の面積割合が高い。
【選択図】図7
特許請求の範囲
【請求項1】
芯部と前記芯部の軸方向の一端に形成された鍔部とを有するコアと、
前記芯部に設けられた巻回部を有するワイヤと、
異なる平均粒径を有する磁性粒子と樹脂とを含む外装体と、を有し、
前記外装体は、少なくとも前記芯部と前記巻回部とを覆う本体部と、前記鍔部の外端面に対して隆起し、前記軸方向から見て前記外端面と重なる被覆部を有し、
前記外装体の断面において、前記被覆部では、前記本体部に比べて、小さい平均粒径を有する前記磁性粒子の面積割合が高いコイル部品。
続きを表示(約 900 文字)
【請求項2】
前記外装体は、前記鍔部の外端面に対して隆起し、前記軸方向から見て前記外端面とは重なっていない周縁部を有し、
前記外装体の断面において、前記被覆部では、前記周縁部に比べて、小さい平均粒径を有する前記磁性粒子の面積割合が高い請求項1に記載のコイル部品。
【請求項3】
前記鍔部は、前記軸方向に沿って前記外端面と対向する内端面と、前記内端面と前記外端面とを接続する側面と、前記外端面と前記側面との間の稜線部に形成された面取り部とを有する請求項1または2に記載のコイル部品。
【請求項4】
前記被覆部は、小粒径領域と、大粒径領域とを有し、
前記小粒径領域は、前記軸方向から見て、前記面取り部と重なっておらず、
前記大粒径領域は、前記軸方向から見て、前記面取り部と重なっており、
前記大粒径領域では、前記小粒径領域に比べて、大きい平均粒径を有する前記磁性粒子の面積割合が高い請求項3に記載のコイル部品。
【請求項5】
前記鍔部の径方向において、前記小粒径領域は、前記大粒径領域よりも前記外端面の内側に位置する請求項4に記載のコイル部品。
【請求項6】
前記コアは、空孔を有する焼結コアである請求項1または2に記載のコイル部品。
【請求項7】
前記被覆部は、前記空孔に入り込むことが可能な平均粒径を有する前記磁性粒子を含んでいる請求項6に記載のコイル部品。
【請求項8】
前記外端面の表面粗さは、前記被覆部の表面粗さよりも小さい請求項1または2に記載のコイル部品。
【請求項9】
少なくとも前記外端面に設けられた第1端子電極と第2端子電極とをさらに有し、
前記ワイヤは、前記巻回部から引き出され、前記第1端子電極に接続された第1引出部と、前記巻回部から引き出され、前記第2端子電極に接続された第2引出部とを有し、
前記被覆部は、少なくとも前記第1端子電極と前記第2端子電極の間の電極間領域に位置する請求項1または2に記載のコイル部品。
発明の詳細な説明
【技術分野】
【0001】
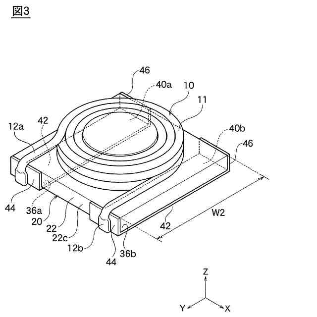
本開示は、コイル部品に関する。
続きを表示(約 1,400 文字)
【背景技術】
【0002】
特許文献1には、例えばインダクタとしての利用が可能な表面実装型のコイル部品に関する技術が開示されている。特許文献1のコイル部品は、コアと、コイルと、外装体とを有する。コアは、コイルを設けるための芯部と、芯部の軸方向の一端に形成された鍔部とを有する。外装体は、少なくとも芯部およびコイルを覆っている。特許文献1のコイル部品では、外装体の一部が、鍔部の外端面(鍔部の内端面(芯部が接続された面)とは反対側の面)を覆っている。そのため、コアが外装体から抜ける不具合を防止することができる。
【先行技術文献】
【特許文献】
【0003】
特表2017-510072号公報
【発明の概要】
【発明が解決しようとする課題】
【0004】
ところで、コアが外装体から抜ける不具合を有効に防止すために、コアと外装体との間の固定強度をさらに高める技術が求められている。
【0005】
本開示は、コアと外装体との間の固定強度を高めることが可能なコイル部品を提供する。
【課題を解決するための手段】
【0006】
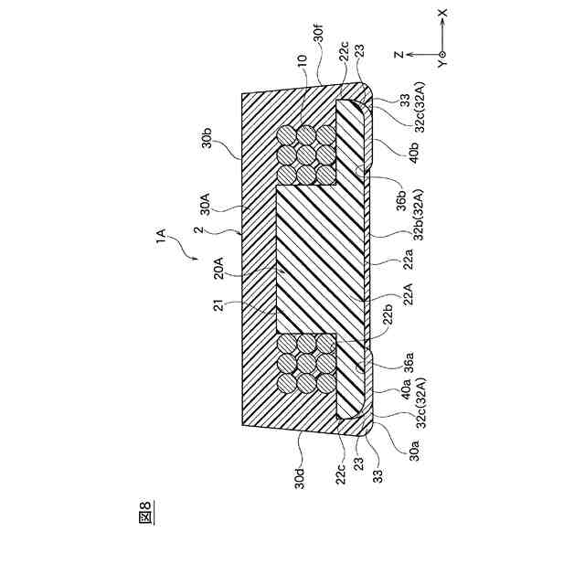
本開示の一実施形態に係るコイル部品は、
芯部と前記芯部の軸方向の一端に形成された鍔部とを有するコアと、
前記芯部に設けられた巻回部を有するワイヤと、
異なる平均粒径を有する磁性粒子と樹脂とを含む外装体と、を有し、
前記外装体は、少なくとも前記芯部と前記巻回部とを覆う本体部と、前記鍔部の外端面に対して隆起し、前記軸方向から見て前記外端面と重なる被覆部を有し、
前記外装体の断面において、前記被覆部では、前記本体部に比べて、小さい平均粒径を有する前記磁性粒子の面積割合が高い。
【0007】
本開示の一実施形態に係るコイル部品では、外装体が、少なくとも芯部と巻回部とを覆う本体部と、鍔部の外端面に対して隆起し、芯部の軸方向から見て外端面と重なる被覆部を有する。被覆部は、鍔部の外端面を覆うため、コアを本体部に固定するストッパ(抜け止め)としての役割を果たす。これにより、コアと外装体との間の固定強度(接続強度)が増大し、コアが外装体から剥離しにくくなる。
【0008】
また、本開示の一実施形態に係るコイル部品では、外装体の断面において、被覆部では、本体部に比べて、小さい平均粒径を有する磁性粒子の面積割合が高い。そのため、被覆部の磁性粒子が鍔部の外端面に形成された凹凸に入り込みやすくなり、凹凸に入り込んだ磁性粒子を介して、被覆部が鍔部に固定(接続)される。これにより、鍔部と被覆部との間の固定強度(接続強度)が増大し、コアが外装体からさらに剥離しにくくなる。
【0009】
前記外装体は、前記鍔部の外端面に対して隆起し、前記軸方向から見て前記外端面とは重なっていない周縁部を有し、前記外装体の断面において、前記被覆部では、前記周縁部に比べて、小さい平均粒径を有する前記磁性粒子の面積割合が高くてもよい。
【0010】
前記鍔部は、前記軸方向に沿って前記外端面と対向する内端面と、前記内端面と前記外端面とを接続する側面と、前記外端面と前記側面との間の稜線部に形成された面取り部とを有してもよい。
(【0011】以降は省略されています)
この特許をJ-PlatPat(特許庁公式サイト)で参照する
関連特許
TDK株式会社
圧電素子
1か月前
TDK株式会社
電子部品
1か月前
TDK株式会社
フィルタ
1か月前
TDK株式会社
電子部品
1か月前
TDK株式会社
電子部品
1か月前
TDK株式会社
電子部品
1か月前
TDK株式会社
電子部品
26日前
TDK株式会社
コイル部品
1か月前
TDK株式会社
磁気センサ
1か月前
TDK株式会社
コイル部品
1か月前
TDK株式会社
コイル装置
1か月前
TDK株式会社
コイル部品
1か月前
TDK株式会社
ガスセンサ
1か月前
TDK株式会社
コイル装置
1か月前
TDK株式会社
コイル装置
1か月前
TDK株式会社
コイル部品
1か月前
TDK株式会社
コイル部品
1か月前
TDK株式会社
コイル装置
1か月前
TDK株式会社
ガスセンサ
1か月前
TDK株式会社
圧力センサ
1か月前
TDK株式会社
熱処理容器
19日前
TDK株式会社
熱間加工磁石
1か月前
TDK株式会社
電子デバイス
1か月前
TDK株式会社
電磁波センサ
1か月前
TDK株式会社
電子デバイス
1か月前
TDK株式会社
積層型分波器
1か月前
TDK株式会社
積層コイル部品
1か月前
TDK株式会社
積層コイル部品
1か月前
TDK株式会社
積層コイル部品
1か月前
TDK株式会社
積層コイル部品
1か月前
TDK株式会社
積層型電子部品
1か月前
TDK株式会社
積層型コイル部品
1か月前
TDK株式会社
フェライト焼結磁石
1か月前
TDK株式会社
圧電アクチュエータ
1か月前
TDK株式会社
積層型フィルタ装置
1か月前
TDK株式会社
アンテナモジュール
10日前
続きを見る
他の特許を見る