TOP
|
特許
|
意匠
|
商標
特許ウォッチ
Twitter
他の特許を見る
10個以上の画像は省略されています。
公開番号
2025154014
公報種別
公開特許公報(A)
公開日
2025-10-10
出願番号
2024056781
出願日
2024-03-29
発明の名称
コイル部品
出願人
TDK株式会社
代理人
個人
,
個人
,
個人
主分類
H01F
17/00 20060101AFI20251002BHJP(基本的電気素子)
要約
【課題】コイルでの短絡の発生を抑制し得るコイル部品を提供する。
【解決手段】コイル部品ED1は、素体1とコイルとを備える。コイルは、導体層31と第二導体層とを含む。導体層31は、側面1e,1fが対向する方向に並ぶ導体31a,31b,31cを含む。導体31a,31b,31cのそれぞれは、導体部分P1と、導体部分P2と、導体部分P1,P2を連結する導体部分P3とを含む。第二導体層は、導体部分P1に接続される端と、導体部分P2に接続される端とを含む導体を含む。導体部分P1と導体部分P2との上記方向での位置は、互いにずれている。導体部分P3は、導体部分P1と導体部分P2とが延在する方向と異なる方向に延在する。複数の導体31a,31b,31cのうち互いに隣り合う二つの導体31a,31b又は導体31b,31cにおいて、最小距離L3は、最小距離L1及び最小距離L2より大きい。
【選択図】図2
特許請求の範囲
【請求項1】
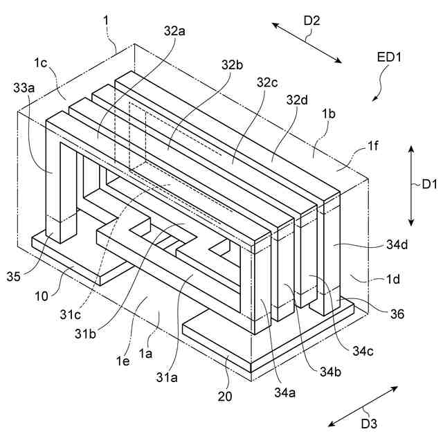
互いに対向する第一主面及び第二主面と、互いに対向する第一側面及び第二側面と、互いに対向する第三側面及び第四側面と、を含む素体と、
前記素体内に配置されているコイルと、
を備え、
前記コイルは、
前記第一主面に対向するように位置する第一導体層と、
前記第二主面と対向するように位置する第二導体層と、を含み、
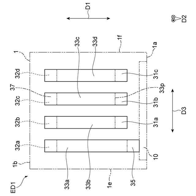
前記第一導体層は、前記第三側面と前記第四側面とが対向する方向に並ぶ複数の第一導体を含み、前記複数の第一導体のそれぞれは、前記第一側面寄りに位置する第一導体部分と、前記第二側面寄りに位置すると共に前記第一導体部分に対応する第二導体部分と、前記第一導体部分と前記第二導体部分とを連結する第三導体部分と、を含み、
前記第二導体層は、前記複数の第一導体のうち対応する第一導体に含まれる前記第一導体部分に接続される端と、前記対応する第一導体と隣り合う第一導体に含まれる前記第二導体部分に接続される端と、を含む導体を含み、
前記複数の第一導体のそれぞれにおいて、前記第一導体部分と前記第二導体部分との前記方向での位置は、互いにずれていると共に、前記第三導体部分は、前記第一導体部分と前記第二導体部分とが延在する方向とは異なる方向に延在し、
前記複数の第一導体のうち、互いに隣り合う二つの第一導体において、前記第三導体部分同士の最小距離は、前記第一導体部分同士の最小距離及び前記第二導体部分同士の最小距離より大きい、コイル部品。
続きを表示(約 930 文字)
【請求項2】
前記複数の第一導体は、一対の第一導体と、前記一対の第一導体の間に位置する少なくとも一つの第一導体とを含み、
前記少なくとも一つの第一導体は、前記一対の第一導体の各幅よりも小さい幅を有する、請求項1に記載のコイル部品。
【請求項3】
前記第二導体層に含まれる前記導体は、
前記少なくとも一つの第一導体に含まれる前記第一導体部分に接続される端を含む第四導体と、
前記少なくとも一つの第一導体に含まれる前記第二導体部分に接続される端を含む第五導体と、を含み、
前記コイルは、
前記少なくとも一つの第一導体に含まれる前記第一導体部分と、前記第四導体とを接続する第一接続導体と、
前記少なくとも一つの第一導体に含まれる前記第二導体部分と、前記第五導体とを接続する第二接続導体と、を含み、
前記第一導体部分と前記第一接続導体とは、互いに接続されると共に同じ面積を有する端領域をそれぞれ含み、
前記第二導体部分と前記第二接続導体とは、互いに接続されると共に同じ面積を有する端領域をそれぞれ含む、請求項2に記載のコイル部品。
【請求項4】
前記少なくとも一つの第一導体において、前記第三導体部分は、前記第一導体部分及び前記第二導体部分の各幅より大きい幅を有する、請求項2に記載のコイル部品。
【請求項5】
前記複数の第一導体のそれぞれは、前記複数の第一導体のそれぞれの全体にわたって同じ幅を有する、請求項1又は2に記載のコイル部品。
【請求項6】
前記第一導体部分と前記第三導体部分とのなす角、及び、前記第二導体部分と前記第三導体部分とのなす角は、180度未満である、請求項1又は2に記載のコイル部品。
【請求項7】
前記第一導体部分と前記第三導体部分とのなす角、及び、前記第二導体部分と前記第三導体部分とのなす角は、90度である、請求項6に記載のコイル部品。
【請求項8】
前記コイルに接続されていると共に、前記第一主面に配置される外部電極を更に備える、請求項1又は2に記載のコイル部品。
発明の詳細な説明
【技術分野】
【0001】
本発明は、コイル部品に関する。
続きを表示(約 2,600 文字)
【背景技術】
【0002】
知られているコイル部品は、素体と、素体内に配置されているコイルと、を含む(たとえば、特許文献1参照)。素体は、たとえば、互いに対向する第一主面及び第二主面と、互いに対向する第一側面及び第二側面と、互いに対向する第三側面及び第四側面とを含む。コイルは、第一主面に対向するように位置する第一導体層と、第二主面と対向するように位置する第二導体層と、を含む。第一導体層は、第三側面と第四側面とが対向する方向に並ぶ複数の第一導体を含む。第二導体層は、複数の第一導体のうち対応する第一導体に接続される導体を含む。
【先行技術文献】
【特許文献】
【0003】
特開2015-141945号公報
【発明の概要】
【発明が解決しようとする課題】
【0004】
本発明の一つの態様は、コイルでの短絡の発生を抑制し得るコイル部品を提供することを目的とする。
【課題を解決するための手段】
【0005】
本発明の一つの態様に係るコイル部品は、互いに対向する第一主面及び第二主面と、互いに対向する第一側面及び第二側面と、互いに対向する第三側面及び第四側面と、を含む素体と、素体内に配置されているコイルと、を備える。コイルは、第一主面に対向するように位置する第一導体層と、第二主面と対向するように位置する第二導体層と、を含む。第一導体層は、第三側面と第四側面とが対向する方向に並ぶ複数の第一導体を含む。複数の第一導体のそれぞれは、第一側面寄りに位置する第一導体部分と、第二側面寄りに位置すると共に第一導体部分に対応する第二導体部分と、第一導体部分と第二導体部分とを連結する第三導体部分と、を含む。第二導体層は、複数の第一導体のうち対応する第一導体に含まれる第一導体部分に接続される端と、上記対応する第一導体と隣り合う第一導体に含まれる第二導体部分に接続される端と、を含む導体を含む。複数の第一導体のそれぞれにおいて、第一導体部分と第二導体部分との上記方向での位置は、互いにずれていると共に、第三導体部分は、第一導体部分と第二導体部分とが延在する方向とは異なる方向に延在する。複数の第一導体のうち、互いに隣り合う二つの第一導体において、第三導体部分同士の最小距離は、第一導体部分同士の最小距離及び第二導体部分同士の最小距離より大きい。
【0006】
上記一つの態様では、複数の第一導体のそれぞれにおいて、第一導体部分と第二導体部分との第三側面と第四側面とが対向する方向での位置は、互いにずれていると共に、第三導体部分は、第一導体部分と第二導体部分とが延在する方向とは異なる方向に延在する。
第一導体同士の間隔が大きい構成は、第一導体同士の間隔が小さい構成に比して、コイルでの短絡が発生しがたい。第三導体部分が、上述した異なる方向に延在する上記一つの態様では、第三導体部分同士の間隔が容易に調整され得る。たとえば、第三導体部分同士の間隔が、第一導体部分同士の間隔より大きい構成では、第三導体部分同士の間隔が、第一導体部分同士の間隔と同じ構成に比して、第一導体同士の間隔が、部分的に増加し得る。たとえば、第三導体部分同士の間隔が、第二導体部分同士の間隔より大きい構成では、第三導体部分同士の間隔が、第二導体部分同士の間隔と同じ構成に比して、第一導体同士の間隔が、部分的に増加し得る。
第三導体部分同士の最小距離が、第一導体部分同士の最小距離及び第二導体部分同士の最小距離より大きい構成では、第三導体部分同士の間隔が、第一導体部分同士の間隔より大きく、かつ、第二導体部分同士の間隔より大きい。したがって、上記一つの態様は、コイルでの短絡の発生を抑制し得る。
【0007】
上記一つの態様は、複数の第一導体は、一対の第一導体と、一対の第一導体の間に位置する少なくとも一つの第一導体とを含んでよい。少なくとも一つの第一導体は、一対の第一導体の各幅よりも小さい幅を有してもよい。
少なくとも一つの第一導体が、一対の第一導体の各幅よりも小さい幅を有する構成では、第一導体同士の間隔を増加させ得る。したがって、本構成は、コイルでの短絡の発生をより一層抑制し得る。
【0008】
上記一つの態様では、第二導体層に含まれる導体は、少なくとも一つの第一導体に含まれる第一導体部分に接続される端を含む第四導体と、少なくとも一つの第一導体に含まれる第二導体部分に接続される端を含む第五導体と、を含んでよい。コイルは、少なくとも一つの第一導体に含まれる第一導体部分と、第四導体とを接続する第一接続導体と、少なくとも一つの第一導体に含まれる第二導体部分と、第五導体とを接続する第二接続導体と、を含んでよい。第一導体部分と第一接続導体とは、互いに接続されると共に同じ面積を有する端領域をそれぞれ含んでよい。第二導体部分と第二接続導体とは、互いに接続されると共に同じ面積を有する端領域をそれぞれ含んでよい。
コイルが端領域を含む構成では、第一導体層と第二導体層とが、端領域を介して、互いに確実に接続され得る。
【0009】
上記一つの態様では、少なくとも一つの第一導体において、第三導体部分は、第一導体部分及び第二導体部分の各幅より大きい幅を有してもよい。
コイル部品のインダクタンスの値は、第一導体の幅に依存する。第三導体部分が、第一導体部分及び第二導体部分の各幅より大きい幅を有する構成では、コイル部品のインダクタンスの値の調整が行われ得る。
【0010】
上記一つの態様では、複数の第一導体のそれぞれは、複数の第一導体のそれぞれの全体にわたって同じ幅を有してもよい。
上記一つの態様では、第一導体部分と第三導体部分とのなす角、及び、第二導体部分と第三導体部分とのなす角は、180度未満であってもよい。
上記一つの態様では、第一導体部分と第三導体部分とのなす角、及び、第二導体部分と第三導体部分とのなす角は、90度であってもよい。
上記一つの態様は、コイルに接続されていると共に、第一主面に配置される外部電極を備えてもよい。
【発明の効果】
(【0011】以降は省略されています)
この特許をJ-PlatPat(特許庁公式サイト)で参照する
関連特許
TDK株式会社
センサ
1か月前
TDK株式会社
電子部品
1か月前
TDK株式会社
電子部品
21日前
TDK株式会社
電子部品
25日前
TDK株式会社
フィルタ
26日前
TDK株式会社
圧電素子
26日前
TDK株式会社
電子部品
26日前
TDK株式会社
電子部品
1か月前
TDK株式会社
フィルタ
1か月前
TDK株式会社
電子部品
25日前
TDK株式会社
電子部品
26日前
TDK株式会社
電子部品
1か月前
TDK株式会社
電子部品
1か月前
TDK株式会社
コイル装置
25日前
TDK株式会社
光検知装置
1か月前
TDK株式会社
コイル部品
1か月前
TDK株式会社
磁気センサ
26日前
TDK株式会社
コイル装置
25日前
TDK株式会社
コイル部品
25日前
TDK株式会社
コイル部品
1か月前
TDK株式会社
コイル部品
26日前
TDK株式会社
コイル装置
25日前
TDK株式会社
コイル装置
25日前
TDK株式会社
コイル部品
1か月前
TDK株式会社
センサ装置
1か月前
TDK株式会社
コイル部品
1か月前
TDK株式会社
ガスセンサ
27日前
TDK株式会社
温度センサ
1か月前
TDK株式会社
コイル部品
1か月前
TDK株式会社
コイル装置
1か月前
TDK株式会社
コイル部品
28日前
TDK株式会社
コイル部品
1か月前
TDK株式会社
コイル部品
25日前
TDK株式会社
コイル部品
1か月前
TDK株式会社
熱処理容器
14日前
TDK株式会社
ガスセンサ
1か月前
続きを見る
他の特許を見る