TOP
|
特許
|
意匠
|
商標
特許ウォッチ
Twitter
他の特許を見る
10個以上の画像は省略されています。
公開番号
2025140416
公報種別
公開特許公報(A)
公開日
2025-09-29
出願番号
2024039814
出願日
2024-03-14
発明の名称
コイル部品
出願人
TDK株式会社
代理人
個人
,
個人
,
個人
主分類
H01F
27/29 20060101AFI20250919BHJP(基本的電気素子)
要約
【課題】外部電極とはんだとの固着強度を向上可能なコイル部品を提供する。
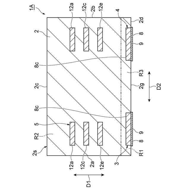
【解決手段】コイル部品1は、軟磁性金属粒子Pを含む素体2と、素体2内に配置されたコイル5と、コイル5に接続された外部電極3,4と、を備える。外部電極3,4は、素体2の外面2sに設けられた下地金属層8と、下地金属層8を覆うめっき層9とを有する。めっき層9は、めっき層9の外縁部9aに設けられ、素体2の内部に入り込んだ突起部9bを有している。
【選択図】図5
特許請求の範囲
【請求項1】
軟磁性金属粒子を含む素体と、
前記素体内に配置されたコイルと、
前記コイルに接続された外部電極と、を備え、
前記外部電極は、前記素体の外面に設けられた下地金属層と、前記下地金属層を覆うめっき層と、を有し、
前記めっき層は、前記めっき層の外縁部に設けられ、前記素体の内部に入り込んだ突起部を有している、
コイル部品。
続きを表示(約 870 文字)
【請求項2】
前記外面は、実装面を有し、
前記外部電極は、前記実装面のみに設けられている、
請求項1に記載のコイル部品。
【請求項3】
前記下地金属層は、前記素体の内部に埋設された埋設部を有している、
請求項1又は2に記載のコイル部品。
【請求項4】
前記外面は、前記外部電極の周縁部を有し、
前記埋設部は、前記外面から露出した露出面と、前記露出面と隣り合う側面と、を有し、
前記周縁部と前記側面とがなす角度は、90度以下である、
請求項3に記載のコイル部品。
【請求項5】
前記下地金属層は、ガラス成分を含まない、
請求項1又は2に記載のコイル部品。
【請求項6】
前記突起部は、前記めっき層の外縁部の全周にわたって設けられている、
請求項1又は2に記載のコイル部品。
【請求項7】
前記外面は、実装面と、前記実装面と隣り合い、互いに対向する一対の端面と、を有し、
一対の前記外部電極は、前記一対の端面の対向方向において互いに離隔して前記実装面に設けられており、
前記実装面は、前記実装面に直交する方向から見て前記一対の外部電極の間に配置された中央領域を有し、
前記突起部は、前記中央領域と隣り合う前記めっき層の外縁部に設けられている、
請求項1又は2に記載のコイル部品。
【請求項8】
前記素体は、前記外部電極と接して設けられた第一領域と、前記コイルと接して設けられた第二領域と、を有し、
前記第一領域に含まれる前記軟磁性金属粒子の平均粒子径は、前記第二領域に含まれる前記軟磁性金属粒子の平均粒子径よりも大きい、
請求項1又は2に記載のコイル部品。
【請求項9】
前記突起部が前記素体に入り込む平均深さは、前記軟磁性金属粒子の平均粒子径の1/2以上である、
請求項1又は2に記載のコイル部品。
発明の詳細な説明
【技術分野】
【0001】
本開示は、コイル部品に関する。
続きを表示(約 1,300 文字)
【背景技術】
【0002】
素体と、素体内に配置されたコイルと、コイルに接続された外部電極と、を備えるコイル部品が知られている(例えば、特許文献1参照)。特許文献1には、受動部品の外部電極がランドパターンにはんだで接合されることにより、受動部品が回路基板に実装されることが記載されている。
【先行技術文献】
【特許文献】
【0003】
特開2020-141079号公報
【発明の概要】
【発明が解決しようとする課題】
【0004】
本開示は、外部電極とはんだとの固着強度を向上可能なコイル部品を提供することを目的とする。
【課題を解決するための手段】
【0005】
(1)本開示の一態様に係るコイル部品は、軟磁性金属粒子を含む素体と、前記素体内に配置されたコイルと、前記コイルに接続された外部電極と、を備え、前記外部電極は、前記素体の外面に設けられた下地金属層と、前記下地金属層を覆うめっき層とを有し、前記めっき層は、前記めっき層の外縁部に設けられ、前記素体の内部に入り込んだ突起部を有している。
【0006】
上記コイル部品では、めっき層が素体の内部に入り込んだ突起部を有していることにより、めっき層が突起部を有していない構成に比べて、はんだと固着するめっき層の表面積が増える。これにより、外部電極とはんだとの固着強度を向上させることができる。
【0007】
(2)上記(1)のコイル部品において、前記外面は、実装面を有し、前記外部電極は、前記実装面のみに設けられていてもよい。この場合、外部電極が複数の面にわたって設けられている構成に比べて、外部電極とはんだとの固着強度の向上が重要となる。よって、めっき層が突起部を有する構成が特に有効となる。
【0008】
(3)上記(1)又は(2)のコイル部品において、前記下地金属層は、前記素体の内部に埋設された埋設部を有していてもよい。この場合、外部電極が素体から剥がれ難い。よって、コイル部品をはんだにより回路基板に実装したときの実装強度を向上させることができる。
【0009】
(4)上記(3)のコイル部品において、前記外面は、前記外部電極の周縁部を有し、前記埋設部は、前記外面から露出した露出面と、前記露出面と隣り合う側面と、を有し、前記周縁部と前記側面とがなす角度は、90度以下であってもよい。この場合、軟磁性金属粒子と埋設部の側面との間の隙間が大きくなり易い。大きな隙間にめっき層の突起部が形成されることにより、はんだと固着するめっき層の表面積が更に増える。これにより、外部電極とはんだとの固着強度を更に向上させることができる。
【0010】
(5)上記(1)~(4)のいずれか一つのコイル部品において、前記下地金属層は、ガラス成分を含まなくてもよい。この場合、下地金属層がガラス成分を含む構成に比べて、下地金属層の表面における下地金属材料の面積が大きくなる。よって、めっき形成を容易に行うことができる。
(【0011】以降は省略されています)
この特許をJ-PlatPat(特許庁公式サイト)で参照する
関連特許
TDK株式会社
電子部品
6日前
TDK株式会社
接合構造
11日前
TDK株式会社
電子部品
19日前
TDK株式会社
電力変換装置
19日前
TDK株式会社
コモンモードフィルタ
12日前
TDK株式会社
磁気センサおよびその製造方法
19日前
TDK株式会社
入力装置及び入力装置の制御方法
25日前
TDK株式会社
磁気センサおよび磁気センサの製造方法
11日前
TDK株式会社
接合構造
4日前
TDK株式会社
コイル部品
25日前
日機装株式会社
加圧装置
4日前
マクセル株式会社
電源装置
1か月前
株式会社東芝
端子台
1か月前
日新イオン機器株式会社
イオン源
4日前
株式会社GSユアサ
蓄電装置
1か月前
株式会社GSユアサ
蓄電装置
1か月前
富士電機株式会社
電磁接触器
19日前
株式会社GSユアサ
蓄電装置
1か月前
株式会社GSユアサ
蓄電装置
19日前
三菱電機株式会社
回路遮断器
27日前
個人
電源ボックス及び電子機器
4日前
ホシデン株式会社
複合コネクタ
13日前
株式会社東芝
電子源
4日前
トヨタ自動車株式会社
蓄電装置
1か月前
株式会社トクミ
ケーブル
5日前
大電株式会社
電線又はケーブル
11日前
日本特殊陶業株式会社
保持装置
1か月前
トヨタ自動車株式会社
蓄電装置
11日前
矢崎総業株式会社
コネクタ
19日前
矢崎総業株式会社
バスバー
今日
甲神電機株式会社
変流器及び零相変流器
1か月前
ヒロセ電機株式会社
電気コネクタ
19日前
日本無線株式会社
レーダアンテナ
1か月前
ローム株式会社
半導体モジュール
20日前
株式会社レゾナック
冷却器
27日前
住友電装株式会社
コネクタ
19日前
続きを見る
他の特許を見る