TOP
|
特許
|
意匠
|
商標
特許ウォッチ
Twitter
他の特許を見る
10個以上の画像は省略されています。
公開番号
2025154646
公報種別
公開特許公報(A)
公開日
2025-10-10
出願番号
2024057761
出願日
2024-03-29
発明の名称
コイル装置
出願人
TDK株式会社
代理人
前田・鈴木国際特許弁理士法人
主分類
H01F
30/10 20060101AFI20251002BHJP(基本的電気素子)
要約
【課題】空冷放熱性能に優れたコイル装置を提供する。
【解決手段】巻軸方向である第1方向に沿う挿通孔が形成されるボビンと、前記ボビンに巻回される第1および第2巻線と、前記第1方向に直交する第2方向に沿って所定の隙間を空けて配列される複数のコア部分に分割されており、各前記コア部分が前記挿通孔を挿通する中脚を有しており前記第2方向に直交する断面において前記第1および第2巻線を取り囲む磁路を形成するコアと、を有し、前記ボビンは、前記第1方向に直交する第1断面において前記挿通孔を取り囲んでおり前記第1および第2巻線に内側から対向する側壁外面に凹凸部が形成されているコイル装置。
【選択図】図7
特許請求の範囲
【請求項1】
巻軸方向である第1方向に沿う挿通孔が形成されるボビンと、
前記ボビンに巻回される第1および第2巻線と、
前記第1方向に直交する第2方向に沿って所定の隙間を空けて配列される複数のコア部分に分割されており、各前記コア部分が前記挿通孔を挿通する中脚を有しており前記第2方向に直交する断面において前記第1および第2巻線を取り囲む磁路を形成するコアと、を有し、
前記ボビンは、前記第1方向に直交する断面において前記挿通孔を取り囲んでおり前記第1および第2巻線に内側から対向する側壁外面に凹凸部が形成されているコイル装置。
続きを表示(約 1,300 文字)
【請求項2】
前記凹凸部は、前記挿通孔を挟んで前記第2方向に沿って延びる一対の側壁基面と、前記側壁基面から前記第1および第2方向とは垂直な第3方向に突出する複数のリブとを有する請求項1に記載のコイル装置。
【請求項3】
複数の前記リブは、前記第2方向に関して前記ボビンの中央部に配置される第1リブと、前記第2方向に関して前記第1リブと前記ボビンの端部との間に配置される第2リブと、を有し、
前記第1リブの前記第3方向への突出高さは、前記第2リブの前記第3方向への突出高さより高い請求項2に記載のコイル装置。
【請求項4】
前記ボビンは、前記側壁外面から前記第1方向に直交する方向に突出して前記第1および第2巻線を前記第1方向の一方側の部分と他方側の部分とに仕切る鍔部を有し、
前記鍔部のうち前記第2方向に関して前記ボビンの中央部に配置される部分における中央鍔上面および中央鍔下面の少なくとも一方には、段差面が形成されている請求項1に記載のコイル装置。
【請求項5】
前記ボビンは、前記側壁外面から前記第1方向に直交する方向に突出して前記第1および第2巻線を前記第1方向の一方側の部分と他方側の部分とに仕切る鍔部を有し、
前記鍔部は、前記第1方向に直交する断面において、前記側壁外面に沿って4カ所以上の切り欠き部を挟んで不連続に形成されている請求項1に記載のコイル装置。
【請求項6】
前記ボビン、前記第1および第2巻線並びに前記コアに対して前記第1方向の一方側である下側に配置してあり、
前記ボビン、前記第1および第2巻線並びに前記コアを載置する金属ベースを有する請求項1に記載のコイル装置。
【請求項7】
前記金属ベースに対して少なくとも2か所で接続しており、前記第2方向に直交する断面において、前記第1および第2巻線を取り囲む熱伝導路を、前記金属ベースとともに形成する金属ブロックを有する請求項1に記載のコイル装置。
【請求項8】
前記コア部は、前記金属ベースに対して、放熱グリースを介して固定されている請求項7に記載のコイル装置。
【請求項9】
前記側壁外面は、前記挿通孔を挟んで前記第2方向に沿って延びる一対の側壁基面と、一対の前記側壁基面の互いの前記第2方向の端部同士を接続する一対の側壁端面と、を有し、
一対の前記側壁端面の少なくとも一方には、前記挿通孔に連通する貫通孔が形成されている請求項1に記載のコイル装置。
【請求項10】
前記ボビン、前記第1および第2巻線並びに前記コアに対して前記第1方向の他方側である上側に配置してあり、前記コアを構成する複数の前記コア部分に接続しており前記第1方向の一方側である下側を向く接続下面と、前記第1方向の他方側である上側を向き放熱凹凸部が形成される放熱上面と、を有する金属製のヒートシンクを有する請求項1に記載のコイル装置。
(【請求項11】以降は省略されています)
発明の詳細な説明
【技術分野】
【0001】
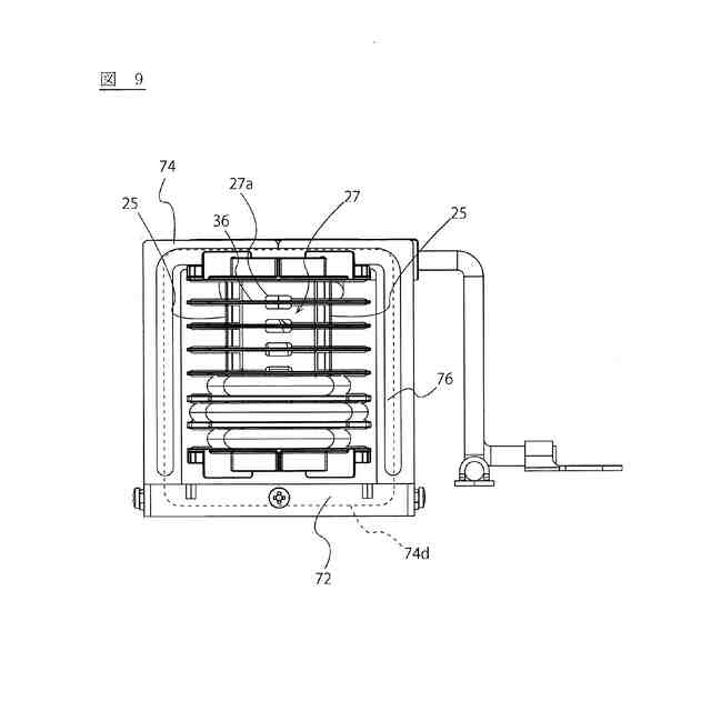
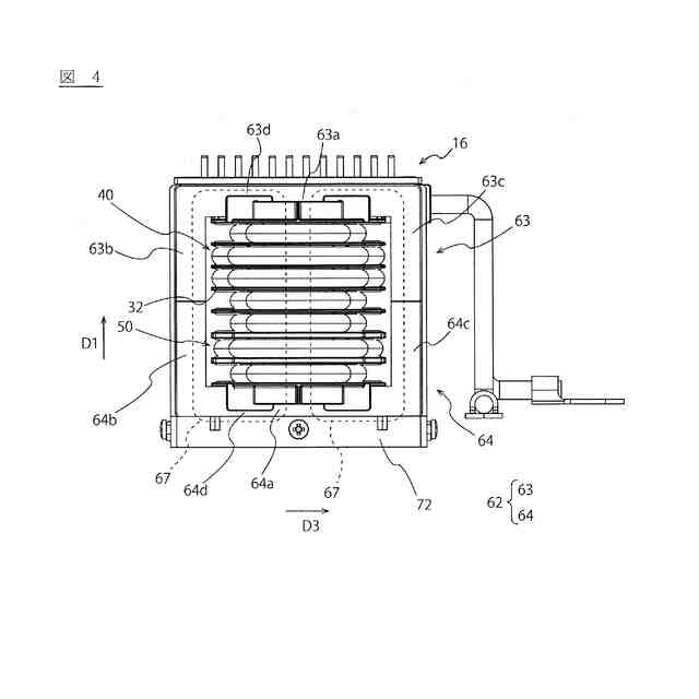
本開示は、空冷放熱性能に優れたコイル装置に関する。
続きを表示(約 1,500 文字)
【背景技術】
【0002】
たとえば大容量に対応するトランス等のコイル装置では、発熱による変形や磁気特性の変動を抑制するために、放熱効率が求められる場合がある。また、コイル装置を含む装置の簡略化や小型化が求められる場合、水冷式より簡易的な空冷式により効果的に放熱されるコイル装置が必要となる。
【0003】
ここで大容量に対応し、かつ、放熱特性を考慮したコイル装置として、一組のE-Eコアを突き合せて形成したコア部分を、複数重ねて構成したコアを用いるコイル装置が提案されている(特許文献1等参照)。また、E-Eコアを突き合せて形成したコア部分を複数配列し、コア部分の間に金属板を配置したものも提案されている(特許文献2等参照)。
【先行技術文献】
【特許文献】
【0004】
実開昭58-12915号公報
特開2011-61096号公報
【発明の概要】
【発明が解決しようとする課題】
【0005】
しかし、従来のコイル装置では、巻線などが配置されているコアに囲まれた空間内には空気の流れが形成されず、効率的な空冷放熱特性を得ることが難しいという課題がある。
本開示は、このような実状に鑑みてなされ、複数のコア部分が所定方向に配列されて構成されるコアを有するコイル装置に関し、空冷放熱性能に優れたコイル装置を提供する。
【課題を解決するための手段】
【0006】
上記目的を達成するために、本開示に係るコイル装置は、
巻軸方向である第1方向に沿う挿通孔が形成されるボビンと、
前記ボビンに巻回される第1および第2巻線と、
前記第1方向に直交する第2方向に沿って所定の隙間を空けて配列される複数のコア部分に分割されており、各前記コア部分が前記挿通孔を挿通する中脚を有しており前記第2方向に直交する断面において前記第1および第2巻線を取り囲む磁路を形成するコアと、を有し、
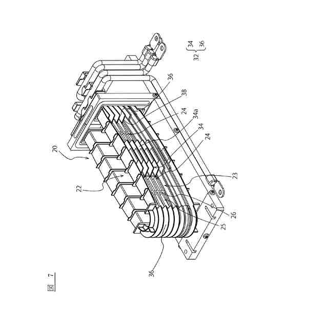
前記ボビンは、前記第1方向に直交する断面において前記挿通孔を取り囲んでおり前記第1および第2巻線に内側から対向する側壁外面に凹凸部が形成されている、
【0007】
本開示に係るコイル装置では、複数のコア部分が所定の隙間を空けて配列されることにより、コアの内側とコアの外側との間に空気の流れが生じやすくなっている。また、ボビンの側壁外面に凹凸部が形成されていることにより、第1および第2巻線とボビンとの間に冷却のための気流が入り込む隙間が形成され、このようなコイル装置は、空冷放熱性能に優れている。
【0008】
また、たとえば、前記凹凸部は、前記挿通孔を挟んで前記第2方向に沿って延びる一対の側壁基面と、前記側壁基面から前記第1および第2方向とは垂直な第3方向に突出する複数のリブとを有してもよい。
【0009】
側壁外面に形成される凹凸部としては、穴などにより形成することも可能であるが、凹凸部が側壁基面とそこから突出するリブを有することにより、ボビンの強度を好適に確保することが可能である。
【0010】
また、たとえば、複数の前記リブは、前記第2方向に関して前記ボビンの中央部に配置される第1リブと、前記第2方向に関して前記第1リブと前記ボビンの端部との間に配置される第2リブと、を有してもよく、
前記第1リブの前記第3方向への突出高さは、前記第2リブの前記第3方向への突出高さより高くてもよい。
(【0011】以降は省略されています)
この特許をJ-PlatPat(特許庁公式サイト)で参照する
関連特許
東ソー株式会社
絶縁電線
11日前
APB株式会社
蓄電セル
9日前
ローム株式会社
半導体装置
10日前
マクセル株式会社
電源装置
3日前
株式会社東芝
端子台
3日前
株式会社GSユアサ
蓄電装置
4日前
株式会社GSユアサ
蓄電装置
4日前
トヨタ自動車株式会社
蓄電装置
4日前
トヨタ自動車株式会社
冷却構造
11日前
トヨタ自動車株式会社
バッテリ
9日前
北道電設株式会社
配電具カバー
9日前
日本特殊陶業株式会社
保持装置
12日前
日新イオン機器株式会社
基板処理装置
6日前
ローム株式会社
半導体装置
11日前
住友電装株式会社
コネクタ
11日前
トヨタ自動車株式会社
密閉型電池
5日前
日亜化学工業株式会社
半導体レーザ素子
6日前
株式会社デンソー
電子装置
6日前
マクセル株式会社
扁平形電池
10日前
三協立山株式会社
バッテリーケース
10日前
株式会社東芝
高周波回路
12日前
株式会社村田製作所
コイル部品
11日前
シャープ株式会社
アンテナ装置
10日前
トヨタ自動車株式会社
蓄電モジュール
4日前
トヨタ自動車株式会社
電池モジュール
11日前
ローム株式会社
半導体パッケージ
10日前
アイリスオーヤマ株式会社
電動工具
9日前
日本航空電子工業株式会社
コネクタ組立体
10日前
トヨタ自動車株式会社
正極層
9日前
大阪瓦斯株式会社
平板型燃料電池スタック
10日前
TDK株式会社
アンテナモジュール
3日前
日産自動車株式会社
電池モジュール
3日前
新光電気工業株式会社
基板固定装置
9日前
ヒロセ電機株式会社
回路基板用電気コネクタ
6日前
ヒロセ電機株式会社
平型導体用電気コネクタ
5日前
トヨタ自動車株式会社
電池容量検知システム
11日前
続きを見る
他の特許を見る