TOP
|
特許
|
意匠
|
商標
特許ウォッチ
Twitter
他の特許を見る
10個以上の画像は省略されています。
公開番号
2025144252
公報種別
公開特許公報(A)
公開日
2025-10-02
出願番号
2024043941
出願日
2024-03-19
発明の名称
光検知装置
出願人
TDK株式会社
代理人
個人
,
個人
,
個人
主分類
H10N
50/10 20230101AFI20250925BHJP()
要約
【課題】外乱の影響を受けにくい光検知装置を提供する。
【解決手段】光検知装置は、第1端子と、第2端子と、第3端子と、第4端子と、第1素子と、第2素子と、第3素子と、第4素子と、を備える。前記第1端子、前記第1素子、前記第2素子、前記第2端子は、第1経路を形成する。前記第1端子、前記第3素子、前記第4素子、前記第2端子は、第2経路を形成する。前記第3端子は、前記第1素子と前記第2素子との間に接続される。前記第4端子は、前記第3素子と前記第4素子との間に。前記第1素子、前記第2素子、前記第3素子及び前記第4素子のそれぞれは、光が照射されると電圧を生じる光感受層と、を有する。前記第1素子の前記光感受層には、測定対象となる光が照射される。前記第2素子及び前記第3素子の前記光感受層には、測定対象となる光が照射されない。
【選択図】図1
特許請求の範囲
【請求項1】
第1端子と、第2端子と、第3端子と、第4端子と、第1素子と、第2素子と、第3素子と、第4素子と、を備え、
前記第1端子、前記第1素子、前記第2素子、前記第2端子は、第1経路を形成し、
前記第1端子、前記第3素子、前記第4素子、前記第2端子は、第2経路を形成し、
前記第3端子は、前記第1素子と前記第2素子との間に接続され、
前記第4端子は、前記第3素子と前記第4素子との間に接続され、
前記第1素子、前記第2素子、前記第3素子及び前記第4素子のそれぞれは、第1電極と、第2電極と、前記第1電極と前記第2電極との間にあり、光が照射されると電圧を生じる光感受層と、を有し、
前記第1素子の前記光感受層には、測定対象となる光が照射され、
前記第2素子及び前記第3素子の前記光感受層には、測定対象となる光が照射されない、光検知装置。
続きを表示(約 720 文字)
【請求項2】
前記第4素子の前記光感受層には、測定対象となる光が照射されない、請求項1に記載の光検知装置。
【請求項3】
前記第4素子の前記光感受層には、測定対象となる光が照射される、請求項1に記載の光検知装置。
【請求項4】
前記第1素子の前記第1電極は透明電極であり、
前記第2素子及び前記第3素子の前記第1電極は金属電極である、請求項1に記載の光検知装置。
【請求項5】
前記第1素子、前記第2素子、前記第3素子及び前記第4素子のそれぞれの前記第1電極は、透明電極であり、
前記第2素子及び前記第3素子はそれぞれ、積層方向から見て前記光感受層と重なる位置に、光反射層をさらに備える、請求項1に記載の光検知装置。
【請求項6】
前記第1素子、前記第2素子、前記第3素子及び前記第4素子のそれぞれの前記第1電極は、透明電極であり、
前記第2素子及び前記第3素子はそれぞれ、積層方向から見て前記光感受層と重なる位置に、光吸収層をさらに備える、請求項1に記載の光検知装置。
【請求項7】
前記第1素子、前記第2素子、前記第3素子及び前記第4素子を覆う光導波路をさらに備え、
前記光導波路は、光が伝搬するコアと、前記コアを被覆するクラッドと、を備え、
前記コアを伝搬した光は、前記第1素子に照射される、請求項1に記載の光検知装置。
【請求項8】
前記光感受層は、第1強磁性層と、第2強磁性層と、前記第1強磁性層と前記第2強磁性層との間に位置するスペーサ層と、を備える、請求項1に記載の光検知装置。
発明の詳細な説明
【技術分野】
【0001】
本発明は、光検知装置に関する。
続きを表示(約 1,100 文字)
【背景技術】
【0002】
光電変換素子は、様々な用途で用いられている。
【0003】
例えば、特許文献1には、フォトダイオードを用いて、光信号を受信する受信装置が記載されている。フォトダイオードは、例えば、半導体のpn接合を用いたpn接合ダイオード等であり、光を電気信号に変換する。
【0004】
また例えば、特許文献2には、磁性素子を用いた新規な光デバイスが開示されている。磁性素子は、光が照射されると磁気状態が変化し、抵抗値が変化する。
【先行技術文献】
【特許文献】
【0005】
特開2001-292107号公報
特開2023-90284号公報
【発明の概要】
【発明が解決しようとする課題】
【0006】
光検知素子は、光を電気信号に変換する。例えば、磁性素子を用いた光検知素子は、温度、磁場等の外乱の影響を受けて、出力が変化する場合がある。そのため、光検知素子を用いた光強度測定において、外乱の影響を無視することはできず、外乱の影響を受けにくい光検知装置が求められている。
【0007】
本発明は上記問題に鑑みてなされたものであり、外乱の影響を受けにくい光検知装置を提供することを目的とする。
【課題を解決するための手段】
【0008】
上記課題を解決するため、以下の手段を提供する。
【0009】
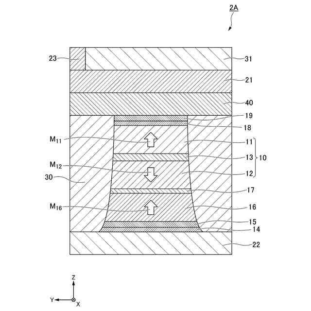
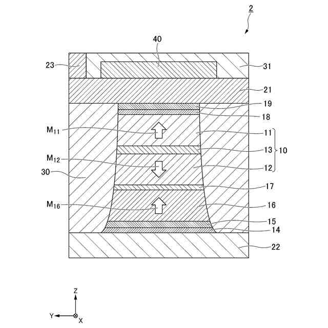
本実施形態に係る光検知装置は、第1端子と、第2端子と、第3端子と、第4端子と、第1素子と、第2素子と、第3素子と、第4素子と、を備える。前記第1端子、前記第1素子、前記第2素子、前記第2端子は、第1経路を形成する。前記第1端子、前記第3素子、前記第4素子、前記第2端子は、第2経路を形成する。前記第3端子は、前記第1素子と前記第2素子との間に接続されている。前記第4端子は、前記第3素子と前記第4素子との間に接続されている。前記第1素子、前記第2素子、前記第3素子及び前記第4素子のそれぞれは、第1電極と、第2電極と、前記第1電極と前記第2電極との間にあり、光が照射されると電圧を生じる光感受層と、を有する。前記第1素子の前記光感受層には、測定対象となる光が照射される。前記第2素子及び前記第3素子の前記光感受層には、測定対象となる光が照射されない。
【発明の効果】
【0010】
上記態様にかかる光検知装置は、外乱の影響を受けにくい。
【図面の簡単な説明】
(【0011】以降は省略されています)
この特許をJ-PlatPat(特許庁公式サイト)で参照する
関連特許
TDK株式会社
電子部品
1か月前
TDK株式会社
電子部品
26日前
TDK株式会社
コイル装置
1か月前
TDK株式会社
コイル部品
1か月前
TDK株式会社
コイル部品
1か月前
TDK株式会社
コイル装置
1か月前
TDK株式会社
熱処理容器
19日前
TDK株式会社
コイル装置
1か月前
TDK株式会社
積層コイル部品
1か月前
TDK株式会社
アンテナモジュール
10日前
TDK株式会社
配線体、及び表示装置
1か月前
TDK株式会社
配線体、及び表示装置
1か月前
TDK株式会社
積層セラミック電子部品
1か月前
TDK株式会社
積層セラミック電子部品
1か月前
TDK株式会社
電子部品及び電子部品の製造方法
1か月前
TDK株式会社
入力装置及び入力装置の制御方法
16日前
TDK株式会社
物理レザバー素子及び物理レザバー
12日前
TDK株式会社
非可逆回路素子及び量子コンピュータ
16日前
TDK株式会社
DC-DCコンバータおよび電源回路
1か月前
TDK株式会社
インダクタおよびDC-DCコンバータ
1か月前
TDK株式会社
軟磁性粉末、磁性体コア、および磁性部品
2日前
TDK株式会社
磁性シート及びこれを備えるコイルモジュール
2日前
TDK株式会社
誘電体組成物、積層電子部品およびその製造方法
1か月前
TDK株式会社
圧電薄膜、圧電薄膜素子、及び圧電トランスデューサ
1か月前
TDK株式会社
圧電薄膜、圧電薄膜素子、及び圧電トランスデューサ
1か月前
TDK株式会社
軟磁性合金粒子、軟磁性粉末、圧粉磁芯および電子部品
2日前
TDK株式会社
固体電解コンデンサ及び固体電解コンデンサの製造方法
11日前
TDK株式会社
電子部品、電子部品の製造方法および電子部品の製造装置
1か月前
TDK株式会社
振動デバイス
26日前
TDK株式会社
MEMSデバイス
23日前
TDK株式会社
磁気センサ、磁場検出装置、位置検出装置、レンズモジュール、および撮像装置
16日前
TDK株式会社
物理レザバー素子及び物理レザバー
12日前
TDK株式会社
光合波器、光変調機能付き光合波部材、可視光光源モジュール、光学エンジン及びXRグラス
1か月前
TDK株式会社
磁気センサ、磁場検出装置、位置検出装置、レンズモジュール、撮像装置、および磁気センサの製造方法
16日前
TDK株式会社
光合波器、光合波部材、光変調機能付き光合波部材、可視光光源モジュール、光学エンジン及びXRグラス
16日前
TDK株式会社
光変調器、光源モジュール、光学エンジン、XRグラス、光通信用送信装置で、光通信システム、光変調器の制御方法
16日前
続きを見る
他の特許を見る