TOP
|
特許
|
意匠
|
商標
特許ウォッチ
Twitter
他の特許を見る
10個以上の画像は省略されています。
公開番号
2025154626
公報種別
公開特許公報(A)
公開日
2025-10-10
出願番号
2024057736
出願日
2024-03-29
発明の名称
積層セラミック電子部品
出願人
TDK株式会社
代理人
前田・鈴木国際特許弁理士法人
主分類
H01G
4/30 20060101AFI20251002BHJP(基本的電気素子)
要約
【課題】温度特性を良好に維持しつつサーマルクラックの発生を抑制した積層セラミック電子部品を提供すること。
【解決手段】
積層されている誘電体層と内部電極層とを有する積層セラミック電子部品である。内部電極層のうち積層方向に沿って最も外側にある内部電極層を第1内部電極層とし、誘電体層のうち積層方向に沿って第1内部電極層より外側にある誘電体層を外装誘電体層とし、外装誘電体層には第1内部電極層の近傍から積層方向に沿って外側に向かってMn濃度が上昇する濃度勾配が存在する。
【選択図】図4
特許請求の範囲
【請求項1】
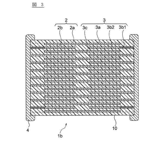
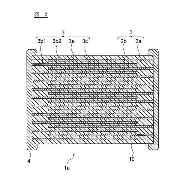
積層されている誘電体層と内部電極層とを有する積層セラミック電子部品であって、
前記内部電極層のうち積層方向に沿って最も外側にある内部電極層を第1内部電極層とし、
前記誘電体層のうち前記積層方向に沿って前記第1内部電極層より外側にある誘電体層を外装誘電体層とし、
前記外装誘電体層には前記第1内部電極層の近傍から前記積層方向に沿って外側に向かってMn濃度が上昇する濃度勾配が存在する積層セラミック電子部品。
続きを表示(約 1,000 文字)
【請求項2】
前記外装誘電体層の厚みが150um以上500um以下である請求項1に記載の積層セラミック電子部品。
【請求項3】
前記外装誘電体層のうち前記第1内部電極層からの距離が100um以下である部分に前記濃度勾配が存在する請求項2に記載の積層セラミック電子部品。
【請求項4】
前記外装誘電体層において、前記第1内部電極層からの距離が100um以上である部分におけるMn濃度と比較して、前記第1内部電極層からの距離が1um以上50um以下である部分におけるMn濃度が80%以上90%以下であり、かつ、前記第1内部電極層からの距離が50um以上100um以下である部分におけるMn濃度が90%以上100%以下である請求項3に記載の積層セラミック電子部品。
【請求項5】
前記第1内部電極層におけるMn濃度が他の内部電極層におけるMn濃度よりも高い請求項1に記載の積層セラミック電子部品。
【請求項6】
前記内部電極層のうち、前記第1内部電極層よりも内側にありギャップ対応部を有する内部電極層を第2内部電極層とし、
前記第2内部電極層よりも内側にありギャップ対応部を有さない内部電極層を第3内部電極層とし、
前記第1内部電極層におけるMn濃度をC1、前記第2内部電極層の前記ギャップ対応部におけるMn濃度をC2A、前記第3内部電極層におけるMn濃度をC3として、
C3<C2A<C1を満たす請求項5に記載の積層セラミック電子部品。
【請求項7】
C1/C3が2.5以上4.0以下である請求項6に記載の積層セラミック電子部品。
【請求項8】
前記第2内部電極層の前記ギャップ対応部以外の部分におけるMn濃度をC2Bとして、C2A/C2Bが1.5以上3.0以下である請求項6に記載の積層セラミック電子部品。
【請求項9】
C1/C2Aが1.2以上2.0以下である請求項6に記載の積層セラミック電子部品。
【請求項10】
前記誘電体層のうち前記積層方向に沿って前記第1内部電極層より内側にある誘電体層を内部誘電体層として、前記内部誘電体層の厚みが3.0um以上15um以下である請求項1~9のいずれかに記載の積層セラミック電子部品。
(【請求項11】以降は省略されています)
発明の詳細な説明
【技術分野】
【0001】
本発明は、積層セラミック電子部品に関する。
続きを表示(約 1,200 文字)
【背景技術】
【0002】
特許文献1には、積層セラミックコンデンサに関する発明が記載されている。具体的には、最外層内部電極と、その外側に位置する最外誘電体セラミック層と、の境界にMgとMnとを含有する境界層が形成されることでセラミック積層体への水分の侵入を抑制、防止できることが記載されている。
【先行技術文献】
【特許文献】
【0003】
特開2014-232896号公報
【発明の概要】
【発明が解決しようとする課題】
【0004】
本発明は、温度特性を良好に維持しつつサーマルクラックの発生を抑制した積層セラミック電子部品を提供することを目的とする。
【課題を解決するための手段】
【0005】
上記の目的を達成するために、本発明に係る積層セラミック電子部品は、
積層されている誘電体層と内部電極層とを有する積層セラミック電子部品であって、
前記内部電極層のうち積層方向に沿って最も外側にある内部電極層を第1内部電極層とし、
前記誘電体層のうち前記積層方向に沿って前記第1内部電極層より外側にある誘電体層を外装誘電体層とし、
前記外装誘電体層には前記第1内部電極層の近傍から前記積層方向に沿って外側に向かってMn濃度が上昇する濃度勾配が存在する積層セラミック電子部品である。
【0006】
前記外装誘電体層の厚みが150um以上500um以下であってもよい。
【0007】
前記外装誘電体層のうち前記第1内部電極層からの距離が100um以下である部分に前記濃度勾配が存在してもよい。
【0008】
前記外装誘電体層において、前記第1内部電極層からの距離が100um以上である部分におけるMn濃度と比較して、前記第1内部電極層からの距離が1um以上50um以下である部分におけるMn濃度が80%以上90%以下であってもよく、かつ、前記第1内部電極層からの距離が50um以上100um以下である部分におけるMn濃度が90%以上100%以下であってもよい。
【0009】
前記第1内部電極層におけるMn濃度が他の内部電極層におけるMn濃度よりも高くてもよい。
【0010】
前記内部電極層のうち、前記第1内部電極層よりも内側にありギャップ対応部を有する内部電極層を第2内部電極層とし、
前記第2内部電極層よりも内側にありギャップ対応部を有さない内部電極層を第3内部電極層とし、
前記第1内部電極層におけるMn濃度をC1、前記第2内部電極層の前記ギャップ対応部におけるMn濃度をC2A、前記第3内部電極層におけるMn濃度をC3として、
C3<C2A<C1を満たしてもよい。
(【0011】以降は省略されています)
この特許をJ-PlatPat(特許庁公式サイト)で参照する
関連特許
TDK株式会社
電子部品
4日前
TDK株式会社
電子部品
17日前
TDK株式会社
接合構造
9日前
TDK株式会社
熱処理容器
1か月前
TDK株式会社
電力変換装置
17日前
TDK株式会社
アンテナモジュール
1か月前
TDK株式会社
コモンモードフィルタ
10日前
TDK株式会社
磁気センサおよびその製造方法
17日前
TDK株式会社
入力装置及び入力装置の制御方法
23日前
TDK株式会社
入力装置及び入力装置の制御方法
1か月前
TDK株式会社
物理レザバー素子及び物理レザバー
1か月前
TDK株式会社
非可逆回路素子及び量子コンピュータ
1か月前
TDK株式会社
磁気センサおよび磁気センサの製造方法
9日前
TDK株式会社
軟磁性粉末、磁性体コア、および磁性部品
1か月前
TDK株式会社
磁性シート及びこれを備えるコイルモジュール
1か月前
TDK株式会社
軟磁性合金粒子、軟磁性粉末、圧粉磁芯および電子部品
1か月前
TDK株式会社
固体電解コンデンサ及び固体電解コンデンサの製造方法
1か月前
TDK株式会社
接合構造
2日前
TDK株式会社
コイル部品
23日前
TDK株式会社
MEMSデバイス
1か月前
TDK株式会社
磁気センサ、磁場検出装置、位置検出装置、レンズモジュール、および撮像装置
1か月前
TDK株式会社
物理レザバー素子及び物理レザバー
1か月前
TDK株式会社
磁気センサ、磁場検出装置、位置検出装置、レンズモジュール、撮像装置、および磁気センサの製造方法
1か月前
TDK株式会社
光合波器、光合波部材、光変調機能付き光合波部材、可視光光源モジュール、光学エンジン及びXRグラス
1か月前
TDK株式会社
光変調器、光源モジュール、光学エンジン、XRグラス、光通信用送信装置で、光通信システム、光変調器の制御方法
1か月前
TDK株式会社
光変調器、光源モジュール、光学エンジン、画像表示装置、XRグラス、光通信用送信装置、光通信システム、光変調器の制御方法
1か月前
株式会社プロテリアル
フェライト磁心、並びにそれを用いたコイル部品及び電子部品
1か月前
東ソー株式会社
絶縁電線
1か月前
APB株式会社
蓄電セル
1か月前
日機装株式会社
加圧装置
2日前
株式会社東芝
端子台
1か月前
日新イオン機器株式会社
イオン源
2日前
ローム株式会社
半導体装置
1か月前
マクセル株式会社
電源装置
1か月前
株式会社GSユアサ
蓄電装置
1か月前
株式会社ホロン
冷陰極電子源
1か月前
続きを見る
他の特許を見る