TOP
|
特許
|
意匠
|
商標
特許ウォッチ
Twitter
他の特許を見る
10個以上の画像は省略されています。
公開番号
2025163178
公報種別
公開特許公報(A)
公開日
2025-10-28
出願番号
2025130406,2023175343
出願日
2025-08-05,2019-02-22
発明の名称
フェライト磁心、並びにそれを用いたコイル部品及び電子部品
出願人
株式会社プロテリアル
代理人
主分類
H01F
27/24 20060101AFI20251021BHJP(基本的電気素子)
要約
【課題】小型・軽量化を可能とするフェライト磁心並びにそれを用いたコイル部品及び電子部品を提供する
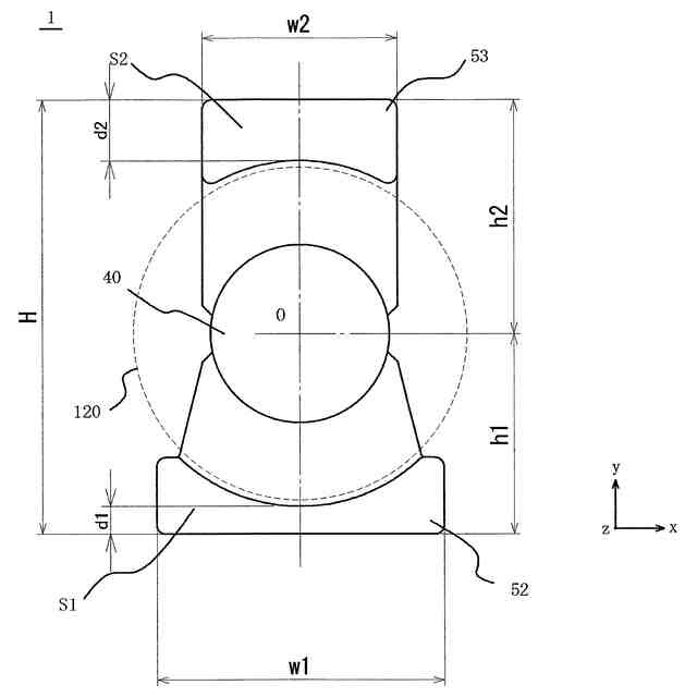
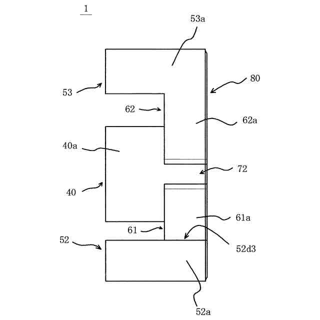
【解決手段】フェライト磁心1は、柱状の中脚部40、中脚部の軸方向と直交する方向に、中脚部を中心として両側に離間して配置された第1、第2外脚部52、53、中脚部と第1外脚部とをそれらの基部で連結する第1連結部及び中脚部と第2外脚部とをそれらの基部で連結する第2連結部を有し、中脚部の軸方向をz軸方向、z軸と直交する第1外脚部及び第2外脚部どうしの対向方向をy軸方向、y軸及びz軸と直交する方向をx軸方向とし、各脚部の基部を下側にしてフェライト磁心をz軸方向上側から見たとき、第1外脚部のx軸方向の幅w1が第2外脚部のx軸方向の幅w2よりも大きく、第1外脚部の、中脚部の中心を通るy軸方向の直線に沿った幅d1が、第2脚部の、中脚部の中心を通るy軸方向の直線に沿った幅d2よりも小さい。
【選択図】図1
特許請求の範囲
【請求項1】
柱状の中脚部と、
前記中脚部の軸方向と直交する方向に、前記中脚部を中心として両側に離間して配置された第1外脚部及び第2外脚部と、
前記中脚部と前記第1外脚部とをそれらの基部で連結する第1連結部と、
前記中脚部と前記第2外脚部とをそれらの基部で連結する第2連結部とを有するフェライト磁心であって、
前記中脚部の軸方向をz軸方向、z軸と直交する前記第1外脚部及び第2外脚部どうしの対向方向をy軸方向、y軸及びz軸と直交する方向をx軸方向とし、前記各脚部の基部を下側にして前記フェライト磁心をz軸方向上側から見たとき、
前記第1外脚部のx軸方向の幅w1が前記第2外脚部のx軸方向の幅w2よりも大きく、
前記第1外脚部の、前記中脚部の中心を通るy軸方向の直線に沿った幅d1が、前記第2外脚部の、前記中脚部の中心を通るy軸方向の直線に沿った幅d2よりも小さく、
前記中脚部のx軸方向の両側面に、z軸方向に連続するくびれを備え、
焼結で得られるフェライト磁心。
続きを表示(約 1,000 文字)
【請求項2】
請求項1に記載のフェライト磁心において、
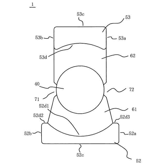
第1連結部が第1外脚部に接続する部分において、第1外脚部のx軸方向の幅は、第1連結部のx軸方向の幅よりも大きく、
第2連結部が第2外脚部に接続する部分において、第2外脚部のx軸方向の幅は、第2連結部のx軸方向の幅と等しい、
フェライト磁心。
【請求項3】
請求項1又は2に記載のフェライト磁心において、
前記中脚部が円柱状である、
フェライト磁心。
【請求項4】
請求項1~3のいずれかに記載のフェライト磁心において、
前記第1外脚部及び第2外脚部は、前記中脚部と対向する側の反対側に外側面を有し、
前記中脚部の中心軸から前記第1外脚部の外側面までの距離h1と、前記中脚部の中心軸から前記第2外脚部の外側面までの距離h2とが、h1<h2の関係にある、
フェライト磁心。
【請求項5】
請求項1~4のいずれかに記載のフェライト磁心において、
前記中脚部の中心軸を通るy-z平面に対して対称形である、
フェライト磁心。
【請求項6】
請求項1~5のいずれかに記載のフェライト磁心において、
前記第1外脚部及び第2外脚部は、前記中脚部と対向する側に円弧状の内側面を有する、
フェライト磁心。
【請求項7】
請求項6に記載のフェライト磁心において、
前記中脚部の中心軸を通るy軸方向の直線に沿って測定したとき、前記中脚部の中心軸から前記第1外脚部の内側面までの距離と前記中脚部の中心軸から前記第2外脚部の内側面までの距離とが同じである、
フェライト磁心。
【請求項8】
請求項1~7のいずれかに記載のフェライト磁心において、
前記第1外脚部の外側面が平坦な面である、
フェライト磁心。
【請求項9】
請求項1~8のいずれかに記載のフェライト磁心において、
z軸方向上側から見たときに、前記第1外脚部のz軸方向端面の面積S1と、前記第2外脚部のz軸方向端面の面積S2とがほぼ同じである、
フェライト磁心。
【請求項10】
請求項9に記載のフェライト磁心において、
前記面積S1と前記面積S2とが、
S1×0.8≦S2≦S1×1.2
の関係を満たす、
フェライト磁心。
(【請求項11】以降は省略されています)
発明の詳細な説明
【技術分野】
【0001】
本発明は、各種電子機器に使用されるフェライト磁心、並びにそれを用いたコイル部品及び電子部品に関する。
続きを表示(約 2,300 文字)
【背景技術】
【0002】
近年急速に普及するEV(Electric Vehicle)、PHEV(Plug-in Hybrid Electric Vehicle)等の電動輸送機器の一つである電気自動車には大出力の電気モータや充電器等の機器が設けられていて、それらに用いられる電源装置には高電圧・大電流に耐えるトランス、チョーク巻線等のコイル部品及びそれを用いた電子部品が要求される。コイル部品は、巻線の抵抗損失及びフェライト磁心の磁気エネルギー損失によって発熱する。特に巻線の発熱が著しい。そのため、晒される環境最高温度よりも僅かに高い温度に安定させ、フェライト磁心が磁性を失う熱暴走を防ぐとともに、巻線自体及びコイル部品を構成する部材に熱的な損傷が生じないことが求められる。
【0003】
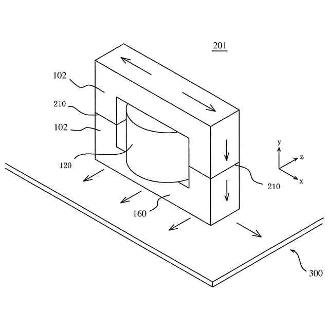
コイル部品の発熱の対処として、実装する基板、金属ケース等の被装着体を介して、冷却器として機能するヒートシンク、熱容量の大きなフレーム等に逃がす方法が一般的である。特開2013-131540号及び特開2015-141918号は、図9に示すようにフェライト磁心102に放熱性部材(被装着体300)を接触させてコイル部品201の発熱を放熱することが記載されている。放熱性部材は、銅板、アルミニウム板等の熱伝導率の大きな金属部材で構成される。
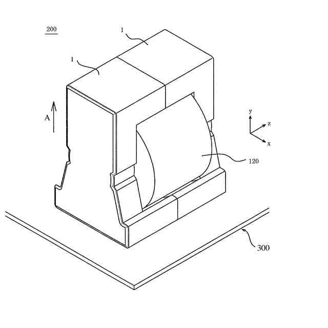
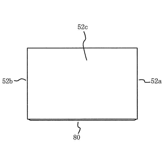
コイル部品に使用されるフェライト磁心として、所謂E型のフェライト磁心が知られている
(TDK株式会社、Mn-Zn系スイッチング電源用フェライトコア、[平成30年2月15日検索]、インターネット<URL: https://product.tdk.com/info/ja/catalog/datasheet/ferrite_mz_sw_e_ja.pdf>)。
E型のフェライト磁心は、図10に示すように、長方形状の平板部160と、その平板部160の両端に突出して設けられた一対の外脚部152、153と、その間に設けられた中脚部140とを有する。E型のフェライト磁心101は平板部160の中央に立設する中脚部140の中心に対して回転対称の位置に外脚部152、153が設けられた対称形であるのが一般的である。
【先行技術文献】
【特許文献】
【0004】
特開2013-131540号公報
特開2015-141918号公報
【発明の概要】
【発明が解決しようとする課題】
【0005】
図9に示すように、コイル部品201と被装着体300との接触をフェライト磁心102の平板部160の背面で行うことは接触面積を広くとれるといった点で有利である。しかしながら、巻線120の径方向や幅方向(y軸方向)の熱経路には導線を保護する絶縁体により熱的なギャップが形成されるため、巻線120の径方向や幅方向の熱伝導は、巻回する周方向よりも劣ったものとなり易い。
【0006】
また、コイル部品201は一対のフェライト磁心102,102を組み合わせてなる構成であるので、被装着体300から見て、フェライト磁心102,102間の熱経路(図中矢印で示す)に、組み合わせ面による熱伝導性を下げる熱的なギャップ210が形成される。そのため、被装着体300からy軸方向に遠い側の巻線やフェライト磁心の放熱が不十分になりやすいため、コイル部品に熱損傷が生じないように追加の対策を施すことが必要となる場合があった。
【0007】
さらに回路基板の高密度化に伴い、複数の電子部品を限られた空間内に密に配置できるように、またバッテリー消費を抑える観点からも電子部品の小型・軽量化が強く求められており、個々の電子部品は配置可能な面積が制限される傾向にある。コイル部品を小型・軽量化するためにフェライト磁心を小型化すると、発熱量が増加するとともに、放熱性部材との接触面積が減少することによって放熱性能が低下するといった問題が生じる。
【0008】
従って本発明の目的は、小型・軽量化を可能とするフェライト磁心、並びにそれを用いたコイル部品及び電子部品を提供することにある。
【課題を解決するための手段】
【0009】
すなわち、本発明のフェライト磁心は、柱状の中脚部と、前記中脚部の軸方向と直交する方向に、前記中脚部を中心として両側に離間して配置された第1外脚部及び第2外脚部と、前記中脚部と前記第1外脚部とをそれらの基部で連結する第1連結部と、前記中脚部と前記第2外脚部とをそれらの基部で連結する第2連結部とを有するフェライト磁心であって、
前記中脚部の軸方向をz軸方向、z軸と直交する前記第1外脚部及び第2外脚部どうしの対向方向をy軸方向、y軸及びz軸と直交する方向をx軸方向とし、前記各脚部の基部を下側にして前記フェライト磁心をz軸方向上側から見たとき、
前記第1外脚部のx軸方向の幅w1が前記第2外脚部のx軸方向の幅w2よりも大きく、
前記第1外脚部の、前記中脚部の中心を通るy軸方向の直線に沿った幅d1が、前記第2外脚部の、前記中脚部の中心を通るy軸方向の直線に沿った幅d2よりも小さく、
前記中脚部のx軸方向の両側面に、z軸方向に連続するくびれを備えているフェライト磁心である。
【0010】
前記中脚部は円柱状であるのが好ましい。
(【0011】以降は省略されています)
この特許をJ-PlatPat(特許庁公式サイト)で参照する
関連特許
東ソー株式会社
絶縁電線
1か月前
APB株式会社
蓄電セル
1か月前
マクセル株式会社
電源装置
27日前
ローム株式会社
半導体装置
1か月前
株式会社東芝
端子台
27日前
三菱電機株式会社
回路遮断器
14日前
株式会社GSユアサ
蓄電装置
20日前
株式会社GSユアサ
蓄電装置
28日前
株式会社GSユアサ
蓄電装置
28日前
富士電機株式会社
電磁接触器
6日前
株式会社GSユアサ
蓄電装置
6日前
北道電設株式会社
配電具カバー
1か月前
日本特殊陶業株式会社
保持装置
1か月前
ホシデン株式会社
複合コネクタ
今日
トヨタ自動車株式会社
バッテリ
1か月前
日新イオン機器株式会社
基板処理装置
1か月前
トヨタ自動車株式会社
冷却構造
1か月前
日本特殊陶業株式会社
保持装置
19日前
トヨタ自動車株式会社
蓄電装置
28日前
ヒロセ電機株式会社
電気コネクタ
6日前
矢崎総業株式会社
コネクタ
6日前
ローム株式会社
半導体モジュール
7日前
ローム株式会社
半導体装置
1か月前
株式会社レゾナック
冷却器
14日前
株式会社デンソー
電子装置
1か月前
甲神電機株式会社
変流器及び零相変流器
21日前
トヨタ自動車株式会社
電池パック
1か月前
住友電装株式会社
コネクタ
6日前
住友電装株式会社
コネクタ
1か月前
日亜化学工業株式会社
半導体レーザ素子
1か月前
トヨタ自動車株式会社
電池パック
1か月前
トヨタ自動車株式会社
密閉型電池
29日前
日本無線株式会社
レーダアンテナ
21日前
株式会社デンソー
熱交換部材
21日前
株式会社デンソー
半導体装置
6日前
マクセル株式会社
扁平形電池
1か月前
続きを見る
他の特許を見る