TOP
|
特許
|
意匠
|
商標
特許ウォッチ
Twitter
他の特許を見る
10個以上の画像は省略されています。
公開番号
2025173225
公報種別
公開特許公報(A)
公開日
2025-11-27
出願番号
2024078709
出願日
2024-05-14
発明の名称
コモンモードフィルタ
出願人
TDK株式会社
代理人
個人
,
個人
主分類
H01F
17/00 20060101AFI20251119BHJP(基本的電気素子)
要約
【課題】コイルパターンに囲まれた内径領域に磁性体が配置された構造を有するコモンモードフィルタにおいて、より高いコモンモード減衰特性と、より低いディファレンシャル挿入損失特性を実現する
【解決手段】コモンモードフィルタ1は、コイルパターン110,210と、内径領域Aに配置された磁性体3とを備える。内径領域Aは、短辺方向であるY方向に延在する仮想線Lyから見てそれぞれ+X方向側及び-X方向側に位置する領域A1,A2を含む。コイルパターン110,210は、仮想線Lyから見てそれぞれ+X方向側及び-X方向側に位置する区間111,211と、区間112,212とを有する。区間111,211を構成するコイル導体は、区間112,212を構成するコイル導体の本数よりも1本多い。磁性体3は、領域A2側にオフセットして配置されている。
【選択図】図2
特許請求の範囲
【請求項1】
スパイラル状に複数ターンに亘って周回する第1のコイルパターンと、
絶縁層を介して前記第1のコイルパターンに積層され、スパイラル状に複数ターンに亘って周回する第2のコイルパターンと、
積層方向から見た平面視で、前記第1及び第2のコイルパターンに囲まれた内径領域に配置された磁性体と、
を備え、
前記内径領域は、第1の方向におけるサイズが前記第1の方向と直交する第2の方向におけるサイズよりも大きい形状を有し、
前記内径領域は、前記内径領域の中心を通り前記第2の方向に延在する仮想線から見て前記第1の方向における一方側に位置する第1の領域と、前記仮想線から見て前記第1の方向における他方側に位置する第2の領域とを含み、
前記第1のコイルパターンは、前記仮想線から見て前記第1の方向における前記一方側に位置する第1の区間と、前記仮想線から見て前記第1の方向における前記他方側に位置する第2の区間とを含み、
前記第2のコイルパターンは、前記仮想線から見て前記第1の方向における前記一方側に位置する第3の区間と、前記仮想線から見て前記第1の方向における前記他方側に位置する第4の区間とを含み、
前記第1の区間を構成するコイル導体は、少なくとも一部の周方向位置において、前記第2の区間を構成するコイル導体の少なくとも一部の周方向位置における本数よりも1本多く、
前記第3の区間を構成するコイル導体は、少なくとも一部の周方向位置において、前記第4の区間を構成するコイル導体の少なくとも一部の周方向位置における本数よりも1本多く、
前記磁性体は、前記第2の領域側にオフセットして配置されている、
コモンモードフィルタ。
続きを表示(約 290 文字)
【請求項2】
前記第1及び第2のコイルパターンの内周端は、いずれも前記第1の領域に位置する、
請求項1に記載のコモンモードフィルタ。
【請求項3】
前記積層方向から見た平面視における前記磁性体の外周エッジは、前記第2の領域に位置し、前記第1及び第2のコイルパターンの最内周ターンに沿った凸状エッジと、前記第2のコイルパターンの前記内周端を避けるように切り欠かれた凹状エッジとを含む、
請求項2に記載のコモンモードフィルタ。
【請求項4】
前記凹状エッジは、前記仮想線と交差する、
請求項3に記載のコモンモードフィルタ。
発明の詳細な説明
【技術分野】
【0001】
本開示はコモンモードフィルタに関し、特に、絶縁層を介して積層された複数のコイルパターンを有するコモンモードフィルタに関する。
続きを表示(約 1,900 文字)
【背景技術】
【0002】
特許文献1には、絶縁層を介して積層された2つのコイルパターンを有するチップ型のコモンモードフィルタが開示されている。特許文献1に記載されたコモンモードフィルタは、積層方向から見た平面視で、コイルパターンに囲まれた内径領域に磁性体が配置されている。
【先行技術文献】
【特許文献】
【0003】
特許第4683071号公報
【発明の概要】
【発明が解決しようとする課題】
【0004】
この種のコモンモードフィルタにおいては、限られた平面サイズで、より高いコモンモード減衰特性と、より低いディファレンシャル挿入損失特性が求められる。
【0005】
本開示においては、コイルパターンに囲まれた内径領域に磁性体が配置された構造を有するコモンモードフィルタにおいて、より高いコモンモード減衰特性と、より低いディファレンシャル挿入損失特性を実現する技術が説明される。
【課題を解決するための手段】
【0006】
本開示の一側面によるコモンモードフィルタは、スパイラル状に複数ターンに亘って周回する第1のコイルパターンと、絶縁層を介して第1のコイルパターンに積層され、スパイラル状に複数ターンに亘って周回する第2のコイルパターンと、積層方向から見た平面視で、第1及び第2のコイルパターンに囲まれた内径領域に配置された磁性体と、を備え、内径領域は、第1の方向におけるサイズが第1の方向と直交する第2の方向におけるサイズよりも大きい形状を有し、内径領域は、内径領域の中心を通り第2の方向に延在する仮想線から見て第1の方向における一方側に位置する第1の領域と、仮想線から見て第1の方向における他方側に位置する第2の領域とを含み、第1のコイルパターンは、仮想線から見て第1の方向における一方側に位置する第1の区間と、仮想線から見て第1の方向における他方側に位置する第2の区間とを含み、第2のコイルパターンは、仮想線から見て第1の方向における一方側に位置する第3の区間と、仮想線から見て第1の方向における他方側に位置する第4の区間とを含み、第1の区間を構成するコイル導体は、少なくとも一部の周方向位置において、第2の区間を構成するコイル導体の少なくとも一部の周方向位置における本数よりも1本多く、第3の区間を構成するコイル導体は、少なくとも一部の周方向位置において、第4の区間を構成するコイル導体の少なくとも一部の周方向位置における本数よりも1本多く、磁性体は、第2の領域側にオフセットして配置されている。
【発明の効果】
【0007】
本開示によれば、コイルパターンに囲まれた内径領域に磁性体が配置された構造を有するコモンモードフィルタにおいて、より高いコモンモード減衰特性と、より低いディファレンシャル挿入損失特性を実現する技術が提供される。
【図面の簡単な説明】
【0008】
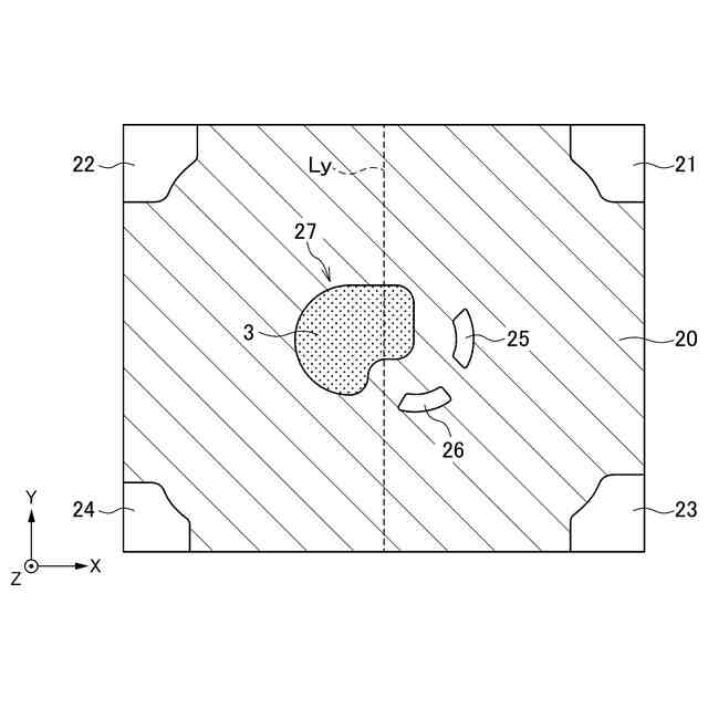
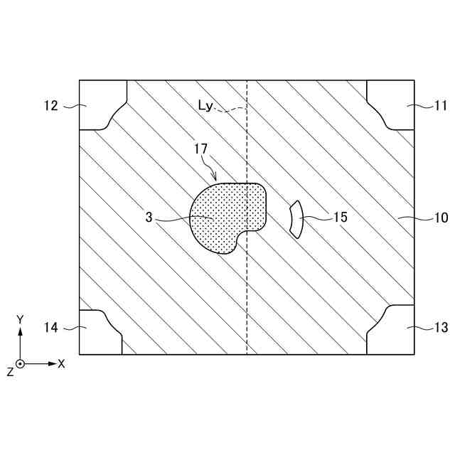
図1は、本開示に係る技術の一実施形態によるコモンモードフィルタ1の外観を示す略斜視図である。
図2は、導体層100のパターン形状を説明するための略平面図である。
図3は、絶縁層10の略平面図である。
図4は、導体層200のパターン形状を説明するための略平面図である。
図5は、絶縁層20の略平面図である。
図6は、導体層300のパターン形状を説明するための略平面図である。
図7は、絶縁層30の略平面図である。
図8は、コモンモードフィルタ1の等価回路図である。
図9は、変形例による導体層100Aのパターン形状を説明するための略平面図である。
図10は、変形例による絶縁層10Aの略平面図である。
図11は、変形例による導体層200Aのパターン形状を説明するための略平面図である。
図12は、変形例による絶縁層20Aの略平面図である。
図13は、変形例による導体層300Aのパターン形状を説明するための略平面図である。
図14は、変形例による絶縁層30Aの略平面図である。
【発明を実施するための形態】
【0009】
以下、添付図面を参照しながら、本開示に係る技術の実施形態について詳細に説明する。
【0010】
図1は、本開示に係る技術の一実施形態によるコモンモードフィルタ1の外観を示す略斜視図である。
(【0011】以降は省略されています)
この特許をJ-PlatPat(特許庁公式サイト)で参照する
関連特許
TDK株式会社
電子部品
8日前
TDK株式会社
電子部品
1か月前
TDK株式会社
電子部品
1か月前
TDK株式会社
熱処理容器
1か月前
TDK株式会社
電力変換装置
8日前
TDK株式会社
アンテナモジュール
29日前
TDK株式会社
コモンモードフィルタ
1日前
TDK株式会社
配線体、及び表示装置
1か月前
TDK株式会社
磁気センサおよびその製造方法
8日前
TDK株式会社
入力装置及び入力装置の制御方法
1か月前
TDK株式会社
電子部品及び電子部品の製造方法
1か月前
TDK株式会社
入力装置及び入力装置の制御方法
14日前
TDK株式会社
物理レザバー素子及び物理レザバー
1か月前
TDK株式会社
非可逆回路素子及び量子コンピュータ
1か月前
TDK株式会社
軟磁性粉末、磁性体コア、および磁性部品
21日前
TDK株式会社
磁性シート及びこれを備えるコイルモジュール
21日前
TDK株式会社
固体電解コンデンサ及び固体電解コンデンサの製造方法
1か月前
TDK株式会社
軟磁性合金粒子、軟磁性粉末、圧粉磁芯および電子部品
21日前
TDK株式会社
コイル部品
14日前
TDK株式会社
振動デバイス
1か月前
TDK株式会社
MEMSデバイス
1か月前
TDK株式会社
磁気センサ、磁場検出装置、位置検出装置、レンズモジュール、および撮像装置
1か月前
TDK株式会社
物理レザバー素子及び物理レザバー
1か月前
TDK株式会社
磁気センサ、磁場検出装置、位置検出装置、レンズモジュール、撮像装置、および磁気センサの製造方法
1か月前
TDK株式会社
光合波器、光合波部材、光変調機能付き光合波部材、可視光光源モジュール、光学エンジン及びXRグラス
1か月前
TDK株式会社
光変調器、光源モジュール、光学エンジン、XRグラス、光通信用送信装置で、光通信システム、光変調器の制御方法
1か月前
TDK株式会社
光変調器、光源モジュール、光学エンジン、画像表示装置、XRグラス、光通信用送信装置、光通信システム、光変調器の制御方法
1か月前
株式会社プロテリアル
フェライト磁心、並びにそれを用いたコイル部品及び電子部品
1か月前
APB株式会社
蓄電セル
1か月前
東ソー株式会社
絶縁電線
1か月前
個人
フレキシブル電気化学素子
1か月前
日新イオン機器株式会社
イオン源
1か月前
ローム株式会社
半導体装置
1か月前
株式会社ユーシン
操作装置
1か月前
マクセル株式会社
電源装置
29日前
株式会社東芝
端子台
29日前
続きを見る
他の特許を見る