TOP
|
特許
|
意匠
|
商標
特許ウォッチ
Twitter
他の特許を見る
公開番号
2025156598
公報種別
公開特許公報(A)
公開日
2025-10-14
出願番号
2025134406,2022004949
出願日
2025-08-12,2022-01-17
発明の名称
振動デバイス
出願人
TDK株式会社
代理人
個人
,
個人
,
個人
主分類
H04R
17/00 20060101AFI20251002BHJP(電気通信技術)
要約
【課題】音響特性の向上が図られる振動デバイスを提供する。
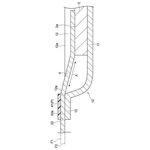
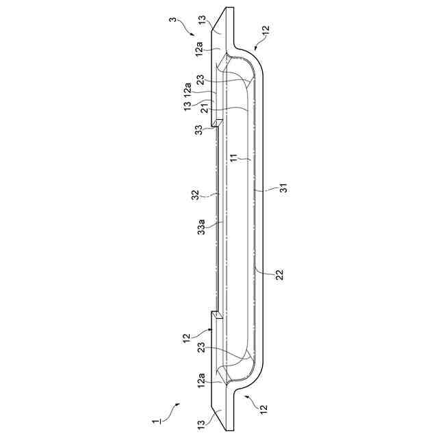
【解決手段】振動デバイス1は、圧電素子5を含む圧電部2と、圧電部2を保持する筐体3と、圧電部2に電気的に接続された配線部材4と、筐体3を外部装置に接合する接合部材Pと、を備え、筐体3は、圧電部2が固定された底面部11と、底面部11の縁部に立設された側面部12と、を有し、側面部12は、当該側面部12の頂部12aに形成された第1面F1と、頂部12aに形成された切欠部33によって第1面F1から一段下がった第2面F2とを有し、接合部材Pは、切欠部33に掛け渡されるように第1面F1に沿って延在し、配線部材4は、第1面F1の位置で接合部材Pに接合され、且つ第2面F2とは非接合の状態で切欠部33に通されている。
【選択図】図4
特許請求の範囲
【請求項1】
圧電素子を含む圧電部と、
前記圧電部を保持する筐体と、
前記圧電部に電気的に接続された配線部材と、
前記筐体を外部装置に接合する接合部材と、を備え、
前記筐体は、前記圧電部が固定された底面部と、前記底面部の縁部に立設された側面部と、を有し、
前記側面部は、当該側面部の頂部に形成された第1面と、前記頂部に形成された切欠部によって前記第1面から一段下がった第2面とを有し、
前記接合部材は、前記切欠部に掛け渡されるように前記第1面に沿って延在し、
前記配線部材は、前記第1面の位置で前記接合部材に接合され、且つ前記第2面とは非接合の状態で前記切欠部に通されている振動デバイス。
続きを表示(約 310 文字)
【請求項2】
前記接合部材は、前記第2面の少なくとも一部に接合されている請求項1記載の振動デバイス。
【請求項3】
前記配線部材と前記接合部材との接合面積は、前記第2面と前記接合部材の接合面積よりも大きくなっている請求項2記載の振動デバイス。
【請求項4】
前記配線部材には、前記圧電部と前記切欠部との間で当該配線部材の延在方向に張力が付与されている請求項1~3のいずれか一項記載の振動デバイス。
【請求項5】
前記側面部は、前記底面部と滑らかに連続し、且つ前記底面部に対して前記縁部の外方に開くように傾斜している請求項1~4のいずれか一項記載の振動デバイス。
発明の詳細な説明
【技術分野】
【0001】
本開示は、振動デバイスに関する。
続きを表示(約 1,600 文字)
【背景技術】
【0002】
従来の振動デバイスとして、例えば特許文献1に記載の音響発生器がある。この従来の音響発生器は、表面電極を有する圧電素子と、圧電素子が取り付けられた振動体と、振動体を支持する枠体と、一端部が表面電極に接続されると共に他端部が枠体に固定された配線部材とを備えている。配線部材の他端部の幅は、他の部位の幅よりも広くなっている。
【先行技術文献】
【特許文献】
【0003】
特開2017-017426号公報
【発明の概要】
【発明が解決しようとする課題】
【0004】
上述のような振動デバイスは、筐体の振動において所望の音響特性を得ることが特徴となっている。所望の音響特性を得るためには、振動デバイスを外部装置に取り付けた際の筐体内の空室特性の安定化が重要となっている。筐体内には、圧電素子に電気的に接続された配線部材が存在するため、配線部材が振動デバイスを外部装置に取り付けた際の空室設計精度に影響を及ぼさないような工夫が必要になると考えられる。
【0005】
本開示は、上記課題の解決のためになされたものであり、音響特性の向上が図られる振動デバイスを提供することを目的とする。
【課題を解決するための手段】
【0006】
本開示の一側面に係る振動デバイスは、圧電素子を含む圧電部と、圧電部を保持する筐体と、圧電部に電気的に接続された配線部材と、筐体を外部装置に接合する接合部材と、を備え、筐体は、圧電部が固定された底面部と、底面部の縁部に立設された側面部と、を有し、側面部は、当該側面部の頂部に形成された第1面と、頂部に形成された切欠部によって第1面から一段下がった第2面とを有し、接合部材は、切欠部に掛け渡されるように第1面に沿って延在し、配線部材は、第1面の位置で接合部材に接合され、且つ第2面とは非接合の状態で切欠部に通されている。
【0007】
この振動デバイスでは、側面部の頂部の第1面に、筐体を外部装置に接合する接合部材が配置されている。このため、外部装置への振動デバイスの取付状態を安定させることができる。また、この振動デバイスでは、配線部材が側面部の頂部に設けられた切欠部に通され、第1面の位置で切欠部に掛け渡された接合部材に接合される一方で、第1面から一段下がった第2面に対して非接合となっている。配線部材が第1面で接合部材に接合されることで、圧電部の周囲での配線部材のふらつきを防止でき、空室設計精度への影響を回避できる。また、配線部材が第2面と非接合であることで、切欠部などに寸法誤差が生じたとしても第1面における接合部材の平坦性が保たれ、振動デバイスの取付状態の安定性が維持される。したがって、この振動デバイスでは、圧電部の周囲の空室特性を容易に確保でき、音響特性の向上が図られる。
【0008】
接合部材は、第2面の少なくとも一部に接合されていてもよい。この場合、配線部材が第1面及び第2面の双方に接合されることで、圧電部の周囲での配線部材のふらつきを一層確実に防止できる。
【0009】
配線部材と接合部材との接合面積は、第2面と接合部材の接合面積よりも大きくなっていてもよい。この場合、第2面と接合部材が過度に接合されることを回避でき、第1面における接合部材の平坦性を維持できる。
【0010】
配線部材には、圧電部と切欠部との間で当該配線部材の延在方向に張力が付与されていてもよい。これにより、筐体に振動が加わった場合であっても、配線部材が筐体と干渉することによる衝突音の発生を抑制できる。したがって、振動による空室特性への影響を回避できる。
(【0011】以降は省略されています)
この特許をJ-PlatPat(特許庁公式サイト)で参照する
関連特許
TDK株式会社
アンテナモジュール
17日前
TDK株式会社
入力装置及び入力装置の制御方法
2日前
TDK株式会社
軟磁性粉末、磁性体コア、および磁性部品
9日前
TDK株式会社
磁性シート及びこれを備えるコイルモジュール
9日前
TDK株式会社
軟磁性合金粒子、軟磁性粉末、圧粉磁芯および電子部品
9日前
TDK株式会社
コイル部品
2日前
個人
イヤーピース
9日前
個人
イヤーマフ
23日前
個人
監視カメラシステム
1か月前
キーコム株式会社
光伝送線路
1か月前
個人
スイッチシステム
17日前
個人
スキャン式車載用撮像装置
1か月前
サクサ株式会社
中継装置
1か月前
サクサ株式会社
中継装置
1か月前
WHISMR合同会社
収音装置
2か月前
キヤノン株式会社
撮像装置
2か月前
アイホン株式会社
電気機器
2か月前
株式会社リコー
画像形成装置
2か月前
株式会社リコー
画像形成装置
2か月前
ヤマハ株式会社
放音制御装置
17日前
サクサ株式会社
無線通信装置
1か月前
サクサ株式会社
無線通信装置
1か月前
個人
映像表示装置、及びARグラス
18日前
キヤノン電子株式会社
画像読取装置
2か月前
キヤノン電子株式会社
画像読取装置
1か月前
株式会社リコー
画像形成装置
25日前
サクサ株式会社
無線システム
1か月前
個人
ワイヤレスイヤホン対応耳掛け
1か月前
キヤノン電子株式会社
画像読取装置
9日前
キヤノン電子株式会社
画像読取装置
17日前
キヤノン株式会社
画像処理装置
12日前
個人
発信機及び発信方法
1か月前
キヤノン電子株式会社
シート搬送装置
9日前
キヤノン株式会社
撮像システム
2か月前
日本電気株式会社
海底分岐装置
1か月前
キヤノン電子株式会社
画像処理システム
1か月前
続きを見る
他の特許を見る