TOP
|
特許
|
意匠
|
商標
特許ウォッチ
Twitter
他の特許を見る
公開番号
2025145164
公報種別
公開特許公報(A)
公開日
2025-10-03
出願番号
2024045203
出願日
2024-03-21
発明の名称
コイル部品
出願人
TDK株式会社
代理人
個人
,
個人
,
個人
主分類
H01F
27/29 20060101AFI20250926BHJP(基本的電気素子)
要約
【課題】外部電極の剥離、浮遊容量及びはんだ食われを抑制可能なコイル部品を提供する。
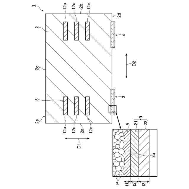
【解決手段】コイル部品1は、軟磁性金属粒子Pを含む素体2と、素体2内に配置されたコイル5と、コイル5に接続された外部電極3,4と、を備える。外部電極3,4は、少なくとも一部が素体2に埋設されためっき導体8と、めっき導体8を覆うめっき層9と、を有する。めっき層9は、めっき導体8よりも厚い。
【選択図】図4
特許請求の範囲
【請求項1】
軟磁性金属粒子を含む素体と、
前記素体内に配置されたコイルと、
前記コイルに接続された外部電極と、を備え、
前記外部電極は、少なくとも一部が前記素体に埋設されためっき導体と、前記めっき導体を覆うめっき層と、を有し、
前記めっき層は、前記めっき導体よりも厚い、
コイル部品。
続きを表示(約 420 文字)
【請求項2】
前記めっき層は、複数のめっき単層が積層された積層構造を有し、
前記複数のめっき単層のそれぞれは、前記めっき導体よりも厚い、
請求項1に記載のコイル部品。
【請求項3】
前記めっき層は、前記複数のめっき単層として、Ni層と、前記Ni層上に配置されたSn層と、を有し、
前記Sn層は、前記Ni層よりも厚い、
請求項2に記載のコイル部品。
【請求項4】
前記めっき導体の全体が前記素体に埋設されている、
請求項1~3のいずれか一項に記載のコイル部品。
【請求項5】
前記素体は、実装面を有し、
前記外部電極は、前記実装面のみに設けられている、
請求項1~3のいずれか一項に記載のコイル部品。
【請求項6】
前記めっき層は、前記素体の外側に設けられている、
請求項1~3のいずれか一項に記載のコイル部品。
発明の詳細な説明
【技術分野】
【0001】
本開示は、コイル部品に関する。
続きを表示(約 1,300 文字)
【背景技術】
【0002】
素体と、素体内に配置されたコイルと、コイルに接続された外部電極と、を備えるコイル部品が知られている(たとえば、特許文献1参照)。特許文献1には、受動部品の外部電極がランドパターンにはんだで接合されることにより、受動部品が回路基板に実装されることが記載されている。
【先行技術文献】
【特許文献】
【0003】
特開2020-141079号公報
【発明の概要】
【発明が解決しようとする課題】
【0004】
外部電極が素体から剥離することを抑制するために、外部電極を素体に埋め込む構成が考えられる。しかしながら、この構成では外部電極とコイルとの間の距離が短くなるので、浮遊容量が増えるおそれがある。また、外部電極を薄くすると、はんだ食われが生じるおそれがある。
【0005】
本開示は、外部電極の剥離、浮遊容量及びはんだ食われを抑制可能なコイル部品を提供することを目的とする。
【課題を解決するための手段】
【0006】
(1)本開示の一態様に係るコイル部品は、軟磁性金属粒子を含む素体と、前記素体内に配置されたコイルと、前記コイルに接続された外部電極と、を備え、前記外部電極は、少なくとも一部が前記素体に埋設されためっき導体と、前記めっき導体を覆うめっき層と、を有し、前記めっき層は、前記めっき導体よりも厚い。
【0007】
上記コイル部品では、めっき導体の少なくとも一部が軟磁性金属粒子を含む素体に埋設されているので、外部電極と素体との接触面積が増える。これにより、外部電極が素体から剥離することを抑制できる。また、外部電極はめっき導体に加えて、めっき導体よりも厚いめっき層を有している。これにより、めっき導体の厚さを薄くすることができるので、めっき導体とコイルとの間の距離を長くすることができる。よって、浮遊容量を抑制することができる。さらに、厚いめっき層によれば、コイル部品をはんだ実装する際のはんだ食われを抑制できる。
【0008】
(2)上記(1)のコイル部品において、前記めっき層は、複数のめっき単層が積層された積層構造を有し、前記複数のめっき単層のそれぞれは、前記めっき導体よりも厚くてもよい。この場合、外部電極の剥離、浮遊容量及びはんだ食われをさらに抑制可能である。
【0009】
(3)上記(2)のコイル部品において、前記めっき層は、前記複数のめっき単層として、Ni層と、前記Ni層上に配置されたSn層と、を有し、前記Sn層は、前記Ni層よりも厚くてもよい。この場合、耐熱性を有するNi層が厚く設けられていることにより、はんだ食われを効果的に抑制することができる。また、はんだとの接合性が高いSn層がNi層よりもさらに厚く設けられていることにより、実装強度を確実に向上させることができる。
【0010】
(4)上記(1)~(3)のいずれか一つのコイル部品において、めっき導体の全体が前記素体に埋設されていてもよい。この場合、外部電極の剥離をさらに抑制可能である。
(【0011】以降は省略されています)
この特許をJ-PlatPat(特許庁公式サイト)で参照する
関連特許
TDK株式会社
熱処理容器
18日前
TDK株式会社
アンテナモジュール
9日前
TDK株式会社
入力装置及び入力装置の制御方法
15日前
TDK株式会社
物理レザバー素子及び物理レザバー
11日前
TDK株式会社
非可逆回路素子及び量子コンピュータ
15日前
TDK株式会社
軟磁性粉末、磁性体コア、および磁性部品
1日前
TDK株式会社
磁性シート及びこれを備えるコイルモジュール
1日前
TDK株式会社
軟磁性合金粒子、軟磁性粉末、圧粉磁芯および電子部品
1日前
TDK株式会社
固体電解コンデンサ及び固体電解コンデンサの製造方法
10日前
TDK株式会社
振動デバイス
25日前
TDK株式会社
MEMSデバイス
22日前
TDK株式会社
磁気センサ、磁場検出装置、位置検出装置、レンズモジュール、および撮像装置
15日前
TDK株式会社
物理レザバー素子及び物理レザバー
11日前
TDK株式会社
磁気センサ、磁場検出装置、位置検出装置、レンズモジュール、撮像装置、および磁気センサの製造方法
15日前
TDK株式会社
光合波器、光合波部材、光変調機能付き光合波部材、可視光光源モジュール、光学エンジン及びXRグラス
15日前
TDK株式会社
光変調器、光源モジュール、光学エンジン、XRグラス、光通信用送信装置で、光通信システム、光変調器の制御方法
15日前
TDK株式会社
光変調器、光源モジュール、光学エンジン、画像表示装置、XRグラス、光通信用送信装置、光通信システム、光変調器の制御方法
15日前
株式会社プロテリアル
フェライト磁心、並びにそれを用いたコイル部品及び電子部品
11日前
東ソー株式会社
絶縁電線
17日前
APB株式会社
蓄電セル
15日前
個人
フレキシブル電気化学素子
29日前
マクセル株式会社
電源装置
9日前
日新イオン機器株式会社
イオン源
25日前
ローム株式会社
半導体装置
1か月前
株式会社ユーシン
操作装置
29日前
ローム株式会社
半導体装置
16日前
株式会社東芝
端子台
9日前
太陽誘電株式会社
コイル部品
29日前
株式会社GSユアサ
蓄電装置
10日前
株式会社ホロン
冷陰極電子源
23日前
株式会社GSユアサ
蓄電装置
10日前
株式会社GSユアサ
蓄電設備
29日前
株式会社GSユアサ
蓄電設備
29日前
オムロン株式会社
電磁継電器
1か月前
株式会社GSユアサ
蓄電装置
2日前
日本特殊陶業株式会社
保持装置
18日前
続きを見る
他の特許を見る