TOP
|
特許
|
意匠
|
商標
特許ウォッチ
Twitter
他の特許を見る
公開番号
2025154705
公報種別
公開特許公報(A)
公開日
2025-10-10
出願番号
2024057851
出願日
2024-03-29
発明の名称
電子部品
出願人
TDK株式会社
代理人
個人
,
個人
,
個人
主分類
H01F
27/00 20060101AFI20251002BHJP(基本的電気素子)
要約
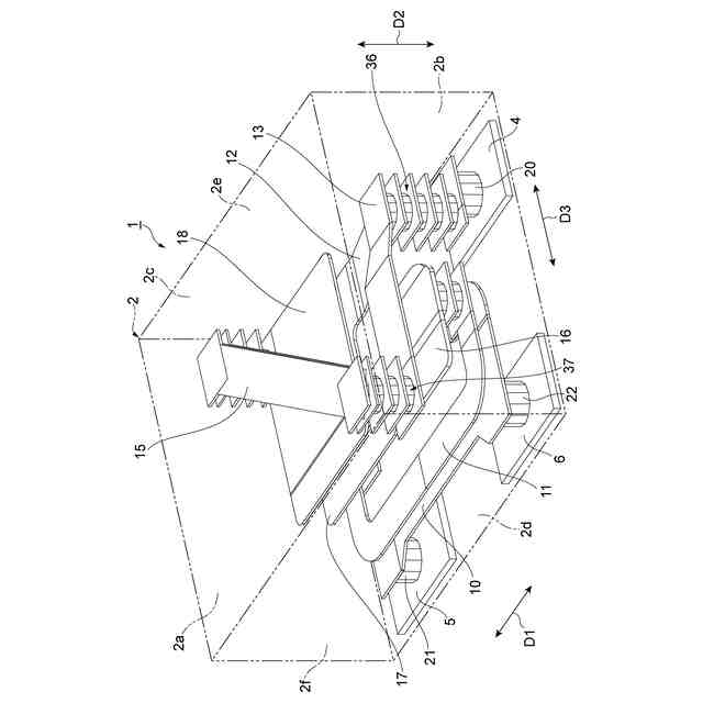
【課題】小型化を図りつつ、特性の向上が図れる電子部品を提供する。
【解決手段】電子部品1は、複数の絶縁体層8が積層されて形成されている素体2と、素体2内に配置されているインダクタ導体及びキャパシタ導体と、を備え、インダクタ導体は、第一導体36と、第二導体37と、第三導体38と、第一導体36と第二導体37とを接続しているインダクタ導体13と、第二導体37と第三導体38とを接続しているインダクタ導体14と、を含んでおり、キャパシタ導体は、キャパシタ導体16を含んでおり、インダクタ導体13とキャパシタ導体16との少なくとも一部は、複数の絶縁体層8の積層方向において対向している。
【選択図】図1
特許請求の範囲
【請求項1】
複数の絶縁体層が積層されて形成されている素体と、
前記素体内に配置されているインダクタ導体及びキャパシタ導体と、を備え、
前記インダクタ導体は、第一導体と、第二導体と、第三導体と、前記第一導体と前記第二導体とを接続している第一接続導体と、前記第二導体と前記第三導体とを接続している第二接続導体と、を含んでおり、
前記キャパシタ導体は、第一キャパシタ導体を含んでおり、
前記第一接続導体と前記第一キャパシタ導体との少なくとも一部は、複数の前記絶縁体層の積層方向において対向している、電子部品。
続きを表示(約 590 文字)
【請求項2】
前記第一接続導体と前記第二接続導体とは、前記積層方向において異なる位置に配置されている、請求項1に記載の電子部品。
【請求項3】
前記第一接続導体は、前記第二接続導体よりも前記第一キャパシタ導体と近い位置に配置されている、請求項1又は2に記載の電子部品。
【請求項4】
前記第二接続導体の長さは、前記第一接続導体の長さよりも長い、請求項1又は2に記載の電子部品。
【請求項5】
前記積層方向から見て、前記第一接続導体の幅と前記第二接続導体の幅とが異なっている、請求項1又は2に記載の電子部品。
【請求項6】
前記キャパシタ導体は、第二キャパシタ導体を含んでいる、請求項1又は2に記載の電子部品。
【請求項7】
前記第一接続導体と前記第二キャパシタ導体とは、前記積層方向において異なる位置に配置されている、請求項6に記載の電子部品。
【請求項8】
前記第二接続導体と前記第二キャパシタ導体との少なくとも一部は、前記積層方向において対向している、請求項6に記載の電子部品。
【請求項9】
前記積層方向から見て、前記第二キャパシタ導体の幅と、前記第一接続導体及び前記第二接続導体のそれぞれの幅とが異なる部分を有する、請求項6に記載の電子部品。
発明の詳細な説明
【技術分野】
【0001】
本発明は、電子部品に関する。
続きを表示(約 1,500 文字)
【背景技術】
【0002】
電子部品は、複数の絶縁体層が積層されて形成されている素体と、素体内に配置されている共振器と、を備えている(たとえば、特許文献参照)。共振器は、インダクタ導体及びキャパシタ導体を含んで構成されている。
【先行技術文献】
【特許文献】
【0003】
国際公開第2016/157928号
【発明の概要】
【発明が解決しようとする課題】
【0004】
本発明の一側面は、小型化を図りつつ、特性の向上が図れる電子部品を提供することを目的とする。
【課題を解決するための手段】
【0005】
(1)本発明の一側面に係る電子部品は、複数の絶縁体層が積層されて形成されている素体と、素体内に配置されているインダクタ導体及びキャパシタ導体と、を備え、インダクタ導体は、第一導体と、第二導体と、第三導体と、第一導体と第二導体とを接続している第一接続導体と、第二導体と第三導体とを接続している第二接続導体と、を含んでおり、キャパシタ導体は、第一キャパシタ導体を含んでおり、第一接続導体と第一キャパシタ導体との少なくとも一部は、複数の絶縁体層の積層方向において対向している。
【0006】
本発明の一側面に係る電子部品では、第一接続導体と第一キャパシタ導体との少なくとも一部は、複数の絶縁体層の積層方向において対向している。これにより、電子部品では、第一接続導体と第一キャパシタ導体とによって、キャパシタを構成できる。このように、電子部品では、インダクタを構成する第一接続導体によってキャパシタを構成しており、第一接続導体がインダクタの構成とキャパシタの構成とを兼ねている。そのため、電子部品では、キャパシタを構成するための導体(部材)の点数の削減が図れる。したがって、電子部品では、小型化を図ることができる。また、電子部品では、第一導体、第二導体、第三導体、第一接続導体及び第二接続導体によって、インダクタンスを確保できる。これにより、電子部品では、特性の向上が図れる。
【0007】
(2)上記(1)の電子部品において、第一接続導体と第二接続導体とは、積層方向において異なる位置に配置されていてもよい。この構成では、第一導体、第二導体及び第三導体の配置の自由度を高めることができる。これにより、電子部品では、第一導体、第二導体及び第三導体によって構成されるインダクタのインダクタンスの調整をすることができる。また、電子部品では、素体内において、第一導体、第二導体及び第三導体を効率的に配置することが可能となる。
【0008】
(3)上記(1)又は(2)の電子部品において、第一接続導体は、第二接続導体よりも第一キャパシタ導体と近い位置に配置されていてもよい。この構成では、第一接続導体と第一キャパシタ導体とによってキャパシタを構成することができる。
【0009】
(4)上記(1)~(3)のいずれか一つの電子部品において、第二接続導体の長さは、第一接続導体の長さよりも長くてもよい。このように、第二接続導体の長さを長くすることによって、インダクタンスを確保することができる。
【0010】
(5)上記(1)~(4)のいずれか一つの電子部品において、積層方向から見て、第一接続導体の幅と第二接続導体の幅とが異なっていてもよい。この構成では、インダクタンス及びキャパシタンスの調整を行うことができる。
(【0011】以降は省略されています)
この特許をJ-PlatPat(特許庁公式サイト)で参照する
関連特許
東ソー株式会社
絶縁電線
19日前
APB株式会社
蓄電セル
17日前
個人
フレキシブル電気化学素子
1か月前
株式会社ユーシン
操作装置
1か月前
日新イオン機器株式会社
イオン源
27日前
ローム株式会社
半導体装置
18日前
ローム株式会社
半導体装置
1か月前
ローム株式会社
半導体装置
1か月前
株式会社東芝
端子台
11日前
マクセル株式会社
電源装置
11日前
株式会社GSユアサ
蓄電設備
1か月前
太陽誘電株式会社
全固体電池
1か月前
オムロン株式会社
電磁継電器
1か月前
株式会社GSユアサ
蓄電設備
1か月前
株式会社ホロン
冷陰極電子源
25日前
株式会社GSユアサ
蓄電装置
12日前
株式会社GSユアサ
蓄電装置
12日前
株式会社GSユアサ
蓄電装置
4日前
太陽誘電株式会社
コイル部品
1か月前
株式会社GSユアサ
蓄電装置
1か月前
トヨタ自動車株式会社
蓄電装置
1か月前
日本特殊陶業株式会社
保持装置
1か月前
TDK株式会社
電子部品
1か月前
トヨタ自動車株式会社
蓄電装置
12日前
ノリタケ株式会社
熱伝導シート
1か月前
サクサ株式会社
電池の固定構造
1か月前
トヨタ自動車株式会社
冷却構造
19日前
日本特殊陶業株式会社
保持装置
1か月前
北道電設株式会社
配電具カバー
17日前
日新イオン機器株式会社
基板処理装置
14日前
日東電工株式会社
積層体
1か月前
トヨタ自動車株式会社
バッテリ
17日前
日本特殊陶業株式会社
保持装置
20日前
トヨタ自動車株式会社
バッテリ
1か月前
日本特殊陶業株式会社
保持装置
3日前
日本特殊陶業株式会社
電極
1か月前
続きを見る
他の特許を見る