TOP
|
特許
|
意匠
|
商標
特許ウォッチ
Twitter
他の特許を見る
10個以上の画像は省略されています。
公開番号
2025146281
公報種別
公開特許公報(A)
公開日
2025-10-03
出願番号
2024046966
出願日
2024-03-22
発明の名称
積層コイル部品
出願人
TDK株式会社
代理人
個人
,
個人
,
個人
主分類
H01F
27/28 20060101AFI20250926BHJP(基本的電気素子)
要約
【課題】Q値の向上が可能な積層コイル部品を提供する。
【解決手段】積層コイル部品は、素体2と、素体2内に配置されたコイル3と、素体2の表面上に配置された外部電極41,42とを備える。コイル3は、それぞれ厚さ及び経路長を有する複数のコイル導体30を有する。外部電極41,42は、コイル3と電気的に接続されている。複数のコイル導体30は、コイル導体31,34,37及びコイル導体33,35を含む。コイル導体33,35は、コイル導体31,34,37の経路長よりも長い経路長を有し、かつ、コイル導体31,34,37の厚さよりも大きい厚さを有する。
【選択図】図2
特許請求の範囲
【請求項1】
素体と、
前記素体内に配置され、それぞれ厚さ及び経路長を有する複数のコイル導体を含むコイルと、
前記素体の表面上に配置され、前記コイルと電気的に接続された外部電極と、を備え、
前記複数のコイル導体は、
少なくとも一つの第一コイル導体と、
前記少なくとも一つの第一コイル導体の経路長よりも長い経路長を有し、かつ、前記少なくとも一つの第一コイル導体の厚さよりも大きい厚さを有する少なくとも一つの第二コイル導体と、を含む、
積層コイル部品。
続きを表示(約 630 文字)
【請求項2】
前記少なくとも一つの第二コイル導体は、前記少なくとも一つの第一コイル導体の前記厚さの1.25倍以上の前記厚さを有する、請求項1に記載の積層コイル部品。
【請求項3】
前記少なくとも一つの第二コイル導体は、複数の第二コイル導体を含み、
前記複数の第二コイル導体の数は、前記少なくとも一つの第一コイル導体の数よりも多い、請求項1に記載の積層コイル部品。
【請求項4】
前記素体内に配置され、前記コイルと前記外部電極とを互いに接続する接続導体を更に備え、
前記少なくとも一つの第二コイル導体は、前記コイルの端を含む最端の第二コイル導体を含み、
前記接続導体は、前記最端の第二コイル導体と同じ層において前記最端の第二コイル導体に連続している、請求項1~3の何れか一項に記載の積層コイル部品。
【請求項5】
前記少なくとも一つの第二コイル導体は、前記複数のコイル導体のうち最も長い経路長を有するコイル導体を含み、
前記少なくとも一つの第一コイル導体は、前記複数のコイル導体のうち最も短い経路長を有するコイル導体を含む、請求項1~3の何れか一項に記載の積層コイル部品。
【請求項6】
前記複数のコイル導体のうち互いに隣り合う一対のコイル導体の端部同士は、互いに重なり、かつ、互いに連結されている、請求項1~3の何れか一項に記載の積層コイル部品。
発明の詳細な説明
【技術分野】
【0001】
本発明は、積層コイル部品に関する。
続きを表示(約 1,700 文字)
【背景技術】
【0002】
素体と、素体内に配置されているコイルとを備える積層コイル部品が知られている(たとえば、特許文献1)。コイルは、互いに電気的に接続されている複数のコイル導体を有する。複数のコイル導体は、第一コイル導体及び第二コイル導体を含む。
【先行技術文献】
【特許文献】
【0003】
特開2018-113309号公報
【発明の概要】
【発明が解決しようとする課題】
【0004】
本発明の一つの態様は、Q値の向上が可能な積層コイル部品を提供することを目的とする。
【課題を解決するための手段】
【0005】
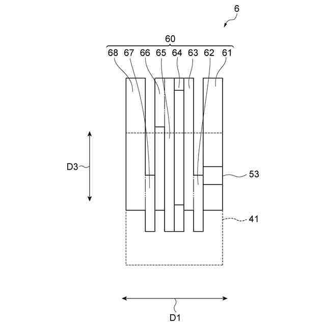
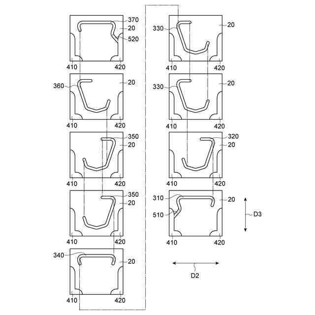
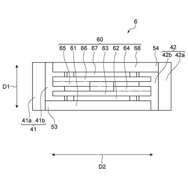
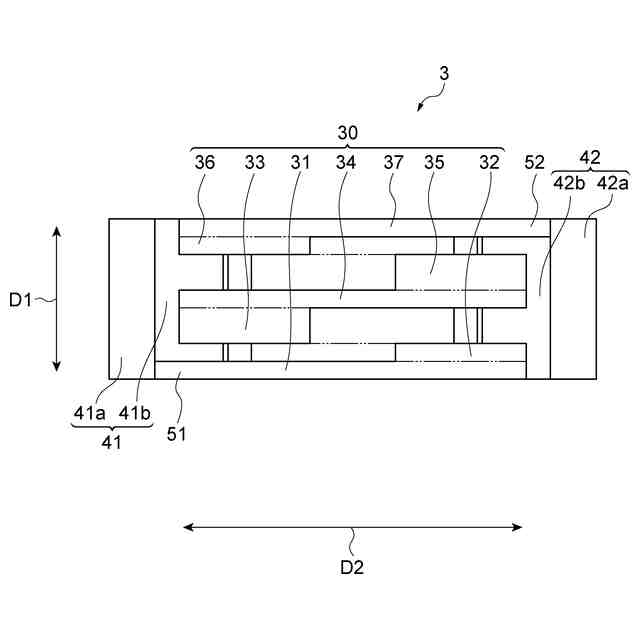
本発明の一つの態様に係る積層コイル部品は、素体と、素体内に配置されたコイルと、素体の表面上に配置された外部電極とを備える。コイルは、それぞれ厚さ及び経路長を有する複数のコイル導体を有する。外部電極は、コイルと電気的に接続されている。複数のコイル導体は、第一コイル導体及び第二コイル導体を含む。第二コイル導体は、第一コイル導体の経路長よりも長い経路長を有し、かつ、第一コイル導体の厚さよりも大きい厚さを有する。
【0006】
積層コイル部品のQ値は、電気抵抗の逆数に比例する。複数のコイル導体を有するコイルの電気抵抗は、複数のコイル導体における各コイル導体の合成抵抗に依存する。導体の電気抵抗は、導体の長さに比例し、かつ、導体の断面積に反比例するので、複数のコイル導体における各コイル導体の電気抵抗は、コイル導体の経路長の長さ及びコイル導体の厚さに応じて変化する。したがって、積層コイル部品のQ値は、コイルを構成する複数のコイル導体のそれぞれの経路長及び厚さに依存する。
【0007】
積層コイル部品は、所定の外形サイズに対して複数のインダクタンス値が求められる。インダクタンス値は、コイルのターン数に依存するので、コイルを構成する複数のコイル導体のそれぞれの経路長は一定に定まりがたい。複数のコイル導体のそれぞれの厚さが互いに等しい場合には、他のコイル導体よりも長い経路長を有するコイル導体は、他のコイル導体の電気抵抗よりも大きな電気抵抗を有する。
【0008】
上記一つの態様では、第二コイル導体は、第一コイル導体の経路長よりも長い経路長を有し、かつ、第一コイル導体の厚さよりも大きい厚さを有する。上記一つの態様での第一コイル導体と第二コイル導体との合成抵抗は、第二コイル導体が第一コイル導体の経路長よりも長い経路長を有し、かつ、第二コイル導体が第一コイル導体の厚さと同等以下の厚さを有する構成での合成抵抗よりも小さい。したがって、上記一つの態様のコイルの電気抵抗は、第二コイル導体が第一コイル導体の経路長よりも長い経路長を有し、かつ、第二コイル導体が第一コイル導体の厚さよりも小さい厚さを有する構成のコイルの電気抵抗より小さいので、上記一つの態様は、積層コイル部品のQ値の向上が可能である。
【発明の効果】
【0009】
本発明の一つの態様は、Q値の向上が可能な積層コイル部品を提供する。
【図面の簡単な説明】
【0010】
図1は、一実施形態に係る積層コイル部品の斜視図である。
図2は、本実施形態に係るコイルの斜視図である。
図3は、本実施形態に係るコイルを一側面から見た平面図である。
図4は、本実施形態に係るコイルを一主面から見た平面図である。
図5は、本実施形態に係る積層コイル部品の構成を示す分解図である。
図6は、本実施形態の変形例に係るコイルの斜視図である。
図7は、本実施形態の変形例に係るコイルを一側面から見た平面図である。
図8は、本実施形態の変形例に係るコイルを一主面から見た平面図である。
図9は、本実施形態の変形例に係る積層コイル部品の構成を示す分解図である。
図10は、本実施形態の別の変形例に係る積層コイル部品の構成を示す分解図である。
【発明を実施するための形態】
(【0011】以降は省略されています)
この特許をJ-PlatPat(特許庁公式サイト)で参照する
関連特許
TDK株式会社
圧電素子
2か月前
TDK株式会社
フィルタ
2か月前
TDK株式会社
接合構造
10日前
TDK株式会社
電子部品
1か月前
TDK株式会社
電子部品
1か月前
TDK株式会社
電子部品
18日前
TDK株式会社
電子部品
1か月前
TDK株式会社
電子部品
2か月前
TDK株式会社
電子部品
5日前
TDK株式会社
熱処理容器
1か月前
TDK株式会社
コイル部品
1か月前
TDK株式会社
コイル部品
1か月前
TDK株式会社
コイル部品
2か月前
TDK株式会社
コイル装置
1か月前
TDK株式会社
コイル装置
1か月前
TDK株式会社
コイル装置
1か月前
TDK株式会社
コイル装置
1か月前
TDK株式会社
磁気センサ
2か月前
TDK株式会社
電子デバイス
1か月前
TDK株式会社
電子デバイス
1か月前
TDK株式会社
電力変換装置
18日前
TDK株式会社
積層コイル部品
1か月前
TDK株式会社
積層型電子部品
2か月前
TDK株式会社
積層コイル部品
2か月前
TDK株式会社
フェライト焼結磁石
1か月前
TDK株式会社
アンテナモジュール
1か月前
TDK株式会社
コモンモードフィルタ
11日前
TDK株式会社
配線体、及び表示装置
1か月前
TDK株式会社
圧力センサ用金属部材
1か月前
TDK株式会社
メタサーフェスレンズ
1か月前
TDK株式会社
配線体、及び表示装置
1か月前
TDK株式会社
配線体、及び表示装置
1か月前
TDK株式会社
積層セラミック電子部品
1か月前
TDK株式会社
積層セラミック電子部品
1か月前
TDK株式会社
磁気センサおよびその製造方法
18日前
TDK株式会社
入力装置及び入力装置の制御方法
24日前
続きを見る
他の特許を見る