TOP
|
特許
|
意匠
|
商標
特許ウォッチ
Twitter
他の特許を見る
10個以上の画像は省略されています。
公開番号
2025155835
公報種別
公開特許公報(A)
公開日
2025-10-14
出願番号
2025009382
出願日
2025-01-22
発明の名称
電子部品
出願人
TDK株式会社
代理人
前田・鈴木国際特許弁理士法人
主分類
H01G
4/30 20060101AFI20251002BHJP(基本的電気素子)
要約
【課題】高温多湿環境においてクラックの発生を抑制することができる電子部品を提供することを目的とする。
【解決手段】セラミック層と内部電極層とが積層された素子本体を有する電子部品であって、セラミック層の主成分がCaおよび/またはSrと、Zrと、を含み、素子本体は、セラミック層と内部電極層との積層界面に沿ってMnが層状に局在している局在層を有する。
【選択図】図2
特許請求の範囲
【請求項1】
セラミック層と内部電極層とが積層された素子本体を有する電子部品であって、
前記セラミック層の主成分がCaおよび/またはSrと、Zrと、を含み、
前記素子本体は、前記セラミック層と前記内部電極層との積層界面に沿ってMnが層状に局在している局在層を有する電子部品。
続きを表示(約 1,500 文字)
【請求項2】
LMn、CMnおよびIMnは、CMn<LMnおよびIMn<LMnを満たし、
前記LMnは、前記局在層におけるAl、Si、Ca、Ti、Mn、Ni、SrおよびZrの酸化物換算での合計を100モル部としたときのMnの酸化物換算での含有比であり、
前記CMnは、前記セラミック層におけるAl、Si、Ca、Ti、Mn、Ni、SrおよびZrの酸化物換算での合計を100モル部としたときのMnの酸化物換算での含有比であり、
前記IMnは、前記内部電極層におけるAl、Si、Ca、Ti、Mn、Ni、SrおよびZrの酸化物換算での合計を100モル部としたときのMnの酸化物換算での含有比である請求項1に記載の電子部品。
【請求項3】
前記局在層におけるAl、Mg、SiおよびMnの酸化物換算での含有比を比較したとき、Mnが最も含有比が高い請求項1に記載の電子部品。
【請求項4】
LMnが0.5モル部以上12.0モル部以下であり、
前記LMnは、前記局在層におけるAl、Si、Ca、Ti、Mn、Ni、SrおよびZrの酸化物換算での合計を100モル部としたときのMnの酸化物換算での含有比である請求項1に記載の電子部品。
【請求項5】
LMn/CMnが1.25以上15.0以下であり、
前記LMnは、前記局在層におけるAl、Si、Ca、Ti、Mn、Ni、SrおよびZrの酸化物換算での合計を100モル部としたときのMnの酸化物換算での含有比であり、
前記CMnは、前記セラミック層におけるAl、Si、Ca、Ti、Mn、Ni、SrおよびZrの酸化物換算での合計を100モル部としたときのMnの酸化物換算での含有比である請求項1に記載の電子部品。
【請求項6】
前記局在層の厚みは0.1nm~14nmである請求項1に記載の電子部品。
【請求項7】
局在層被覆率は80%以上であり、
前記局在層被覆率は、前記素子本体の積層方向に平行な断面の所定視野において、互いに接する一組の前記内部電極層と前記局在層とを観察したときに、前記積層界面に沿う前記内部電極層の合計長さに対して、前記局在層が前記積層界面に沿って前記内部電極層に接している合計長さの比率である請求項1に記載の電子部品。
【請求項8】
内部電極層被覆率は90%以上であり、
前記内部電極層被覆率は、前記素子本体の積層方向に平行な断面の所定視野において、互いに接する一組の前記セラミック層と前記内部電極層とを観察したときに、前記積層界面に沿う前記セラミック層の合計長さに対して、前記積層界面に沿う前記内部電極層の合計長さの比率である請求項1に記載の電子部品。
【請求項9】
前記内部電極層に含まれる導電材の主成分はNiおよび/またはNi系合金である請求項1に記載の電子部品。
【請求項10】
前記セラミック層は、主成分が一般式ABO
3
で表されるペロブスカイト型化合物を含み、
前記ペロブスカイト型化合物は、組成式(Ca
1-x
Sr
x
)
m
(Zr
1-y-z
Ti
y
Hf
z
)O
3
で表すことができる化合物であり、
前記mは0.9~1.1の範囲であり、
前記xは0≦x≦1を満たし、
前記yおよび前記zは0.80≦1-y-z≦1.0を満たす請求項1~9のいずれかに記載の電子部品。
発明の詳細な説明
【技術分野】
【0001】
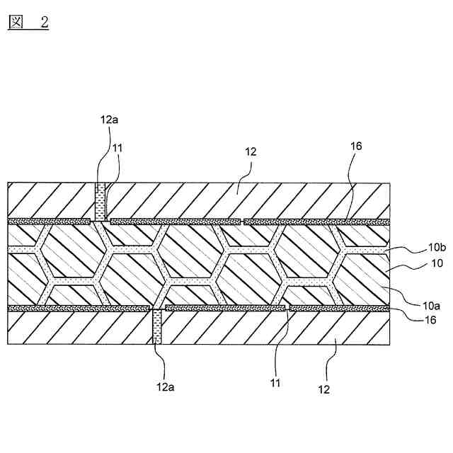
本発明は、セラミック層と内部電極層とを有する電子部品に関する。
続きを表示(約 1,200 文字)
【背景技術】
【0002】
誘電体組成物からなるセラミック層と内部電極層とを交互に積層した積層セラミック電子部品が知られている。この積層セラミック電子部品では、セラミック層と内部電極層との間で収縮率や線膨張係数などの特性に差がある。このため、セラミック層と内部電極層との界面では、この特性の違いに起因して、クラックなどの構造欠陥が生じ易く、高温多湿環境下では、特にその傾向が顕著となる。
【0003】
これに対して、たとえば特許文献1では、内部電極と誘電体層との界面に二次相物質を形成することで、焼成後のクラック発生個数を軽減させる方法が開示されているものの、高温多湿環境下における研究はなされていない。
【先行技術文献】
【特許文献】
【0004】
特開2014-123698号公報
【発明の概要】
【発明が解決しようとする課題】
【0005】
本発明は、上記実情に鑑みてなされ、高温多湿環境においてクラックの発生を抑制することができる電子部品を提供することを目的とする。
【課題を解決するための手段】
【0006】
上記の目的を達成するために、本発明に係る電子部品は、
セラミック層と内部電極層とが積層された素子本体を有する電子部品であって、
前記セラミック層の主成分がCaおよび/またはSrと、Zrと、を含み、
前記素子本体は、前記セラミック層と前記内部電極層との積層界面に沿ってMnが層状に局在している局在層を有する。
【0007】
本発明の電子部品は素子本体が所定の局在層を有していることから、高温多湿環境下において、クラックの発生を抑制することができる。
【0008】
好ましくは、LMn、CMnおよびIMnは、CMn<LMnおよびIMn<LMnを満たし、
前記LMnは、前記局在層におけるAl、Si、Ca、Ti、Mn、Ni、SrおよびZrの酸化物換算での合計を100モル部としたときのMnの酸化物換算での含有比であり、
前記CMnは、前記セラミック層におけるAl、Si、Ca、Ti、Mn、Ni、SrおよびZrの酸化物換算での合計を100モル部としたときのMnの酸化物換算での含有比であり、
前記IMnは、前記内部電極層におけるAl、Si、Ca、Ti、Mn、Ni、SrおよびZrの酸化物換算での合計を100モル部としたときのMnの酸化物換算での含有比である。
【0009】
これにより、高温多湿環境下において、クラックの発生をより抑制することができる。
【0010】
好ましくは、前記局在層におけるAl、Mg、SiおよびMnの酸化物換算での含有比を比較したとき、Mnが最も含有比が高い。
(【0011】以降は省略されています)
この特許をJ-PlatPat(特許庁公式サイト)で参照する
関連特許
TDK株式会社
電子部品
6日前
TDK株式会社
電力変換装置
6日前
TDK株式会社
アンテナモジュール
27日前
TDK株式会社
磁気センサおよびその製造方法
6日前
TDK株式会社
入力装置及び入力装置の制御方法
12日前
TDK株式会社
軟磁性粉末、磁性体コア、および磁性部品
19日前
TDK株式会社
磁性シート及びこれを備えるコイルモジュール
19日前
TDK株式会社
軟磁性合金粒子、軟磁性粉末、圧粉磁芯および電子部品
19日前
TDK株式会社
固体電解コンデンサ及び固体電解コンデンサの製造方法
28日前
TDK株式会社
コイル部品
12日前
TDK株式会社
物理レザバー素子及び物理レザバー
29日前
APB株式会社
蓄電セル
1か月前
東ソー株式会社
絶縁電線
1か月前
ローム株式会社
半導体装置
1か月前
株式会社東芝
端子台
27日前
マクセル株式会社
電源装置
27日前
株式会社GSユアサ
蓄電装置
28日前
三菱電機株式会社
回路遮断器
14日前
株式会社GSユアサ
蓄電装置
20日前
株式会社GSユアサ
蓄電装置
6日前
株式会社ホロン
冷陰極電子源
1か月前
株式会社GSユアサ
蓄電装置
28日前
富士電機株式会社
電磁接触器
6日前
トヨタ自動車株式会社
冷却構造
1か月前
日新イオン機器株式会社
基板処理装置
1か月前
日本特殊陶業株式会社
保持装置
1か月前
日本特殊陶業株式会社
保持装置
19日前
北道電設株式会社
配電具カバー
1か月前
ホシデン株式会社
複合コネクタ
今日
トヨタ自動車株式会社
蓄電装置
28日前
トヨタ自動車株式会社
バッテリ
1か月前
トヨタ自動車株式会社
電池パック
1か月前
ローム株式会社
半導体装置
1か月前
日本無線株式会社
レーダアンテナ
21日前
住友電装株式会社
コネクタ
6日前
トヨタ自動車株式会社
密閉型電池
29日前
続きを見る
他の特許を見る