TOP
|
特許
|
意匠
|
商標
特許ウォッチ
Twitter
他の特許を見る
10個以上の画像は省略されています。
公開番号
2025170075
公報種別
公開特許公報(A)
公開日
2025-11-14
出願番号
2025149761,2021172991
出願日
2025-09-10,2021-10-22
発明の名称
コイル部品
出願人
TDK株式会社
代理人
個人
,
個人
主分類
H01F
17/04 20060101AFI20251107BHJP(基本的電気素子)
要約
【課題】コイル部が磁性素体に埋め込まれた構造を有するコイル部品において磁性素体に生じるボイドを防止する。
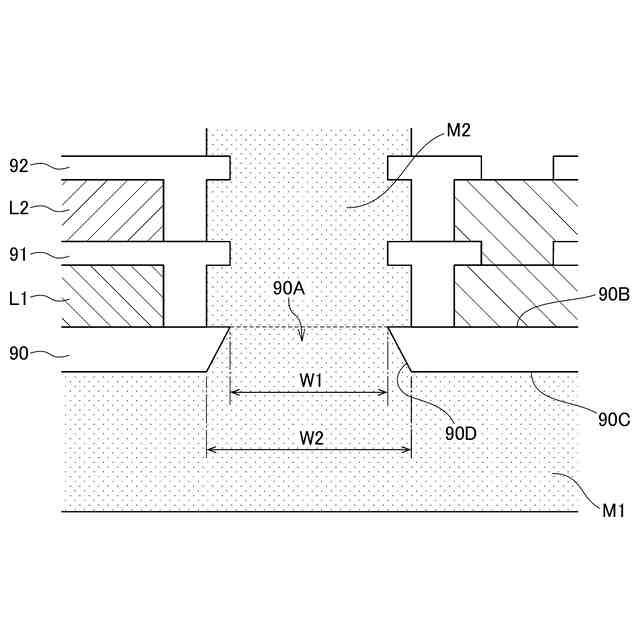
【解決手段】コイル部品1は、コイル部2と、コイル部2をコイル軸方向から覆う磁性体層M1と、コイル部2の内径領域に位置する磁性体層M2とを備える。磁性体層M1と磁性体層M2は、コイル部2に含まれる層間絶縁膜90に設けられた開口部90Aを介して接触する。開口部90Aは、磁性体層M1と磁性体層M2の界面から離れるにつれて径が拡大する形状を有している。これにより、開口部90Aに埋め込まれる磁性体層M1にボイドが生じにくくなる。
【選択図】図2
特許請求の範囲
【請求項1】
それぞれコイルパターンを有する複数の導体層が複数の層間絶縁膜を介してコイル軸方向に積層された構造を有するコイル部と、
前記コイル部を前記コイル軸方向から覆う第1の磁性体層と、
前記コイル部の内径領域に位置する第2の磁性体層と、を備え、
前記複数の層間絶縁膜は、前記第1の磁性体層に最も近い第1の層間絶縁膜と、前記第1の層間絶縁膜とは異なる複数の第2の層間絶縁膜とを含み、
前記第1の磁性体層と前記第2の磁性体層は、前記第1の層間絶縁膜に設けられた開口部を介して接触し、
前記開口部は、前記第1の磁性体層と前記第2の磁性体層の界面から離れるにつれて径が拡大する形状を有し、
前記第1の層間絶縁膜の膜厚は、前記第2の層間絶縁膜の膜厚よりも厚く、
前記第1の層間絶縁膜に含まれるフィラーの平均粒径は、前記第2の層間絶縁膜に含まれるフィラーの平均粒径よりも小さいことを特徴とするコイル部品。
続きを表示(約 840 文字)
【請求項2】
第1及び第2の端子電極をさらに備え、
前記複数の導体層は、前記第1の磁性体層に最も近い第1の導体層を含み、
前記第1の導体層は、前記第1の端子電極に接続された導体パターンと前記第2の端子電極に接続された導体パターンを含むことを特徴とする請求項1に記載のコイル部品。
【請求項3】
前記開口部の前記界面における径は、前記第2の磁性体層の径よりも大きいことを特徴とする請求項1又は2に記載のコイル部品。
【請求項4】
複数の層間絶縁膜と複数の導体層がコイル軸方向に交互に積層された構造を有するコイル部と、
前記コイル部を前記コイル軸方向から覆う第1の磁性体層と、
前記コイル部の内径領域に位置する第2の磁性体層と、を備え、
前記複数の層間絶縁膜は、前記第1の磁性体層に最も近い第1の層間絶縁膜と、前記第1の層間絶縁膜とは異なる複数の第2の層間絶縁膜とを含み、
前記第1の層間絶縁膜の膜厚は、前記第2の層間絶縁膜の膜厚よりも厚く、
前記第1の磁性体層と前記第2の磁性体層は、前記第1の層間絶縁膜に設けられた開口部を介して接触し、
前記開口部は、前記第1の磁性体層と前記第2の磁性体層の界面から離れるにつれて径が拡大する形状を有し、
前記複数の導体層は、前記第1の磁性体層に最も近い第1の導体層を含み、
前記第1の導体層は、1次側に属するコイルパターンと、2次側に属する端子パターンと含むことを特徴とするコイル部品。
【請求項5】
前記第1の層間絶縁膜に含まれるフィラーの平均粒径は、前記第2の層間絶縁膜に含まれるフィラーの平均粒径よりも小さいことを特徴とする請求項4に記載のコイル部品。
【請求項6】
前記開口部の前記界面における径は、前記第2の磁性体層の径よりも大きいことを特徴とする請求項4又は5に記載のコイル部品。
発明の詳細な説明
【技術分野】
【0001】
本発明はコイル部品及びその製造方法に関し、特に、コイル部が磁性素体に埋め込まれた構造を有するコイル部品及びその製造方法に関する。
続きを表示(約 1,300 文字)
【背景技術】
【0002】
特許文献1には、コイル部が磁性素体に埋め込まれた構造を有するコイル部品が開示されている。
【先行技術文献】
【特許文献】
【0003】
特開2017-11185号公報
【発明の概要】
【発明が解決しようとする課題】
【0004】
しかしながら、特許文献1に開示された構造では、磁性素体のうち、コイル部をコイル軸方向から覆う第1の磁性体層とコイル部の内径領域に埋め込まれる第2の磁性体層の界面にボイドが生じやすいという問題があった。このような問題は、磁性素体のうち、コイル部をコイル軸方向から覆う第1の磁性体層とコイル部の内径領域に埋め込まれる第2の磁性体層を別の工程で形成する場合には特に顕著となる。
【0005】
したがって、本発明は、コイル部が磁性素体に埋め込まれた構造を有するコイル部品において、磁性素体に生じるボイドを防止することを目的とする。
【課題を解決するための手段】
【0006】
本発明によるコイル部品は、それぞれコイルパターンを有する複数の導体層が複数の層間絶縁膜を介してコイル軸方向に積層された構造を有するコイル部と、コイル部をコイル軸方向から覆う第1の磁性体層と、コイル部の内径領域に位置する第2の磁性体層とを備え、複数の層間絶縁膜は、第1の磁性体層に最も近い第1の層間絶縁膜を含み、第1の磁性体層と第2の磁性体層は、第1の層間絶縁膜に設けられた開口部を介して接触し、開口部は、第1の磁性体層と第2の磁性体層の界面から離れるにつれて径が拡大する形状を有していることを特徴とする。
【0007】
本発明によれば、開口部に埋め込まれる第1の磁性体層にボイドが生じにくくなるとともに、磁束が通過しやすくなることからインダクタンスも高められる。
【0008】
本発明において、複数の層間絶縁膜は、第1の層間絶縁膜とは異なる複数の第2の層間絶縁膜をさらに含み、第1の層間絶縁膜の膜厚は、第2の層間絶縁膜の膜厚よりも厚くても構わない。第1の層間絶縁膜の膜厚が厚いと開口部にボイドが生じやすいが、このような場合であってもボイドの発生を防止することが可能となる。
【0009】
本発明によるコイル部品は、第1及び第2の端子電極をさらに備え、複数の導体層は、第1の磁性体層に最も近い第1の導体層を含み、第1の導体層は、第1の端子電極に接続された導体パターンと第2の端子電極に接続された導体パターンを含んでいても構わない。第1の導体層に異電位が与えられる導体パターンが混在している場合、第1の磁性体層を介したショート不良が生じるおそれがあるが、第1の層間絶縁膜の膜厚を十分に確保することにより、このようなショート不良を防止することが可能となる。
【0010】
本発明において、第1の層間絶縁膜に含まれるフィラーの平均粒径は、第2の層間絶縁膜に含まれるフィラーの平均粒径よりも小さくても構わない。これによれば、開口部の断面がより平坦となることから、ボイドがより発生しにくくなる。
(【0011】以降は省略されています)
この特許をJ-PlatPat(特許庁公式サイト)で参照する
関連特許
TDK株式会社
電子部品
15日前
TDK株式会社
接合構造
7日前
TDK株式会社
電子部品
2日前
TDK株式会社
電力変換装置
15日前
TDK株式会社
アンテナモジュール
1か月前
TDK株式会社
コモンモードフィルタ
8日前
TDK株式会社
磁気センサおよびその製造方法
15日前
TDK株式会社
入力装置及び入力装置の制御方法
21日前
TDK株式会社
物理レザバー素子及び物理レザバー
1か月前
TDK株式会社
磁気センサおよび磁気センサの製造方法
7日前
TDK株式会社
軟磁性粉末、磁性体コア、および磁性部品
28日前
TDK株式会社
磁性シート及びこれを備えるコイルモジュール
28日前
TDK株式会社
軟磁性合金粒子、軟磁性粉末、圧粉磁芯および電子部品
28日前
TDK株式会社
固体電解コンデンサ及び固体電解コンデンサの製造方法
1か月前
TDK株式会社
接合構造
今日
TDK株式会社
コイル部品
21日前
TDK株式会社
磁気センサ、磁場検出装置、位置検出装置、レンズモジュール、および撮像装置
1か月前
TDK株式会社
物理レザバー素子及び物理レザバー
1か月前
TDK株式会社
磁気センサ、磁場検出装置、位置検出装置、レンズモジュール、撮像装置、および磁気センサの製造方法
1か月前
TDK株式会社
光合波器、光合波部材、光変調機能付き光合波部材、可視光光源モジュール、光学エンジン及びXRグラス
1か月前
TDK株式会社
光変調器、光源モジュール、光学エンジン、XRグラス、光通信用送信装置で、光通信システム、光変調器の制御方法
1か月前
TDK株式会社
光変調器、光源モジュール、光学エンジン、画像表示装置、XRグラス、光通信用送信装置、光通信システム、光変調器の制御方法
1か月前
株式会社プロテリアル
フェライト磁心、並びにそれを用いたコイル部品及び電子部品
1か月前
APB株式会社
蓄電セル
1か月前
東ソー株式会社
絶縁電線
1か月前
日機装株式会社
加圧装置
今日
株式会社東芝
端子台
1か月前
日新イオン機器株式会社
イオン源
今日
マクセル株式会社
電源装置
1か月前
ローム株式会社
半導体装置
1か月前
三菱電機株式会社
回路遮断器
23日前
富士電機株式会社
電磁接触器
15日前
株式会社GSユアサ
蓄電装置
1か月前
株式会社GSユアサ
蓄電装置
1か月前
株式会社GSユアサ
蓄電装置
29日前
株式会社GSユアサ
蓄電装置
15日前
続きを見る
他の特許を見る